TOP
|
特許
|
意匠
|
商標
特許ウォッチ
Twitter
他の特許を見る
公開番号
2025178363
公報種別
公開特許公報(A)
公開日
2025-12-05
出願番号
2025157445,2022014673
出願日
2025-09-22,2022-02-02
発明の名称
接合構造
出願人
TDK株式会社
代理人
個人
,
個人
,
個人
主分類
H01L
21/60 20060101AFI20251128BHJP(基本的電気素子)
要約
【課題】破断強度の高い接合構造を提供する。
【解決手段】接合構造100は、Snを含む第1の金属で構成される第1の層21と、Snと金属間化合物を形成する第2の金属で構成される第2の層22との間に、金属間化合物で構成されるIMC層20を備える。ここで、金属は金属結合をしているため一般的に延性を持っている柔らかい一方、金属間化合物は硬く脆い材料である。そのため、金属間化合物で構成されるIMC層20の平均厚みを0.1μm以上、0.5μm以下とする。このような薄いIMC層20を設けることで、金属間化合物により接合構造100を曲げづらく、金属間化合物を挟み込んだ金属によって破断が起き難くすることができる。
【選択図】図1
特許請求の範囲
【請求項1】
電子部品と配線基板とを接合した接合構造であって、
前記電子部品及び前記配線基板の一方側に設けられ、Snを含む第1の金属で構成される第1の層と、
前記電子部品及び前記配線基板の他方側に設けられ、Snと金属間化合物を形成する第2の金属で構成される第2の層と、
前記第1の層と前記第2の層との間の接合界面に設けられ、前記第1の金属と前記第2の金属との金属間化合物で構成される第3の層と、を備え、
前記第3の層の平均厚みが、0.1μm以上、0.5μm以下である、接合構造。
続きを表示(約 250 文字)
【請求項2】
前記第2の金属は、Au、Cu、Ni、Ag、Pdの何れかの金属、またはこれらの少なくとも二つから選択される合金である、請求項1に記載の接合構造。
【請求項3】
前記第2の金属は、少なくともAuを含む金属である、請求項2に記載の接合構造。
【請求項4】
前記第3の層は、AuSn
4
を含む、請求項1~3の何れか一項に記載の接合構造。
【請求項5】
前記電子部品はLEDである、請求項1~4の何れか一項に記載の接合構造。
発明の詳細な説明
【技術分野】
【0001】
本発明は、接合構造に関する。
続きを表示(約 1,400 文字)
【背景技術】
【0002】
近年、電子化が進み、それに伴い電子部品を基板に実装する技術の開発が進んでいる。例えば、これまで微細な電子部品の組立において、電子部品の端子に金を採用し、対向する配線基板側にはSnをメッキや薄膜成膜で施し、はんだ接合や拡散接合で接合を行っている。電子部品と配線基板をAuメッキとSnメッキで接合させる場合、接合界面には共晶反応によりAuとSnの金属間化合物が形成される傾向があった。例えば、特許文献1では、AuSn合金を含有する層を所定の範囲内の厚みとしている。
【先行技術文献】
【特許文献】
【0003】
特開2017-216308号公報
【発明の概要】
【発明が解決しようとする課題】
【0004】
ここで、金属間化合物は硬いため、接合構造に対して応力が作用しても、接合構造が曲がり難くなる半面、脆いために破断強度が低下するという問題がある。
【0005】
本発明は、破断強度の高い接合構造を提供することを目的とする。
【課題を解決するための手段】
【0006】
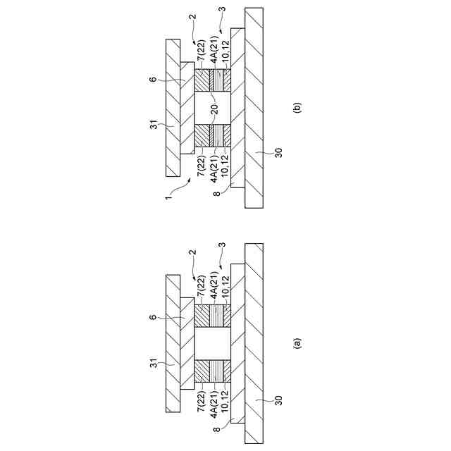
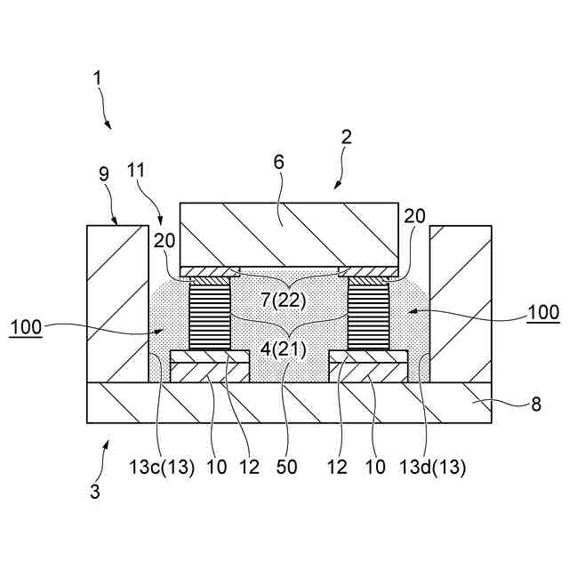
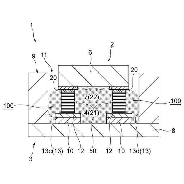
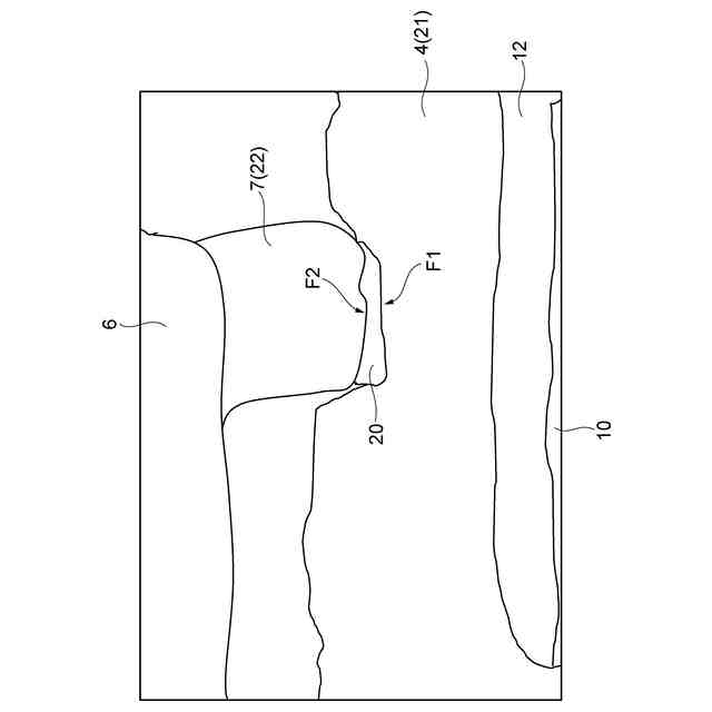
本発明に係る接合構造は、電子部品と配線基板とを接合した接合構造であって、電子部品及び配線基板の一方側に設けられ、Snを含む第1の金属で構成される第1の層と、電子部品及び配線基板の他方側に設けられ、Snと金属間化合物を形成する第2の金属で構成される第2の層と、第1の層と第2の層との間の接合界面に設けられ、第1の金属と第2の金属との金属間化合物で構成される第3の層と、を備え、第3の層の平均厚みが、0.1μm以上、0.5μm以下である。
【0007】
本発明に係る接合構造は、Snを含む第1の金属で構成される第1の層と、Snと金属間化合物を形成する第2の金属で構成される第2の層との間に、金属間化合物で構成される第3の層を備える。ここで、金属は金属結合をしているため一般的に延性を持っている柔らかい一方、金属間化合物は硬く脆い材料である。そのため、金属間化合物で構成される第3の層の平均厚みを0.1μm以上、0.5μm以下とする。このような薄い第3の層を設けることで、金属間化合物により接合構造を曲げづらく、金属間化合物を挟み込んだ金属によって破断が起き難くすることができる。以上より、破断強度が高く高信頼性な接合構造を得ることができる。
【0008】
第2の金属は、Au、Cu、Ni、Ag、Pdの何れかの金属、またはこれらの少なくとも二つから選択される合金である。この場合、第2の層が、Snとの間で金属間化合物を作りやすくなる。
【0009】
第2の金属は、少なくともAuを含む金属であってよい。金属の中でも特にヤング率の低い柔らかいAuの第2の層とSnの第1の層で薄い第3の層を挟み込むことにより、より破断強度が高くなる。
【0010】
第3の層は、AuSn
4
を含んでよい。金属間化合物がAuSn金属間化合物の中でも硬度が低く割れやすいAuSn
4
であったとしても、柔らかい金属と挟まれることで第3の層が曲がりにくく割れにくい接合構造となり、更に破断強度を高めることができる。
(【0011】以降は省略されています)
この特許をJ-PlatPat(特許庁公式サイト)で参照する
関連特許
TDK株式会社
センサ
2か月前
TDK株式会社
フィルタ
1か月前
TDK株式会社
電子部品
1か月前
TDK株式会社
フィルタ
2か月前
TDK株式会社
電子部品
2か月前
TDK株式会社
電子部品
1か月前
TDK株式会社
電子部品
1か月前
TDK株式会社
電子部品
2か月前
TDK株式会社
電子部品
2か月前
TDK株式会社
電子部品
1か月前
TDK株式会社
電子部品
15日前
TDK株式会社
圧電素子
1か月前
TDK株式会社
電子部品
1か月前
TDK株式会社
接合構造
7日前
TDK株式会社
電子部品
2か月前
TDK株式会社
電子部品
2日前
TDK株式会社
磁気センサ
1か月前
TDK株式会社
コイル装置
1か月前
TDK株式会社
ガスセンサ
2か月前
TDK株式会社
コイル部品
1か月前
TDK株式会社
コイル装置
1か月前
TDK株式会社
コイル装置
1か月前
TDK株式会社
コイル部品
1か月前
TDK株式会社
コイル装置
1か月前
TDK株式会社
コイル部品
2か月前
TDK株式会社
コイル部品
2か月前
TDK株式会社
センサ装置
2か月前
TDK株式会社
熱処理容器
1か月前
TDK株式会社
ガスセンサ
2か月前
TDK株式会社
コイル部品
2か月前
TDK株式会社
ガスセンサ
2か月前
TDK株式会社
圧力センサ
1か月前
TDK株式会社
コイル部品
2か月前
TDK株式会社
コイル装置
2か月前
TDK株式会社
コイル部品
1か月前
TDK株式会社
ガスセンサ
1か月前
続きを見る
他の特許を見る