TOP
|
特許
|
意匠
|
商標
特許ウォッチ
Twitter
他の特許を見る
10個以上の画像は省略されています。
公開番号
2025154660
公報種別
公開特許公報(A)
公開日
2025-10-10
出願番号
2024057777
出願日
2024-03-29
発明の名称
コイル装置
出願人
TDK株式会社
代理人
前田・鈴木国際特許弁理士法人
主分類
H01F
27/28 20060101AFI20251002BHJP(基本的電気素子)
要約
【課題】ワイヤの被覆部の損傷を防止できるコイル装置
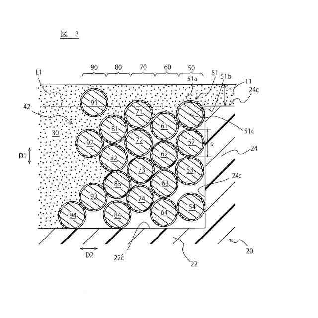
【解決手段】 磁性体を含有しており、板状部と、前記板状部から突出する突出部と、を有する第1磁性材料部分と、導体部と前記導体部を被覆する絶縁性の被覆部とを有し、前記突出部を巻回する巻層を形成する巻回部を有するワイヤと、磁性体と樹脂とを含有しており、少なくとも前記巻回部および前記第1磁性材料部分の前記突出部とを覆う第2磁性材料部分と、を有し、前記ワイヤの断面であるワイヤ断面が観察される所定の断面において、前記巻回部において前記突出部に直接巻かれる第1層に含まれる前記ワイヤ断面のうち最も前記板状部から離間する第1層最上段ワイヤ断面は、前記突出部の突出部先端に比べて、前記板状部から離間している部分を含み、かつ、前記第1層最上段ワイヤ断面は前記突出部に接しているコイル装置。
【選択図】図3
特許請求の範囲
【請求項1】
磁性体を含有しており、板状部と、前記板状部から突出する突出部と、を有する第1磁性材料部分と、
導体部と前記導体部を被覆する絶縁性の被覆部とを有し、前記突出部を巻回する巻層を形成する巻回部を有するワイヤと、
磁性体と樹脂とを含有しており、少なくとも前記巻回部および前記第1磁性材料部分の前記突出部を覆う第2磁性材料部分と、を有し、
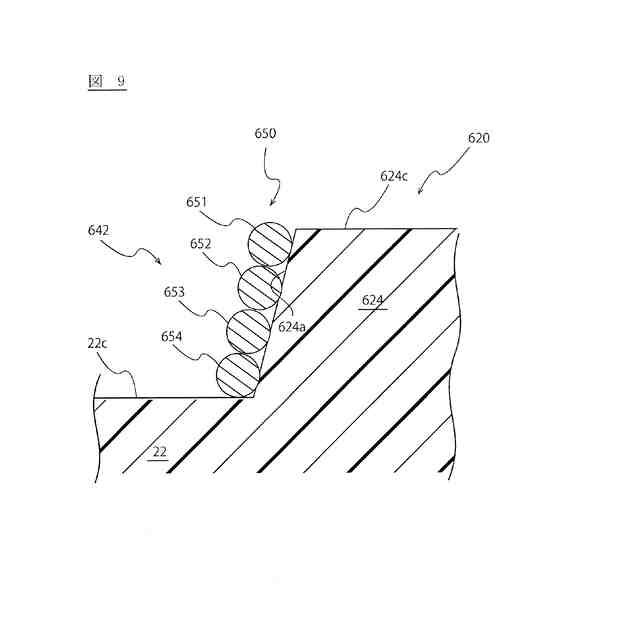
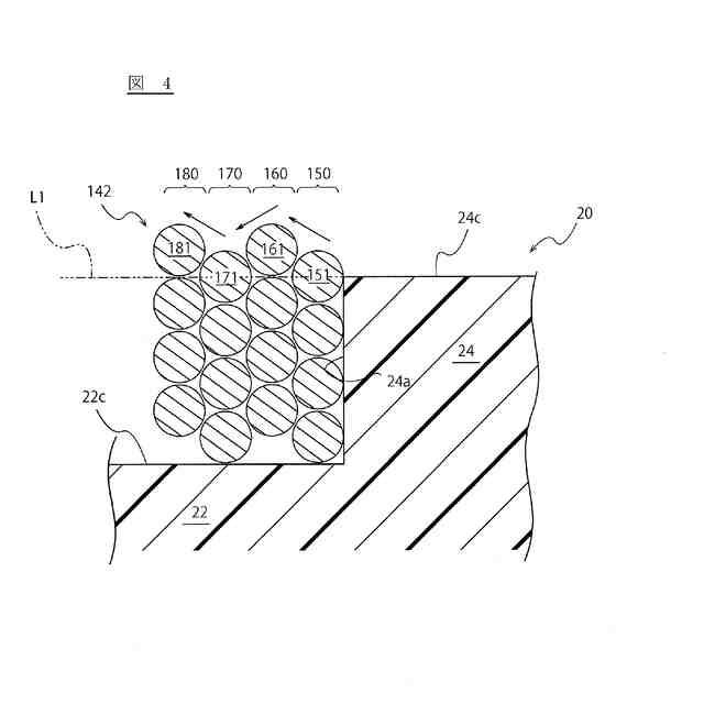
前記ワイヤの断面であるワイヤ断面が観察される前記巻回部の巻回軸を含む所定の断面において、前記巻回部において前記突出部に直接巻かれる第1層に含まれる前記ワイヤ断面のうち最も前記板状部から離間する第1層最上段ワイヤ断面は、前記突出部のうち前記板状部から最も離間する突出部先端に比べて、前記板状部から離間している部分を含み、かつ、前記第1層最上段ワイヤ断面における前記被覆部は前記突出部に接しているコイル装置。
続きを表示(約 580 文字)
【請求項2】
前記突出部先端は、前記第1層最上段ワイヤ断面の中心に比べて、前記板状部から離間している請求項1に記載のコイル装置。
【請求項3】
前記巻回部において前記第1層に重ねて前記突出部へ巻かれる第2層に含まれる前記ワイヤ断面のうち最も前記板状部から離間する第2層最上段ワイヤ断面は、前記第1層最上段ワイヤ断面に比べて、前記板状部に近い請求項1に記載のコイル装置。
【請求項4】
前記第1層最上段ワイヤ断面は、前記巻回部に含まれる全ての前記ワイヤ断面のうち、前記板状部から最も離間している請求項1に記載のコイル装置。
【請求項5】
前記第1層最上段ワイヤ断面は、前記第1層に含まれる前記ワイヤ断面のうち、前記巻回軸に最も近い請求項1に記載のコイル装置。
【請求項6】
前記突出部において前記巻回軸の回りを囲む突出部側面は、前記板状部から離間するにつれて前記巻回軸に近づくように傾斜しており、前記第1層に含まれる前記ワイヤ断面は、前記突出部側面の傾斜に沿って配置されている請求項1に記載のコイル装置。
【請求項7】
前記突出部先端を覆う前記第2磁性材料部分の前記板状部から離間する方向に沿う厚みは、前記ワイヤ断面の平均直径の2倍以下である請求項1に記載のコイル装置。
発明の詳細な説明
【技術分野】
【0001】
本発明は、インダクタ素子などとして用いられるコイル装置に関する。
続きを表示(約 1,400 文字)
【背景技術】
【0002】
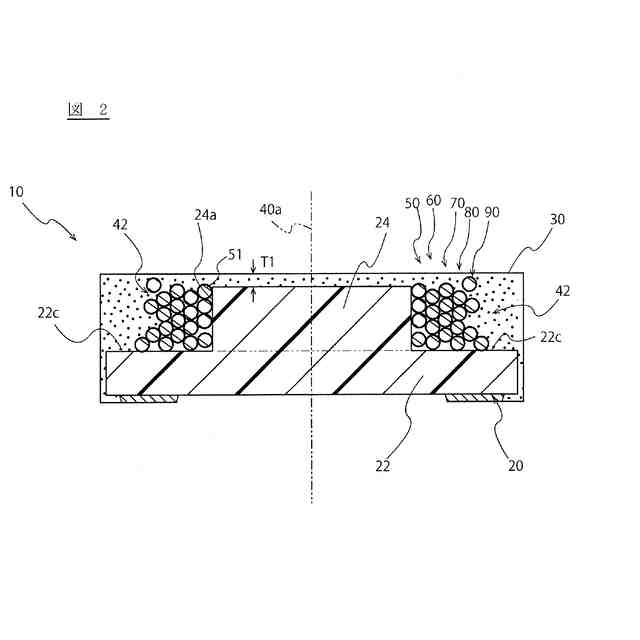
コイル装置として、樹脂および磁性体の含有比率が異なる2種類のコア部と巻回部とを組み合わせたものが提案されている。このようなコイル装置は、樹脂および磁性体の含有比率が異なる2種類のコア部を用いることにより、応力を緩和し、クラックの発生を防止することが可能である。
【0003】
このようなコイル装置では、巻回部を被覆するように磁性体が配置されており、インダクタンス向上の観点から有利である。しかしながら、このようなコイル装置では、2種類のコア部のうち樹脂の含有割合が多く流動性のあるコア部を構成する粒子が、製造工程における圧縮時等において巻回部の内部に移動する場合がある。このような粒子の移動時には、巻回部を構成するワイヤの絶縁被覆との摩擦が生じて、ワイヤの絶縁被覆に損傷を与える懸念がある。
【先行技術文献】
【特許文献】
【0004】
特開2017-199734号公報
特開2020-113742号公報
【発明の概要】
【発明が解決しようとする課題】
【0005】
本開示は、このような実状に鑑みてなされ、ワイヤの被覆部の損傷を防止するコイル装置を提供する。
【課題を解決するための手段】
【0006】
本開示に係るコイル装置は、
磁性体を含有しており、板状部と、前記板状部から突出する突出部と、を有する第1磁性材料部分と、
導体部と前記導体部を被覆する絶縁性の被覆部とを有し、前記突出部を巻回する巻層を形成する巻回部を有するワイヤと、
磁性体と樹脂とを含有しており、少なくとも前記巻回部および前記第1磁性材料部分の前記突出部を覆う第2磁性材料部分と、を有し、
前記ワイヤの断面であるワイヤ断面が観察される前記巻回部の巻回軸を含む所定の断面において、前記巻回部において前記突出部に直接巻かれる第1層に含まれる前記ワイヤ断面のうち最も前記板状部から離間する第1層最上段ワイヤ断面は、前記突出部のうち前記板状部から最も離間する突出部先端に比べて、前記板状部から離間している部分を含み、かつ、前記第1層最上段ワイヤ断面における前記被覆部は前記突出部に接している。
【0007】
本開示に係るコイル装置では、第1層最上段ワイヤ断面により、巻回部の内部へ第2磁性材料部分の粒子が入ることを防止し、ワイヤの損傷およびそれに伴うショート不良を好適に防止できる。
【0008】
また、たとえば、前記突出部先端は、前記第1層最上段ワイヤ断面の中心に比べて、前記板状部から離間していてもよい。
【0009】
第1層最上段ワイヤ断面をこのような位置に配置することにより、第1層最上段ワイヤ断面の位置が圧縮時等においてずれる問題を好適に防止できる。また、このようなコイル装置は、製造時において巻回部の形成が容易である。
【0010】
また、たとえば、前記巻回部において前記第1層に重ねて前記突出部へ巻かれる第2層に含まれる前記ワイヤ断面のうち最も前記板状部から離間する第2層最上段ワイヤ断面は、前記第1層最上段ワイヤ断面に比べて、前記板状部に近くてもよい。
(【0011】以降は省略されています)
この特許をJ-PlatPat(特許庁公式サイト)で参照する
関連特許
東ソー株式会社
絶縁電線
11日前
APB株式会社
蓄電セル
9日前
日新イオン機器株式会社
イオン源
19日前
株式会社東芝
端子台
3日前
ローム株式会社
半導体装置
10日前
マクセル株式会社
電源装置
3日前
株式会社GSユアサ
蓄電装置
4日前
株式会社GSユアサ
蓄電装置
4日前
株式会社ホロン
冷陰極電子源
17日前
株式会社GSユアサ
蓄電設備
23日前
太陽誘電株式会社
コイル部品
23日前
株式会社GSユアサ
蓄電設備
23日前
トヨタ自動車株式会社
冷却構造
11日前
日新イオン機器株式会社
基板処理装置
6日前
北道電設株式会社
配電具カバー
9日前
日本特殊陶業株式会社
保持装置
12日前
トヨタ自動車株式会社
蓄電装置
4日前
トヨタ自動車株式会社
バッテリ
9日前
日亜化学工業株式会社
半導体レーザ素子
6日前
トヨタ自動車株式会社
電池パック
16日前
ローム株式会社
半導体装置
11日前
トヨタ自動車株式会社
電池パック
16日前
株式会社トクヤマ
シリコンエッチング液
17日前
株式会社トクヤマ
シリコンエッチング液
17日前
株式会社デンソー
電子装置
6日前
住友電装株式会社
コネクタ
11日前
トヨタ自動車株式会社
密閉型電池
5日前
株式会社半導体エネルギー研究所
二次電池
16日前
エイブリック株式会社
半導体集積回路装置
19日前
太陽誘電株式会社
コイル部品
19日前
三協立山株式会社
バッテリーケース
10日前
マクセル株式会社
扁平形電池
10日前
株式会社村田製作所
二次電池
17日前
株式会社東芝
高周波回路
12日前
株式会社村田製作所
コイル部品
11日前
本田技研工業株式会社
二次電池
19日前
続きを見る
他の特許を見る