TOP
|
特許
|
意匠
|
商標
特許ウォッチ
Twitter
他の特許を見る
10個以上の画像は省略されています。
公開番号
2025138369
公報種別
公開特許公報(A)
公開日
2025-09-25
出願番号
2024037414
出願日
2024-03-11
発明の名称
コイル装置
出願人
TDK株式会社
代理人
前田・鈴木国際特許弁理士法人
主分類
H01F
27/29 20060101AFI20250917BHJP(基本的電気素子)
要約
【課題】樹脂スペーサなどを用いることなく、コイルを構成する導体間のショート不良を低減させることができるコイル装置を提供すること。
【解決手段】コア20の内部で、第2本体41は、第1本体31の内側に配置され、第1本体31に沿って延びており、第2導体40は、第2本体41に連続する第2実装部42を有し、第1導体30の第1実装部32と、第2導体40の第2実装部42とは、コア20の底面20a2,20b2に配置してあり、コア20の底面で、第2実装部42が第1実装部32とは異なる位置に引き出されるように、第2本体41と第2実装部42との間の第2引出部43が、引出方向を前記底面に沿って変化させる曲がり部43bを有する。
【選択図】図1
特許請求の範囲
【請求項1】
第1本体を持つ第1導体と、
前記第1本体の内側に配置され、少なくとも一部が前記第1本体に沿って延在する第2本体を持つ第2導体と、
前記第1本体と前記第2本体とが内部に配置されるコアと、を有するコイル装置であって、
前記コアの内部で、前記第2本体は、前記第1本体の内側に配置され、前記第1本体に沿って延びており、
前記第2導体は、前記第2本体に連続する第2実装部を有し、
前記第1導体の第1実装部と、前記第2導体の前記第2実装部とは、前記コアの底面に配置してあり、
前記コアの底面で、前記第2実装部が前記第1実装部とは異なる位置に引き出されるように、前記第2本体と前記第2実装部との間の第2引出部が、引出方向を前記底面に沿って変化させる曲がり部を有するコイル装置。
続きを表示(約 990 文字)
【請求項2】
前記第2引出部は、前記曲がり部と前記第2実装部とを連続させる中間部をさらに有し、
前記中間部は、前記曲がり部の外郭に連続する直線縁を有する請求項1に記載のコイル装置。
【請求項3】
前記第2引出部は、前記第2導体の両端に形成してある一対の第2引出部を有し、それぞれの前記第2引出部が、それぞれ前記直線縁を有し、これらの直線縁が、所定距離離れて平行に配置してあり、それぞれの第2実装部が、前コアの底面で相互に反対側に位置している請求項2に記載のコイル装置。
【請求項4】
前記コアは、第1コアと、前記第1コアに突き合わせられる第2コアとを有し、
前記第2実装部は、前記コアの底面において、前記第1実装部よりも、前記第1コアと前記第2コアとの突合せ方向に平行な第1軸に沿って外側に位置している請求項1に記載のコイル装置。
【請求項5】
前記第2実装部の導体幅は、前記第2引出部の導体幅よりも大きい請求項1に記載のコイル装置。
【請求項6】
前記第1実装部は、前記第1導体の両端に形成してある一対の第1実装部を有し、
前記第2実装部は、前記第2導体の両端に形成してある一対の第2実装部を有し、
前記コアの底面が、多角形を構成する少なくとも4つの外辺を有し、
一対の前記第1実装部が、4つの前記外辺の内の相互に反対側に位置する2つの前記外辺に向けて各々配置してあり、
一対の前記第2実装部が、前記第1実装部とは異なる相互に反対側に位置する前記外辺に向けて各々配置してある請求項1~5のいずれかに記載のコイル装置。
【請求項7】
前記第1導体および前記第2導体は、それぞれ1ターン以内の平板コイルの形状を有する請求項1~5のいずれかに記載のコイル装置。
【請求項8】
前記第2本体の幅は、前記第1本体の幅よりも狭い請求項1~5のいずれかに記載のコイル装置。
【請求項9】
前記コアの内面には、前記第2本体と前記第1本体の幅の相違に基づく段差部が具備してある請求項8に記載のコイル装置。
【請求項10】
前記第1本体の表面には絶縁層が具備してある請求項1~5のいずれかに記載のコイル装置。
発明の詳細な説明
【技術分野】
【0001】
本発明は、たとえばインダクタなどとして用いられるコイル装置に関する。
続きを表示(約 1,400 文字)
【背景技術】
【0002】
たとえば下記の特許文献1に示すコイル装置が提案されている。従来のコイル装置では、コイルの実装部の距離が短いためショート不良の可能性があり、対策としてコイル間に樹脂スペーサを介在させる構造が提案されている。
【先行技術文献】
【特許文献】
【0003】
特開2022-33703号公報
【発明の概要】
【発明が解決しようとする課題】
【0004】
本発明の目的は、樹脂スペーサなどを用いることなく、コイルを構成する導体間のショート不良を低減させることができるコイル装置を提供することである。
【課題を解決するための手段】
【0005】
上記目的を達成するために、本発明の一態様に係るコイル装置は、
第1本体を持つ第1導体と、
前記第1本体の内側に配置され、少なくとも一部が前記第1本体に沿って延在する第2本体を持つ第2導体と、
前記第1本体と前記第2本体とが内部に配置されるコアと、を有するコイル装置であって、
前記コアの内部で、前記第2本体は、前記第1本体の内側に配置され、前記第1本体に沿って延びており、
前記第2導体は、前記第2本体に連続する第2実装部を有し、
前記第1導体の第1実装部と、前記第2導体の前記第2実装部とは、前記コアの底面に配置してあり、
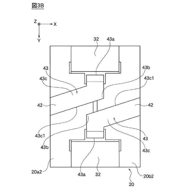
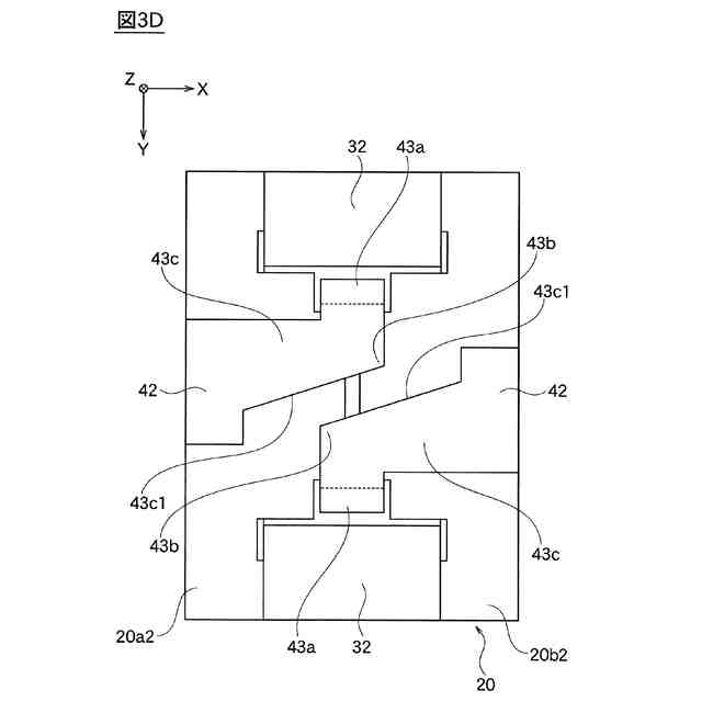
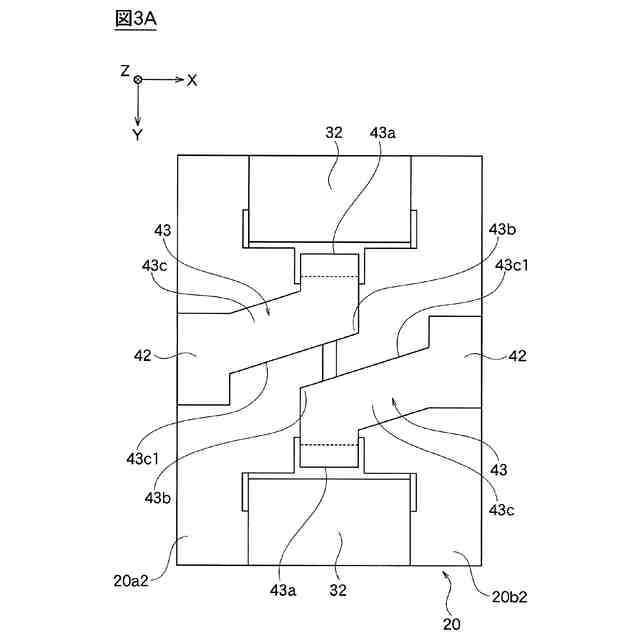
前記コアの底面で、前記第2実装部が前記第1実装部とは異なる位置に引き出されるように、前記第2本体と前記第2実装部との間の第2引出部が、引出方向を前記底面に沿って変化させる曲がり部を有する。
【0006】
このコイル装置では、コアの内部で、第2導体の第2本体は、第1導体の第1本体の内側に配置され、所定の間隔をあけて重ねて(二重に)配置されることになる。そのため、第1導体と第2導体の間で、磁束を効率よく伝達させることが可能であり、第1導体と第2導体の間の磁気結合を十分に大きくすることができる。
【0007】
また、このコイル装置では、第2引出部が、コアの底面内で引出方向を変化させる曲がり部を有する。このため、樹脂スペーサを用いることなく、第2導体の端部同士の短絡防止、第1導体と第2導体との短絡防止を有効に確保することができる。
【0008】
前記第2引出部は、前記曲がり部のみで構成してあってもよいが、前記曲がり部と前記第2実装部とを連続させる中間部をさらに有してもよい。前記中間部は、前記曲がり部の外郭に連続する直線縁を有することが好ましいが、曲線状の縁、ジグザグ状の縁、波形の縁であってもよい。
【0009】
好ましくは、前記第2引出部は、前記第2導体の両端に形成してある一対の第2引出部を有し、それぞれの前記第2引出部が、それぞれ前記直線縁を有し、これらの直線縁が、所定距離離れて平行に配置してあり、それぞれの第2実装部が、前コアの底面で相互に反対側に位置している。
【0010】
このように構成することで、一対の直線縁の間の絶縁距離を確保し易くなり、比較的小さな面積のコアの底面であっても、第2導体の両端に位置する第2引出部の相互間の絶縁を確保し易くなる。また、第2導体の両端に位置する第2実装部の間の絶縁も確保し易くなる。さらに、第1実装部と第2実装部との間の絶縁も確保し易くなる。
(【0011】以降は省略されています)
この特許をJ-PlatPat(特許庁公式サイト)で参照する
関連特許
TDK株式会社
熱処理容器
6日前
TDK株式会社
入力装置及び入力装置の制御方法
3日前
TDK株式会社
非可逆回路素子及び量子コンピュータ
3日前
TDK株式会社
振動デバイス
13日前
TDK株式会社
MEMSデバイス
10日前
TDK株式会社
磁気センサ、磁場検出装置、位置検出装置、レンズモジュール、および撮像装置
3日前
TDK株式会社
磁気センサ、磁場検出装置、位置検出装置、レンズモジュール、撮像装置、および磁気センサの製造方法
3日前
TDK株式会社
光合波器、光合波部材、光変調機能付き光合波部材、可視光光源モジュール、光学エンジン及びXRグラス
3日前
TDK株式会社
光変調器、光源モジュール、光学エンジン、XRグラス、光通信用送信装置で、光通信システム、光変調器の制御方法
3日前
TDK株式会社
光変調器、光源モジュール、光学エンジン、画像表示装置、XRグラス、光通信用送信装置、光通信システム、光変調器の制御方法
3日前
APB株式会社
蓄電セル
3日前
東ソー株式会社
絶縁電線
5日前
個人
フレキシブル電気化学素子
17日前
ローム株式会社
半導体装置
4日前
ローム株式会社
半導体装置
24日前
株式会社ユーシン
操作装置
17日前
日新イオン機器株式会社
イオン源
13日前
ローム株式会社
半導体装置
19日前
太陽誘電株式会社
コイル部品
17日前
株式会社ホロン
冷陰極電子源
11日前
オムロン株式会社
電磁継電器
18日前
株式会社GSユアサ
蓄電設備
17日前
太陽誘電株式会社
全固体電池
24日前
株式会社GSユアサ
蓄電設備
17日前
日東電工株式会社
積層体
18日前
トヨタ自動車株式会社
冷却構造
5日前
トヨタ自動車株式会社
バッテリ
18日前
日本特殊陶業株式会社
保持装置
24日前
日本特殊陶業株式会社
保持装置
24日前
ノリタケ株式会社
熱伝導シート
17日前
北道電設株式会社
配電具カバー
3日前
日本特殊陶業株式会社
保持装置
6日前
トヨタ自動車株式会社
蓄電装置
17日前
サクサ株式会社
電池の固定構造
17日前
日新イオン機器株式会社
基板処理装置
今日
TDK株式会社
電子部品
24日前
続きを見る
他の特許を見る