TOP
|
特許
|
意匠
|
商標
特許ウォッチ
Twitter
他の特許を見る
公開番号
2025140417
公報種別
公開特許公報(A)
公開日
2025-09-29
出願番号
2024039816
出願日
2024-03-14
発明の名称
コイル部品
出願人
TDK株式会社
代理人
個人
,
個人
,
個人
主分類
H01F
17/04 20060101AFI20250919BHJP(基本的電気素子)
要約
【課題】一対の端子電極における短絡を抑制しつつ、コイル特性を確保できるコイル部品を提供する。
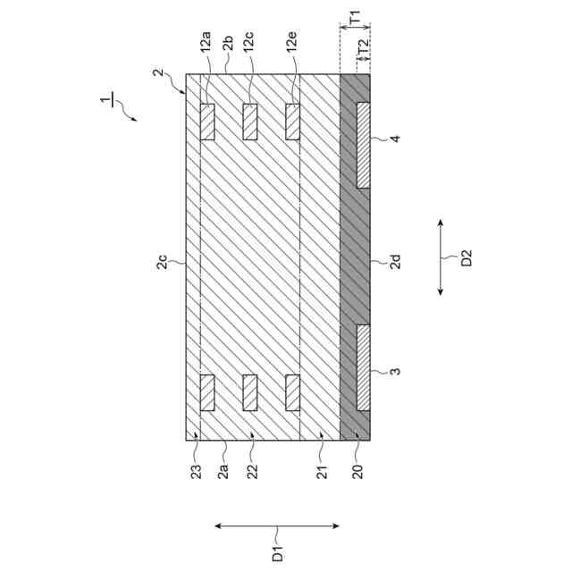
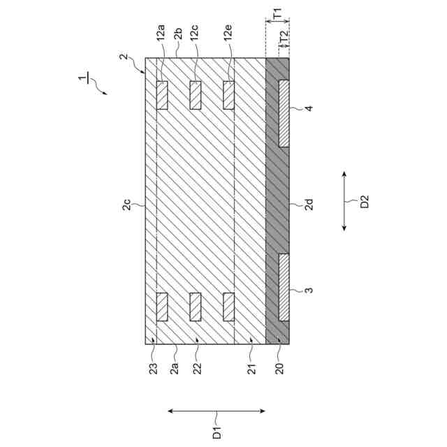
【解決手段】コイル部品1では、素体2は、主面2dを含むと共に第二方向D2における一対の端子電極3,4の間の領域を含む第一部分20と、第一部分20と最も主面2d側に位置するコイル導体層との第一方向D1における間の第二部分21と、最も主面2c側に位置するコイル導体層と最も主面2d側に位置するコイル導体層との第一方向D1における間の第三部分22であって、第一方向D1において対向するコイル導体層の間の領域を含まない第三部分22と、主面2cを含むと共に主面2cと第三部分22との第一方向D1における間の第四部分23と、を含み、第一部分20における金属磁性粒子の平均粒径は、第二部分21、第三部分22及び第四部分23のいずれかにおける金属磁性粒子の平均粒径よりも小さい。
【選択図】図4
特許請求の範囲
【請求項1】
軟磁性材料の金属磁性粒子を複数含んで形成されており、第一方向において互いに対向している実装面及び主面を有している素体と、
前記実装面に露出して位置しており、第二方向において対向して配置されている一対の端子電極と、
前記素体内に配置され、複数のコイル導体によって構成されているコイルと、を備え、
前記素体は、
前記実装面を含むと共に前記第二方向における一対の前記端子電極の間の領域を含む第一部分と、
前記第一部分と最も前記実装面側に位置する前記コイル導体との前記第一方向における間の第二部分と、
最も前記主面側に位置する前記コイル導体と最も前記実装面側に位置する前記コイル導体との前記第一方向における間の第三部分であって、前記第一方向において対向する前記コイル導体の間の領域を含まない当該第三部分と、
前記主面を含むと共に前記主面と前記第三部分との前記第一方向における間の第四部分と、を含み、
前記第一部分における前記金属磁性粒子の平均粒径は、前記第二部分、前記第三部分及び前記第四部分のいずれかにおける前記金属磁性粒子の平均粒径よりも小さい、コイル部品。
続きを表示(約 770 文字)
【請求項2】
一対の前記端子電極のそれぞれの少なくとも一部は、前記素体の内部に配置されている、請求項1に記載のコイル部品。
【請求項3】
前記第一方向における前記第一部分の第一寸法は、前記第一方向における前記端子電極の第二寸法よりも大きい、請求項1又は2に記載のコイル部品。
【請求項4】
前記第一寸法は、前記第二寸法の2倍以下である、請求項3に記載のコイル部品。
【請求項5】
前記第一部分は、前記第一方向において、一対の前記端子電極のそれぞれと前記コイルとの間に設けられている、請求項1又は2に記載のコイル部品。
【請求項6】
前記第一部分は、前記第一方向から見て、前記第二方向に直交する第三方向における前記端子電極の寸法以上の領域を含む、請求項1又は2に記載のコイル部品。
【請求項7】
前記第一部分は、前記第一方向から見て、前記第二方向における一対の前記端子電極の間の全ての前記領域を含む、請求項1又は2に記載のコイル部品。
【請求項8】
前記第一部分は、前記端子電極の周囲の領域を含む、請求項1又は2に記載のコイル部品。
【請求項9】
前記第一部分において、前記端子電極の周囲に位置する前記金属磁性粒子の一部は、前記端子電極に埋設されている、請求項1又は2に記載のコイル部品。
【請求項10】
前記第一部分において、前記金属磁性粒子は、楕円体状をなす通常粒子と、前記通常粒子よりも厚さ方向について扁平な楕円体状をなす扁平粒子と、を有し、
前記扁平粒子の一部は、当該扁平粒子の長手方向が前記端子電極の外面に交差するように、前記端子電極に埋設されている、請求項9に記載のコイル部品。
発明の詳細な説明
【技術分野】
【0001】
本発明は、コイル部品に関する。
続きを表示(約 1,600 文字)
【背景技術】
【0002】
コイル部品は、素体と、素体の内部に配置されているコイルと、素体の実装面に配置されており、コイルと接続されている一対の端子電極と、を備える(たとえば、特許文献1参照)。
【先行技術文献】
【特許文献】
【0003】
特開2020-141079号公報
【発明の概要】
【発明が解決しようとする課題】
【0004】
本発明の一側面は、一対の端子電極における短絡を抑制しつつ、コイル特性を確保できるコイル部品を提供することを目的とする。
【課題を解決するための手段】
【0005】
(1)本発明の一側面に係るコイル部品は、軟磁性材料の金属磁性粒子を複数含んで形成されており、第一方向において互いに対向している実装面及び主面を有している素体と、実装面に露出して位置しており、第二方向において対向して配置されている一対の端子電極と、素体内に配置され、複数のコイル導体によって構成されているコイルと、を備え、素体は、実装面を含むと共に第二方向における一対の端子電極の間の領域を含む第一部分と、第一部分と最も実装面側に位置するコイル導体との第一方向における間の第二部分と、最も主面側に位置するコイル導体と最も実装面側に位置するコイル導体との第一方向における間の第三部分であって、第一方向において対向するコイル導体の間の領域を含まない当該第三部分と、主面を含むと共に主面と第三部分との第一方向における間の第四部分と、を含み、第一部分における金属磁性粒子の平均粒径は、第二部分、第三部分及び第四部分のいずれかにおける金属磁性粒子の平均粒径よりも小さい。
【0006】
本発明の一側面に係るコイル部品では、第一部分における金属磁性粒子の平均粒径は、第二部分、第三部分及び第四部分のいずれかにおける金属磁性粒子の平均粒径よりも小さい。これにより、コイル部品では、一対の端子電極間に存在する金属磁性粒子の存在数を、他の部分に比べて増加させることができる。そのため、コイル部品では、一対の端子電極間に存在する金属磁性粒子の界面の数を十分に確保でき、一対の端子電極間の耐電圧を向上できる。よって、コイル部品では、一対の端子電極における短絡を抑制できる。
【0007】
コイル部品では、第二部分、第三部分及び第四部分のいずれかにおける金属磁性粒子の平均粒径は、第一部分における金属磁性粒子の平均粒径よりも大きい。これにより、コイル部品では、第二部分、第三部分及び第四部分において透磁率を確保できる。したがって、コイル部品では、インダクタンスを確保できるため、コイル特性を維持することができる。
【0008】
(2)上記(1)のコイル部品において、一対の端子電極のそれぞれの少なくとも一部は、素体の内部に配置されていてもよい。
【0009】
(3)上記(1)又は(2)のコイル部品において、第一方向における第一部分の第一寸法は、第一方向における端子電極の第二寸法よりも大きくてもよい。この構成では、素体の内部に配置されている一対の端子電極間に存在する金属磁性粒子の界面の数を十分に確保できる。そのため、コイル部品では、一対の端子電極が素体の内部に配置されている構成において、一対の端子電極間の耐電圧を向上できる。
【0010】
(4)上記(3)のコイル部品において、第一寸法は、第二寸法の2倍以下であってもよい。第一部分の第一寸法が第二寸法の2倍よりも大きくなると、素体の透磁率が低下し得る。コイル部品では、第一部分の第一寸法を第二寸法の2倍以下とすることにより、一対の端子電極における短絡を抑制しつつ、コイル特性を確保できる。
(【0011】以降は省略されています)
この特許をJ-PlatPat(特許庁公式サイト)で参照する
関連特許
日機装株式会社
加圧装置
3日前
日新イオン機器株式会社
イオン源
3日前
個人
電源ボックス及び電子機器
3日前
株式会社トクミ
ケーブル
4日前
株式会社東芝
電子源
3日前
トヨタ自動車株式会社
蓄電装置構造
4日前
三菱電機株式会社
半導体装置
3日前
日本航空電子工業株式会社
コネクタ
3日前
株式会社興電舎
励磁突入電流抑制方法
3日前
矢崎総業株式会社
コネクタ
4日前
矢崎総業株式会社
コネクタ
4日前
矢崎総業株式会社
接合装置
3日前
住友電気工業株式会社
半導体装置
4日前
新光電気工業株式会社
半導体装置
3日前
矢崎総業株式会社
ヒューズ接続端子
4日前
Astemo株式会社
電子制御装置
3日前
矢崎総業株式会社
電線固定構造
3日前
日本バイリーン株式会社
電気化学素子用セパレータ
4日前
矢崎総業株式会社
端子防水構造
4日前
矢崎総業株式会社
端子防水構造
4日前
矢崎総業株式会社
コネクタ
3日前
キヤノン電子管デバイス株式会社
電子管
4日前
矢崎総業株式会社
コネクタ嵌合体
4日前
矢崎総業株式会社
コネクタ構造
3日前
矢崎総業株式会社
端子付き電線
3日前
ソフトバンク株式会社
ベースプレート
3日前
富士電機株式会社
半導体装置
3日前
矢崎総業株式会社
端子間接続構造
3日前
TOTO株式会社
静電チャック
4日前
TOTO株式会社
静電チャック
3日前
TOTO株式会社
静電チャック
3日前
矢崎総業株式会社
端子間接続構造
3日前
TOTO株式会社
静電チャック
4日前
住友ベークライト株式会社
ペースト状接着剤組成物
3日前
株式会社ディスコ
処理装置
3日前
株式会社東芝
真空バルブ
4日前
続きを見る
他の特許を見る