TOP
|
特許
|
意匠
|
商標
特許ウォッチ
Twitter
他の特許を見る
公開番号
2025176971
公報種別
公開特許公報(A)
公開日
2025-12-05
出願番号
2024083408
出願日
2024-05-22
発明の名称
端子間接続構造
出願人
矢崎総業株式会社
代理人
弁理士法人栄光事務所
主分類
H01R
4/38 20060101AFI20251128BHJP(基本的電気素子)
要約
【課題】作業者の誤触を防ぎながら薄型化・小型化が可能な端子間接続構造の提供。
【解決手段】端子間接続構造3は、第1端子10を有する第1コネクタ1と、第1端子10に接続される第2端子30を有する第2コネクタ2と、第1端子10と第2端子30とを締結する締結具50とを備える。第1コネクタ1は、第1端子10が有する第1接点部11を露出させる第1開口部21と、第2コネクタ2に向けて突出する突起部25とを有する。第2コネクタ2は、第2端子30が有する第2接点部34と、第2端子30が有して突起部25を挿入可能な形状を有する被挿入部33と、を露出させる第2開口部41を有する。締結具50は、ボルト51と厚さ調整部52,53とを有し、第1コネクタ1と第2コネクタ2とが嵌合され、突起部25が被挿入部33に挿入され且つ第1接点部11と第2接点部34とが接触した状態にて、第1端子10と第2端子30を締結する。
【選択図】図6
特許請求の範囲
【請求項1】
第1端子を有する第1コネクタと、前記第1端子に電気的に接続される第2端子を有する第2コネクタと、前記第1端子と前記第2端子とを締結する締結具と、を備え、前記第1端子と前記第2端子とを電気的に接続する、端子間接続構造であって、
前記第1コネクタは、
前記第1端子が有する第1接点部を露出させる第1開口部と、前記第2コネクタに向けて突出する突起部と、を有し、
前記第2コネクタは、
前記第2端子が有する第2接点部と、前記第2端子が有し且つ前記突起部を挿入可能な形状を有する被挿入部と、を露出させる第2開口部を有し、
前記締結具は、
ボルトと、前記第1接点部と前記第2接点部との接触箇所と前記ボルトの座面部との間に挟まれる厚さ調整部と、を有し、前記第1コネクタと前記第2コネクタとが嵌合され、前記突起部が前記被挿入部に挿入され且つ前記第1接点部と前記第2接点部とが接触した状態にて、前記第1端子と前記第2端子を締結する、
端子間接続構造。
続きを表示(約 480 文字)
【請求項2】
請求項1に記載の端子間接続構造において、
前記第1開口部は、
前記第1接点部を取り囲んで前記第1コネクタと前記第2コネクタとの嵌合方向に延びる筒状壁を、有し、
前記筒状壁は、
当該筒状壁の延出端に前記突起部を有する、
端子間接続構造。
【請求項3】
請求項1に記載の端子間接続構造において、
前記厚さ調整部は、
前記座面部と別体又は一体の部材である、
端子間接続構造。
【請求項4】
請求項1に記載の端子間接続構造において、
前記第1端子は、
筒状の形状を有し、当該第1端子の筒端部が前記第1接点部であり、
前記第2端子は、
板状の形状を有し、当該第2端子の板面部が前記第2接点部であり、
前記締結具の前記ボルトは、
前記第2端子を貫通して前記第1端子の中空部に捩じ込まれることにより、前記第1接点部と前記第2接点部とが接触した状態にて前記第1端子と前記第2端子を締結する、
端子間接続構造。
発明の詳細な説明
【技術分野】
【0001】
本発明は、第1端子を有する第1コネクタと、第1端子に電気的に接続される第2端子を有する第2コネクタと、第1端子と第2端子とを締結する締結具と、を備える端子間接続構造に関する。
続きを表示(約 1,800 文字)
【背景技術】
【0002】
従来から、一対の端子をボルト等で締結して電気的に接続する接続構造が提案されている(例えば、特許文献1を参照。)。
【先行技術文献】
【特許文献】
【0003】
特開2021-089890号公報
【発明の概要】
【発明が解決しようとする課題】
【0004】
上述した従来の接続構造では、電圧が印加されている端子(いわゆる活電部)に作業者が誤って触れることを防ぐために、端子同士の間に筒状の中継金具を挟むことを、必須の構成としている。具体的には、従来の接続構造では、この中継金具が一対の端子の間に挟まれた状態で、一対の端子と中継金具とをボルト及びナットでひとまとめに締結することで、一対の端子を電気的に接続するようになっている。ところが、この中継端子を要することに起因し、従来の接続構造では、接続構造の薄型化や小型化が困難である。
【0005】
本発明の目的の一つは、作業者の誤触を防ぎながら薄型化や小型化が可能な端子間接続構造の提供である。
【課題を解決するための手段】
【0006】
前述した目的を達成するために、本発明に係る端子間接続構造は、下記を特徴としている。
【0007】
第1端子を有する第1コネクタと、前記第1端子に電気的に接続される第2端子を有する第2コネクタと、前記第1端子と前記第2端子とを締結する締結具と、を備え、前記第1端子と前記第2端子とを電気的に接続する、端子間接続構造であって、
前記第1コネクタは、
前記第1端子が有する第1接点部を露出させる第1開口部と、前記第2コネクタに向けて突出する突起部と、を有し、
前記第2コネクタは、
前記第2端子が有する第2接点部と、前記第2端子が有し且つ前記突起部を挿入可能な形状を有する被挿入部と、を露出させる第2開口部を有し、
前記締結具は、
ボルトと、前記第1接点部と前記第2接点部との接触箇所と前記ボルトの座面部との間に挟まれる厚さ調整部と、を有し、前記第1コネクタと前記第2コネクタとが嵌合され、前記突起部が前記被挿入部に挿入され且つ前記第1接点部と前記第2接点部とが接触した状態にて、前記第1端子と前記第2端子を締結する、
端子間接続構造であること。
【発明の効果】
【0008】
本発明の端子間接続構造によれば、第1コネクタと第2コネクタとが嵌合されたとき、第1コネクタの突起部が第2端子の被挿入部に挿入され、第1端子の第1接点部と第2端子の第2接点部とが接触した状態で、第1端子と第2端子とが締結具で締結されて電気的に接続される。即ち、従来の接続構造のように中継端子等を要することなく、第1端子と第2端子とが接続される。更に、ボルトの座面部と、第1接点部と第2接点部との接触箇所との間に、厚さ調整部が挟まれることで、例えば端子間接続構造に求められる仕様に応じて第1接点部又は第2接点部の厚さが異なっても、厚さ調整部で第1接点部又は第2接点部の厚さの相違を吸収することで、第1コネクタ又は第2コネクタの構造を共通化できる。更に、第1端子の第1接点部を第1開口部から露出させるように第1端子が第1コネクタに収容されることで、第1接点部以外の箇所に作業者が接触することを抑制できる。したがって、本構成の端子間接続構造は、作業者の誤触を防ぎながら薄型化・小型化が可能である。
【0009】
以上、本発明について簡潔に説明した。更に、以下に説明される発明を実施するための形態を添付の図面を参照して通読することにより、本発明の詳細は更に明確化されるであろう。
【図面の簡単な説明】
【0010】
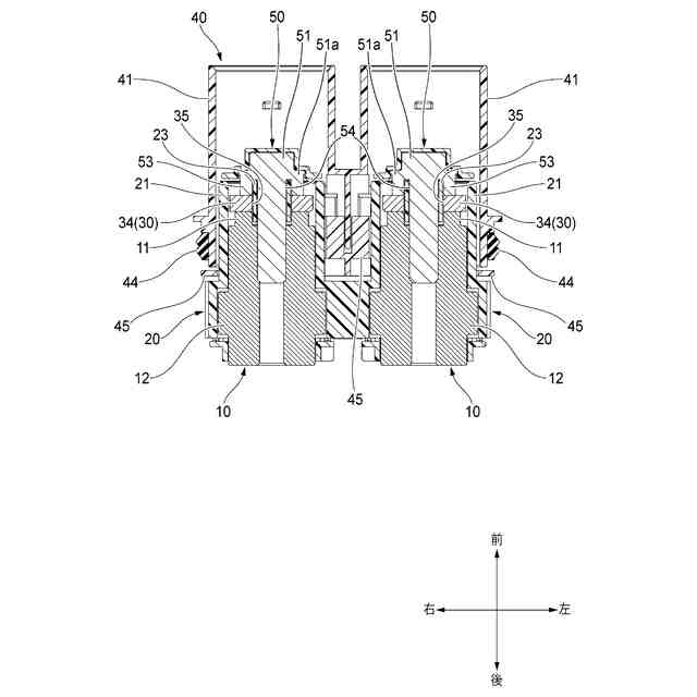
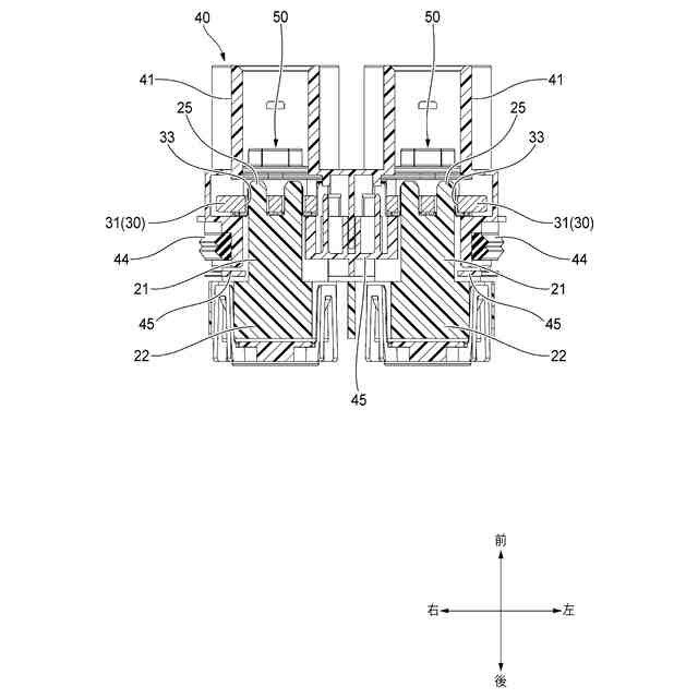
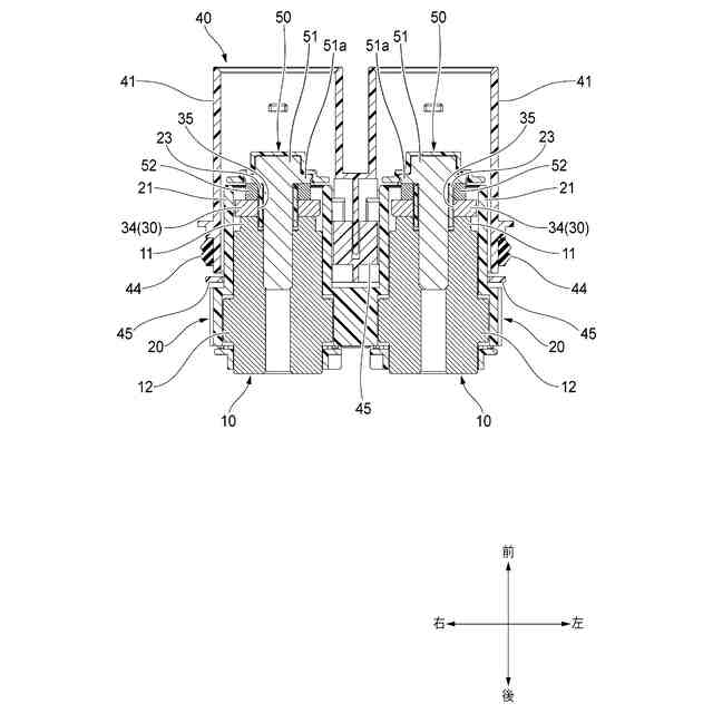
図1は、本発明の実施形態に係る端子間接続構造の斜視図である。
図2は、図1に示す端子間接続構造の分解斜視図である。
図3は、図2に示す第1コネクタを斜め下方からみた斜視図である。
図4は、図1に示す端子間接続構造の正面図である。
図5は、図4のA-A断面図である。
図6は、図4のB-B断面図である。
図7は、変形例における図6に対応する図である。
【発明を実施するための形態】
(【0011】以降は省略されています)
この特許をJ-PlatPat(特許庁公式サイト)で参照する
関連特許
矢崎総業株式会社
コネクタ
3日前
矢崎総業株式会社
接合装置
3日前
矢崎総業株式会社
コネクタ
3日前
矢崎総業株式会社
コネクタ
3日前
矢崎総業株式会社
電流センサ
4日前
矢崎総業株式会社
コネクタ構造
3日前
矢崎総業株式会社
電線固定構造
3日前
矢崎総業株式会社
抵抗溶接装置
3日前
矢崎総業株式会社
抵抗溶接装置
3日前
矢崎総業株式会社
端子付き電線
3日前
矢崎総業株式会社
端子間接続構造
3日前
矢崎総業株式会社
センサ搭載構造
3日前
矢崎総業株式会社
センサ搭載構造
3日前
矢崎総業株式会社
端子間接続構造
3日前
矢崎総業株式会社
端子付き電線の製造方法
3日前
矢崎総業株式会社
端子付き電線、及び、端子
3日前
矢崎総業株式会社
コネクタ装置及びワイヤハーネス
3日前
矢崎総業株式会社
コネクタ装置及びワイヤハーネス
3日前
矢崎総業株式会社
熱可塑性ポリエステル樹脂の熱分解反応による劣化度の評価方法
3日前
矢崎総業株式会社
アルミニウム素材と銅素材の接合方法、及び、接合継手の製造方法
3日前
日機装株式会社
加圧装置
3日前
日新イオン機器株式会社
イオン源
3日前
株式会社トクミ
ケーブル
4日前
個人
電源ボックス及び電子機器
3日前
株式会社東芝
電子源
3日前
大電株式会社
電線又はケーブル
10日前
トヨタ自動車株式会社
蓄電装置構造
4日前
日本特殊陶業株式会社
アンテナ装置
5日前
日本特殊陶業株式会社
アンテナ装置
5日前
日本特殊陶業株式会社
アンテナ装置
5日前
三菱電機株式会社
半導体装置
3日前
日本航空電子工業株式会社
コネクタ
3日前
TDK株式会社
電子部品
5日前
株式会社興電舎
励磁突入電流抑制方法
3日前
株式会社ダイヘン
電圧調整装置
5日前
矢崎総業株式会社
コネクタ
4日前
続きを見る
他の特許を見る