TOP
|
特許
|
意匠
|
商標
特許ウォッチ
Twitter
他の特許を見る
公開番号
2025176888
公報種別
公開特許公報(A)
公開日
2025-12-05
出願番号
2024083266
出願日
2024-05-22
発明の名称
センサ搭載構造
出願人
矢崎総業株式会社
代理人
個人
,
個人
,
個人
主分類
G01K
1/14 20210101AFI20251128BHJP(測定;試験)
要約
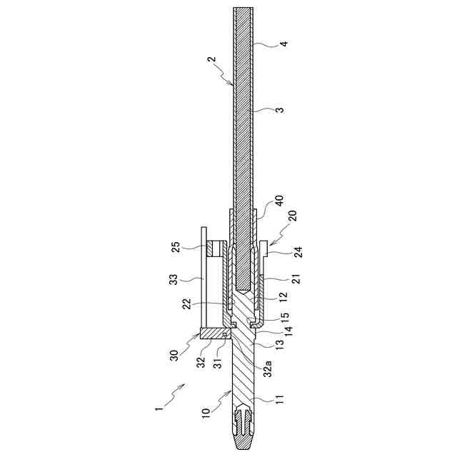
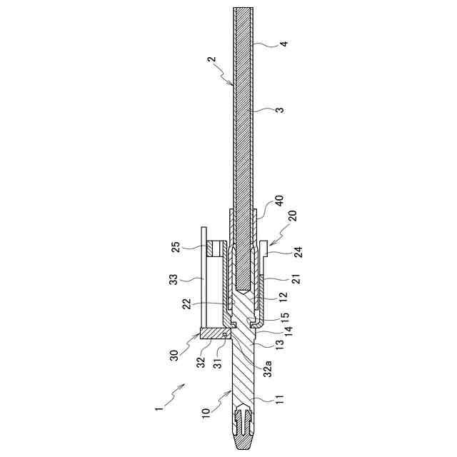
【課題】温度検出素子を端子で発生する発熱部の近傍に配置することにより実温度と測定温度との乖離を抑制することができ、また、温度検出素子を含む温度センサの固定作業を容易にすることができるセンサ搭載構造を提供する。
【解決手段】センサ搭載構造1は、端子10と、端子10を保持する端子ホルダ20と、端子10の温度を検知する温度センサ30とを備える。温度センサ30は、サーミスタ31と、サーミスタ31が埋設された樹脂モールド部32と、サーミスタ31に接続されて樹脂モールド部32から突出した検出線33と、樹脂モールド部32に連続して形成されたクランプ部34とを有する。クランプ部34は、樹脂モールド部32が端子10の外周に対向するように端子10に取り付けられ、検出線33は、端子ホルダ20に形成された検出線保持部25に保持されている。
【選択図】図5
特許請求の範囲
【請求項1】
端子と、
前記端子を保持する端子ホルダと、
前記端子の温度を検知する温度センサと、を備え、
前記温度センサは、
温度検出素子と、
前記温度検出素子が埋設された樹脂モールド部と、
前記温度検出素子に接続されて前記樹脂モールド部から突出した検出線と、
前記樹脂モールド部に連続して形成されたクランプ部と、を有し、
前記クランプ部は、前記樹脂モールド部が前記端子の外周に対向するように前記端子に取り付けられ、
前記検出線は、前記端子ホルダに形成された検出線保持部に保持されている、
センサ搭載構造。
続きを表示(約 270 文字)
【請求項2】
前記端子は、
相手端子に接触する端子接触部と、
電線が電気的に接続される電線接続部と、
前記端子接触部と前記電線接続部とを連結する中間連結部と、を有し、
前記クランプ部は、前記端子の前記中間連結部を両側から挟み込むように前記端子に取り付けられ、
前記樹脂モールド部は、前記端子の前記中間連結部の外周に対向している、
請求項1に記載のセンサ搭載構造。
【請求項3】
前記樹脂モールド部は、前記端子の外周に直接接触している、請求項1又は2に記載のセンサ搭載構造。
発明の詳細な説明
【技術分野】
【0001】
本発明は、センサ搭載構造に関する。
続きを表示(約 1,300 文字)
【背景技術】
【0002】
従来から、電気自動車及びプラグインハイブリッド自動車等の車両に搭載されたバッテリに車両外部から電力を供給(充電)するために、充電コネクタが用いられている。この種の充電コネクタには、通電時等の端子の発熱を検知するために、温度センサ(サーミスタ等)が配設されている(例えば、特許文献1参照)。
【先行技術文献】
【特許文献】
【0003】
特開2019-192482号公報
【発明の概要】
【発明が解決しようとする課題】
【0004】
センサ搭載構造において、端子で発生する発熱部からサーミスタ等の温度検出素子までが離れていると、実温度と測定温度との乖離が生じる可能性があり、また、温度検出素子を含む温度センサの固定作業が煩雑であると、工数の増加を招く可能性がある。
【0005】
本発明は、このような従来技術が有する課題に鑑みてなされたものである。そして本発明の目的は、温度検出素子を端子で発生する発熱部の近傍に配置することにより実温度と測定温度との乖離を抑制することができ、また、温度検出素子を含む温度センサの固定作業を容易にすることができるセンサ搭載構造を提供することにある。
【課題を解決するための手段】
【0006】
本発明の態様に係るセンサ搭載構造は、端子と、端子を保持する端子ホルダと、端子の温度を検知する温度センサと、を備え、温度センサは、温度検出素子と、温度検出素子が埋設された樹脂モールド部と、温度検出素子に接続されて樹脂モールド部から突出した検出線と、樹脂モールド部に連続して形成されたクランプ部と、を有し、クランプ部は、樹脂モールド部が端子の外周に対向するように端子に取り付けられ、検出線は、端子ホルダに形成された検出線保持部に保持されている。
【発明の効果】
【0007】
本発明によれば、温度検出素子を端子で発生する発熱部の近傍に配置することにより実温度と測定温度との乖離を抑制することができ、また、温度検出素子を含む温度センサの固定作業を容易にすることができるセンサ搭載構造を提供することができる。
【図面の簡単な説明】
【0008】
本実施形態に係るセンサ搭載構造の一例を示す斜視図である。
本実施形態に係るセンサ搭載構造の分解斜視図である。
本実施形態に係るセンサ搭載構造の平面図である。
本実施形態に係るセンサ搭載構造の背面図である。
図4のA-A線による断面図である。
【発明を実施するための形態】
【0009】
以下、図面を用いて本実施形態に係るセンサ搭載構造について詳細に説明する。なお、図面の寸法比率は説明の都合上誇張されており、実際の比率と異なる場合がある。
【0010】
本実施形態に係るセンサ搭載構造は、例えば、車両に搭載されるバッテリを充電する際に用いられる充電コネクタ等に適用することが可能である。
(【0011】以降は省略されています)
この特許をJ-PlatPat(特許庁公式サイト)で参照する
関連特許
矢崎総業株式会社
端子
1か月前
矢崎総業株式会社
端子
8日前
矢崎総業株式会社
箱状体
1か月前
矢崎総業株式会社
箱状体
1か月前
矢崎総業株式会社
箱状体
1か月前
矢崎総業株式会社
箱状体
1か月前
矢崎総業株式会社
端子台
3日前
矢崎総業株式会社
端子台
3日前
矢崎総業株式会社
箱状体
1か月前
矢崎総業株式会社
端子台
3日前
矢崎総業株式会社
端子台
3日前
矢崎総業株式会社
コネクタ
1日前
矢崎総業株式会社
コネクタ
1か月前
矢崎総業株式会社
コネクタ
1か月前
矢崎総業株式会社
コネクタ
2か月前
矢崎総業株式会社
コネクタ
2か月前
矢崎総業株式会社
コネクタ
16日前
矢崎総業株式会社
コネクタ
1か月前
矢崎総業株式会社
コネクタ
8日前
矢崎総業株式会社
照明装置
1か月前
矢崎総業株式会社
コネクタ
1か月前
矢崎総業株式会社
コネクタ
16日前
矢崎総業株式会社
照明装置
1か月前
矢崎総業株式会社
給電装置
9日前
矢崎総業株式会社
接続構造
1か月前
矢崎総業株式会社
電源回路
16日前
矢崎総業株式会社
コネクタ
1か月前
矢崎総業株式会社
コネクタ
9日前
矢崎総業株式会社
照明構造
2か月前
矢崎総業株式会社
止水部材
2か月前
矢崎総業株式会社
報知装置
1か月前
矢崎総業株式会社
コネクタ
2か月前
矢崎総業株式会社
コネクタ
8日前
矢崎総業株式会社
コネクタ
17日前
矢崎総業株式会社
コネクタ
2日前
矢崎総業株式会社
コネクタ
1か月前
続きを見る
他の特許を見る