TOP
|
特許
|
意匠
|
商標
特許ウォッチ
Twitter
他の特許を見る
公開番号
2025148720
公報種別
公開特許公報(A)
公開日
2025-10-08
出願番号
2024048979
出願日
2024-03-26
発明の名称
コネクタ
出願人
矢崎総業株式会社
代理人
個人
,
個人
,
個人
主分類
H01R
13/66 20060101AFI20251001BHJP(基本的電気素子)
要約
【課題】組付性を向上することができ、電気的な接続信頼性を保持することができるコネクタを提供する。
【解決手段】端子5が配置されるハウジングと、ハウジングに組付けられ、端子5をハウジングに保持する端子ホルダ7と、端子ホルダ7に配置され、端子5の温度を検出するサーミスタ9と、端子ホルダ7に組付けられ、サーミスタ9を端子ホルダ7に保持するサーミスタホルダ11とを備えたコネクタにおいて、サーミスタホルダ11を、端子ホルダ7からハウジング側に向けて露出する端子5側に配置し、固定部41を介して端子ホルダ7に固定した。
【選択図】図2
特許請求の範囲
【請求項1】
端子が配置されるハウジングと、
前記ハウジングに組付けられ、前記端子を前記ハウジングに保持する端子ホルダと、
前記端子ホルダに配置され、前記端子の温度を検出するサーミスタと、
前記端子ホルダに組付けられ、前記サーミスタを前記端子ホルダに保持するサーミスタホルダと、
を備え、
前記サーミスタホルダは、前記端子ホルダから前記ハウジング側に向けて露出する前記端子側に配置され、固定部を介して前記端子ホルダに固定されているコネクタ。
続きを表示(約 290 文字)
【請求項2】
前記サーミスタは、前記サーミスタホルダに固定され、
前記固定部は、前記サーミスタに電気的に接続され、前記サーミスタホルダから露出する検出線を固定する請求項1に記載のコネクタ。
【請求項3】
前記固定部は、前記検出線を収容可能に形成され、前記検出線の長さ方向に延出されている請求項2に記載のコネクタ。
【請求項4】
前記サーミスタホルダは、環状に形成され、前記端子が挿通されて配置され、
前記固定部は、前記サーミスタホルダの周方向の少なくとも1箇所に配置されている請求項1から3のいずれか1項に記載のコネクタ。
発明の詳細な説明
【技術分野】
【0001】
本発明は、コネクタに関する。
続きを表示(約 1,600 文字)
【背景技術】
【0002】
従来、コネクタとしては、タブ状の端子が配置されるハウジングと、ハウジングに組付けられ、端子をハウジングに保持する端子ホルダとしてのリテーナとを備えている。また、リテーナに配置され、端子に電気的に接続された電線の温度を検出するサーミスタと、リテーナに組付けられ、サーミスタをリテーナに保持するサーミスタホルダとを備えたものが知られている(特許文献1参照)。このコネクタでは、ハウジングの反対側に位置するリテーナの内部に設けられた端子保持部に、電線がハウジングと反対側に向けて引き出されている。端子保持部には、電線の外周と接触するように、サーミスタが配置されている。サーミスタホルダは、電線の引出側からリテーナの内部に位置する端子保持部に向けて組付けられ、サーミスタを保持する。
【先行技術文献】
【特許文献】
【0003】
特開2017-220355号公報
【発明の概要】
【発明が解決しようとする課題】
【0004】
ところで、上記特許文献1のコネクタでは、ハウジングと反対側から端子ホルダの内部に向けてサーミスタホルダを組付けている。このため、電線やサーミスタの検出線の引出方向の後端からサーミスタホルダを組付けなければならず、組付性が低下していた。加えて、端子ホルダの内部にサーミスタが配置されているので、端子ホルダの内部からサーミスタの検出線を引き出す作業が行い難く、組付性が低下していた。
【0005】
これに対して、組付性を向上させるために、サーミスタを、端子ホルダからハウジング側に向けて露出する端子と接触するようにハウジングに配置し、サーミスタホルダを、ハウジングに組付けことが考えられる。しかしながら、サーミスタホルダをハウジングに組付ける場合には、ハウジングに対するサーミスタホルダの高い位置決め精度が必要である。ハウジングに対してサーミスタホルダの位置がずれていると、端子ホルダをハウジングに組付けるときに、端子ホルダから露出する端子が、サーミスタホルダに衝突する可能性があった。サーミスタホルダと端子との衝突が生じると、電気的な接続信頼性が低下する可能性があった。
【0006】
本発明は、このような従来技術が有する課題に鑑みてなされたものである。そして本発明の目的は、組付性を向上することができ、電気的な接続信頼性を保持することができるコネクタを提供することにある。
【課題を解決するための手段】
【0007】
本実施形態に係るコネクタは、タブ状の端子が配置されるハウジングと、前記ハウジングに組付けられ、前記端子を前記ハウジングに保持する端子ホルダと、前記端子ホルダに配置され、前記端子の温度を検出するサーミスタと、前記端子ホルダに組付けられ、前記サーミスタを前記端子ホルダに保持するサーミスタホルダと、を備え、前記サーミスタホルダは、前記端子ホルダから前記ハウジング側に向けて露出する前記端子側に配置され、固定部を介して前記端子ホルダに固定されている。
【発明の効果】
【0008】
本発明によれば、組付性を向上することができ、電気的な接続信頼性を保持することができるコネクタを提供することができる。
【図面の簡単な説明】
【0009】
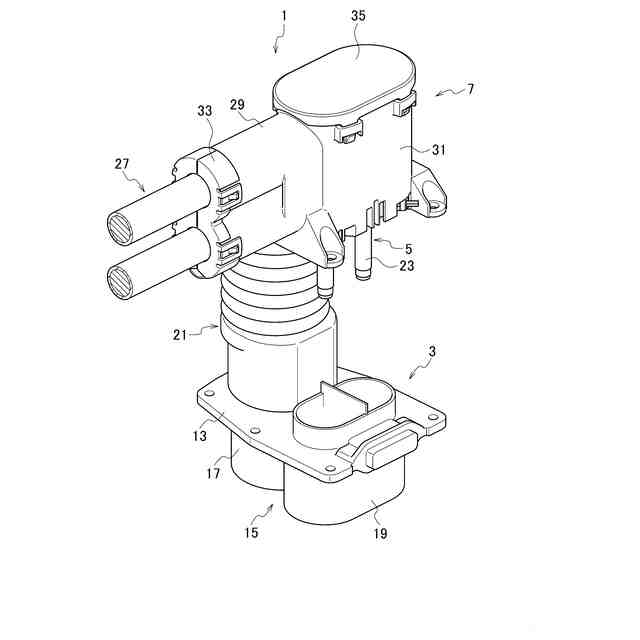
本実施形態に係るコネクタのハウジングに端子ホルダを組付けるときの斜視図である。
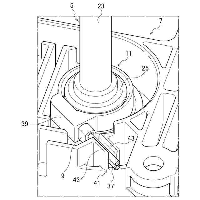
本実施形態に係るコネクタの要部拡大図である。
【発明を実施するための形態】
【0010】
以下、図面を用いて本実施形態に係るコネクタについて詳細に説明する。なお、図面の寸法比率は説明の都合上誇張されており、実際の比率と異なる場合がある。
(【0011】以降は省略されています)
この特許をJ-PlatPat(特許庁公式サイト)で参照する
関連特許
東ソー株式会社
絶縁電線
13日前
APB株式会社
蓄電セル
11日前
ローム株式会社
半導体装置
12日前
株式会社東芝
端子台
5日前
マクセル株式会社
電源装置
5日前
株式会社GSユアサ
蓄電装置
6日前
株式会社GSユアサ
蓄電装置
6日前
トヨタ自動車株式会社
蓄電装置
6日前
日本特殊陶業株式会社
保持装置
14日前
トヨタ自動車株式会社
冷却構造
13日前
トヨタ自動車株式会社
バッテリ
11日前
北道電設株式会社
配電具カバー
11日前
日新イオン機器株式会社
基板処理装置
8日前
ローム株式会社
半導体装置
13日前
日亜化学工業株式会社
半導体レーザ素子
8日前
トヨタ自動車株式会社
密閉型電池
7日前
株式会社デンソー
電子装置
8日前
住友電装株式会社
コネクタ
13日前
株式会社東芝
高周波回路
14日前
富士電機株式会社
半導体モジュール
今日
三協立山株式会社
バッテリーケース
12日前
マクセル株式会社
扁平形電池
12日前
トヨタ自動車株式会社
電池モジュール
13日前
シャープ株式会社
アンテナ装置
12日前
株式会社村田製作所
コイル部品
13日前
トヨタ自動車株式会社
蓄電モジュール
6日前
ローム株式会社
半導体パッケージ
12日前
矢崎総業株式会社
接続構造
今日
日産自動車株式会社
電池モジュール
5日前
アイリスオーヤマ株式会社
電動工具
11日前
大阪瓦斯株式会社
平板型燃料電池スタック
12日前
トヨタ自動車株式会社
正極層
11日前
新光電気工業株式会社
基板固定装置
11日前
日本航空電子工業株式会社
コネクタ組立体
12日前
TDK株式会社
アンテナモジュール
5日前
トヨタ自動車株式会社
固体電池
8日前
続きを見る
他の特許を見る