TOP
|
特許
|
意匠
|
商標
特許ウォッチ
Twitter
他の特許を見る
公開番号
2025162078
公報種別
公開特許公報(A)
公開日
2025-10-27
出願番号
2024065187
出願日
2024-04-15
発明の名称
照明装置
出願人
矢崎総業株式会社
代理人
個人
,
個人
,
個人
主分類
B60Q
1/24 20060101AFI20251020BHJP(車両一般)
要約
【課題】光透過性のケースの壁部内における導光に起因した光漏れを抑える照明装置を提供する。
【解決手段】照明装置1は、光源11を実装した基板10と、基板10の少なくとも一部を収容する光透過性のケース50とを備える。ケース50の内面51fは、光源11から射出された光Laが到達する範囲で、かつ、光源11から射出された光Laを外部に透過させることが予め想定された光透過面54を除く範囲に、凹凸形状となる表面加工が施された凹凸面53を有する。凹凸面53は、シボ加工又はブラスト加工が施された面であってもよい。
【選択図】図6
特許請求の範囲
【請求項1】
光源を実装した基板と、
前記基板の少なくとも一部を収容する光透過性のケースと、を備え、
前記ケースの内面は、前記光源から射出された光が到達する範囲で、かつ、前記光源から射出された前記光を外部に透過させることが予め想定された光透過面を除く範囲に、凹凸形状となる表面加工が施された凹凸面を有する、照明装置。
続きを表示(約 600 文字)
【請求項2】
前記凹凸面は、シボ加工又はブラスト加工が施された面である、請求項1に記載の照明装置。
【請求項3】
前記光源として、前記基板の第1基板面に実装される第1光源と、前記基板の前記第1基板面とは反対側の第2基板面に実装される第2光源とが少なくとも存在し、
前記第1光源の光射出面は、前記ケースの1つの側壁と対向し、
前記第2光源の光射出面は、前記ケースの先端壁と対向する、請求項1又は2に記載の照明装置。
【請求項4】
前記ケースの前記先端壁と第1主表面が近接して対向し、当該第1主表面とは反対側の第2主表面が前記第1光源の光射出空間と対向する遮光壁を備える、請求項3に記載の照明装置。
【請求項5】
前記遮光壁を支持し、かつ、前記基板の一部の把持する遮光壁支持部を備える、請求項4に記載の照明装置。
【請求項6】
前記基板を保持するハウジングを備え、
前記ハウジングは、充電インレットの一部を構成する外部コネクタに接続されるコネクタ部を有し、
前記コネクタ部が前記外部コネクタに接続されているとき、
前記第1光源から射出された前記光は、前記充電インレットの充電口に向かい、かつ、
前記第2光源から射出された前記光は、前記充電インレットの外方に向かう、請求項3に記載の照明装置。
発明の詳細な説明
【技術分野】
【0001】
本発明は、照明装置に関する。
続きを表示(約 1,300 文字)
【背景技術】
【0002】
従来、電気自動車又はプラグインハイブリッド自動車等の車両に設置され、車両外部から車載バッテリに電力を供給させるための充電インレットがある。充電インレットにおいて充電状態等を表示するのに用いられ得るものとして、特許文献1には、インジケータ意匠が施された表示板を背後から照明する表示装置に関する技術が開示されている。当該表示装置は、透明部材で形成されたケースの内部に、LEDから射出された光が特定の方向で外部に漏れ出ることを抑えるための遮光壁を備える。
【先行技術文献】
【特許文献】
【0003】
特開2013-200365号公報
【発明の概要】
【発明が解決しようとする課題】
【0004】
特許文献1に開示の表示装置では、LEDから射出された光の一部がケースの壁部内で導光されることで外部に漏れ、結果としてケース全体が光るような事象が発生することもあり得る。
【0005】
本発明は、このような従来技術が有する課題に鑑みてなされたものである。そして本発明の目的は、光透過性のケースの壁部内における導光に起因した光漏れを抑える照明装置を提供することにある。
【課題を解決するための手段】
【0006】
本発明の態様に係る照明装置は、光源を実装した基板と、基板の少なくとも一部を収容する光透過性のケースと、を備え、ケースの内面は、光源から射出された光が到達する範囲で、かつ、光源から射出された光を外部に透過させることが予め想定された光透過面を除く範囲に、凹凸形状となる表面加工が施された凹凸面を有する。
【発明の効果】
【0007】
本発明によれば、光透過性のケースの壁部内における導光に起因した光漏れを抑える照明装置を提供することができる。
【図面の簡単な説明】
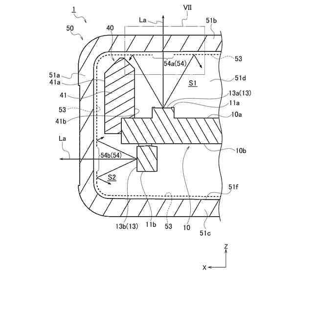
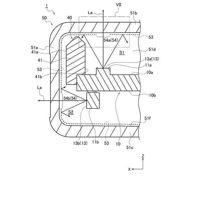
【0008】
一実施形態に係る照明装置を取り付けた充電インレットの斜視図である。
先端部を視認させる一実施形態に係る照明装置の斜視図である。
後端部を視認させる一実施形態に係る照明装置の斜視図である。
ケースを取り外した状態の一実施形態に係る照明装置の斜視図である。
一実施形態に係る照明装置の分解斜視図である。
図2AのV-V部に対応した一実施形態に係る照明装置の断面図である。
図5のVI-VI部に対応した一実施形態に係る照明装置の一部拡大図である。
図6のVII-VII部に対応した一実施形態に係る照明装置の一部拡大図である。
【発明を実施するための形態】
【0009】
以下、図面を用いて一実施形態に係る照明装置について詳細に説明する。なお、図面の寸法比率は説明の都合上誇張されており、実際の比率と異なる場合がある。
【0010】
図1は、一実施形態に係る照明装置1を取り付けた充電インレット100の斜視図である。なお、図1では、充電インレット100の内部に配置されている照明装置1は、概略的に破線で示されている。
(【0011】以降は省略されています)
この特許をJ-PlatPat(特許庁公式サイト)で参照する
関連特許
矢崎総業株式会社
端子
4日前
矢崎総業株式会社
照明灯
1か月前
矢崎総業株式会社
箱状体
24日前
矢崎総業株式会社
箱状体
24日前
矢崎総業株式会社
コネクタ
1か月前
矢崎総業株式会社
コネクタ
29日前
矢崎総業株式会社
コネクタ
29日前
矢崎総業株式会社
コネクタ
1か月前
矢崎総業株式会社
コネクタ
25日前
矢崎総業株式会社
照明装置
10日前
矢崎総業株式会社
コネクタ
25日前
矢崎総業株式会社
コネクタ
24日前
矢崎総業株式会社
コネクタ
25日前
矢崎総業株式会社
コネクタ
18日前
矢崎総業株式会社
報知装置
11日前
矢崎総業株式会社
コネクタ
24日前
矢崎総業株式会社
コネクタ
1か月前
矢崎総業株式会社
コネクタ
23日前
矢崎総業株式会社
コネクタ
22日前
矢崎総業株式会社
照明構造
29日前
矢崎総業株式会社
止水部材
29日前
矢崎総業株式会社
コネクタ
1か月前
矢崎総業株式会社
コネクタ
1か月前
矢崎総業株式会社
コネクタ
1か月前
矢崎総業株式会社
コネクタ
1か月前
矢崎総業株式会社
コネクタ
1か月前
矢崎総業株式会社
コネクタ
1か月前
矢崎総業株式会社
コネクタ
1か月前
矢崎総業株式会社
コネクタ
1か月前
矢崎総業株式会社
照明装置
4日前
矢崎総業株式会社
コネクタ
1か月前
矢崎総業株式会社
照明装置
5日前
矢崎総業株式会社
照明装置
5日前
矢崎総業株式会社
コネクタ
1か月前
矢崎総業株式会社
コネクタ
1か月前
矢崎総業株式会社
バスバー
15日前
続きを見る
他の特許を見る