TOP
|
特許
|
意匠
|
商標
特許ウォッチ
Twitter
他の特許を見る
10個以上の画像は省略されています。
公開番号
2025140002
公報種別
公開特許公報(A)
公開日
2025-09-29
出願番号
2024039130
出願日
2024-03-13
発明の名称
コネクタ
出願人
矢崎総業株式会社
代理人
弁理士法人栄光事務所
主分類
H01R
13/52 20060101AFI20250919BHJP(基本的電気素子)
要約
【課題】製造作業性及びシール部材の保持性に優れて、製造作業性とシール部材の保持性との両立が可能なコネクタを提供すること。
【解決手段】コネクタ1は、端子40と、端子40を収容するインナハウジング20と、インナハウジング20を収容するアウタハウジング10と、アウタハウジング10に装着されて、前記アウタハウジングと固定対象部材との間に配される環状のシール部材30と、を備える。シール部材30は、周方向の複数個所に周方向との交差方向に突出する凸部32が設けられる。インナハウジング20には、周方向及び交差方向と交差する軸方向においてアウタハウジング10の一端面とともに凸部32を挟持する押え部24が設けられる。
【選択図】図8
特許請求の範囲
【請求項1】
端子と、前記端子を収容するインナハウジングと、前記インナハウジングを収容するアウタハウジングと、前記アウタハウジングに装着されて、前記アウタハウジングと固定対象部材との間に配される環状のシール部材と、を備えたコネクタであって、
前記シール部材は、
周方向の複数個所に前記周方向との交差方向に突出する凸部が設けられ、
前記インナハウジングには、前記周方向及び前記交差方向と交差する軸方向において前記アウタハウジングの一端面とともに前記凸部を挟持する押え部が設けられる、
コネクタ。
続きを表示(約 290 文字)
【請求項2】
請求項1に記載のコネクタであって、
前記アウタハウジングには、前記軸方向に窪み、前記窪み空間に前記凸部が配される収容溝が設けられ、
前記一端面は、前記収容溝の溝底面である、
コネクタ。
【請求項3】
請求項1に記載のコネクタであって、
前記凸部は、前記交差方向において前記シール部材の径方向内側に向けて突出する、
コネクタ。
【請求項4】
請求項1に記載のコネクタであって、
前記アウタハウジングには、前記シール部材が装着される装着溝が設けられる、
コネクタ。
発明の詳細な説明
【技術分野】
【0001】
本発明は、コネクタに関する。
続きを表示(約 1,800 文字)
【背景技術】
【0002】
従来から、端子及び端子を収容するハウジングを備えて、例えば車両のパネルや車載機器(例えば、端子台等)等の固定対象部材に固定されるコネクタが提案されている(例えば、特許文献1を参照)。この種のコネクタは、防水性の観点から、ハウジングと上記固定対象部材との間に配される環状のパッキン(シール部材)を備えることが多い。
【先行技術文献】
【特許文献】
【0003】
特開2023-87858号公報
【発明の概要】
【発明が解決しようとする課題】
【0004】
ところで、上述したようなコネクタにおいて、環状のパッキンは、ハウジングに装着される場合が多い。この場合、パッキンをハウジングの外周等に単に装着するだけでは、パッキンが回転したり、ハウジングから脱落したり等するおそれがある。
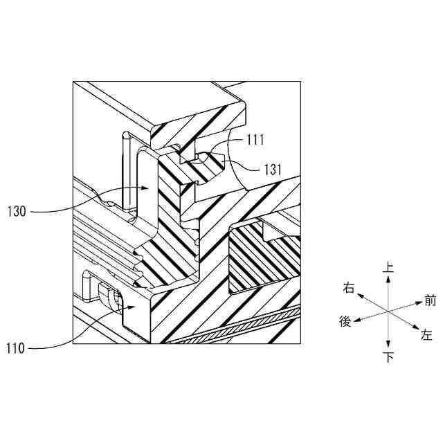
一方で、従来のコネクタの中には、例えば、図9に示すように、パッキン130に保持突起131を設けて、この保持突起131をハウジング110に形成した圧入孔111に圧入することで、ハウジング110にパッキン130を保持させるように構成されるものがある。しかしながら、このようなコネクタにおいては、専用の治具等を用いて保持突起131を圧入孔111に圧入する必要があり、作業性の観点では好ましくなかった。
このように、従来のコネクタにおいては、パッキンの保持性と作業性との両立が困難であった。
【0005】
本発明は、上述した状況を鑑みてなされたものであり、その目的は、製造作業性及びシール部材の保持性に優れて、製造作業性とシール部材の保持性との両立が可能なコネクタを提供することにある。
【課題を解決するための手段】
【0006】
前述した目的を達成するために、本発明に係るコネクタは、下記を特徴としている。
端子と、前記端子を収容するインナハウジングと、前記インナハウジングを収容するアウタハウジングと、前記アウタハウジングに装着されて、前記アウタハウジングと固定対象部材との間に配される環状のシール部材と、を備えたコネクタであって、
前記シール部材は、
周方向の複数個所に前記周方向との交差方向に突出する凸部が設けられ、
前記インナハウジングには、前記周方向及び前記交差方向と交差する軸方向において前記アウタハウジングの一端面とともに前記凸部を挟持する押え部が設けられる、
コネクタであること。
【発明の効果】
【0007】
本発明によれば、シール部材の凸部が、アウタハウジングの一端面とインナハウジングの押え部に挟持される。即ち、本発明は、治具等を用いることなく各部材を単に組み付けていくことで、シール部材がインナハウジング及びアウタハウジングによって保持されるため、従来に比べ、製造作業性及びシール部材の保持性に優れる。つまり、本発明によれば、コネクタの製造作業性とシール部材の保持性との両立が可能である。
【0008】
以上、本発明について簡潔に説明した。更に、以下に説明される発明を実施するための形態(以下、「実施形態」という。)を添付の図面を参照して通読することにより、本発明の詳細は更に明確化されるであろう。
【図面の簡単な説明】
【0009】
図1は、本発明の一実施形態に係るコネクタの前方斜視図である。
図2は、図1に示すコネクタの後方斜視図である。
図3は、図1に示すコネクタの後面図である。
図4は、図1に示すコネクタの要部分解斜視図である。
図5は、図4に示すアウタハウジングの後面図である。
図6は、図4に示すインナハウジングの後面図である。
図7は、図4に示すシール部材の後面図である。
図8は、図1に示すコネクタの要部拡大断面図である。
図9は、従来のコネクタの要部拡大断面図の一例である。
【発明を実施するための形態】
【0010】
以下、図面を参照しながら本発明の一実施形態にコネクタ1について説明する。
(【0011】以降は省略されています)
この特許をJ-PlatPat(特許庁公式サイト)で参照する
関連特許
矢崎総業株式会社
端子
10日前
矢崎総業株式会社
箱状体
3日前
矢崎総業株式会社
箱状体
1か月前
矢崎総業株式会社
箱状体
1か月前
矢崎総業株式会社
箱状体
3日前
矢崎総業株式会社
箱状体
3日前
矢崎総業株式会社
コネクタ
24日前
矢崎総業株式会社
照明装置
10日前
矢崎総業株式会社
照明装置
16日前
矢崎総業株式会社
報知装置
17日前
矢崎総業株式会社
接続構造
3日前
矢崎総業株式会社
バスバー
21日前
矢崎総業株式会社
照明装置
11日前
矢崎総業株式会社
照明装置
11日前
矢崎総業株式会社
コネクタ
28日前
矢崎総業株式会社
コネクタ
29日前
矢崎総業株式会社
コネクタ
2日前
矢崎総業株式会社
コネクタ
2日前
矢崎総業株式会社
カバー構造
8日前
矢崎総業株式会社
電気接続箱
1か月前
矢崎総業株式会社
端子付き電線
22日前
矢崎総業株式会社
車両用室内灯
今日
矢崎総業株式会社
画像表示装置
11日前
矢崎総業株式会社
通信ケーブル
今日
矢崎総業株式会社
車両用室内灯
今日
矢崎総業株式会社
画像表示装置
11日前
矢崎総業株式会社
フラット導体
1か月前
矢崎総業株式会社
スイッチ装置
今日
矢崎総業株式会社
コネクタ構造
17日前
矢崎総業株式会社
コネクタ構造
17日前
矢崎総業株式会社
スイッチ装置
今日
矢崎総業株式会社
コネクタ構造
17日前
矢崎総業株式会社
スイッチ装置
今日
矢崎総業株式会社
充電インレット
16日前
矢崎総業株式会社
ワイヤハーネス
24日前
矢崎総業株式会社
バスバ配置構造
22日前
続きを見る
他の特許を見る