TOP
|
特許
|
意匠
|
商標
特許ウォッチ
Twitter
他の特許を見る
10個以上の画像は省略されています。
公開番号
2025172485
公報種別
公開特許公報(A)
公開日
2025-11-26
出願番号
2024078016
出願日
2024-05-13
発明の名称
照明ユニット
出願人
矢崎総業株式会社
代理人
弁理士法人虎ノ門知的財産事務所
主分類
F21V
29/503 20150101AFI20251118BHJP(照明)
要約
【課題】放熱効率を高めた照明ユニットを提供することを目的とする。
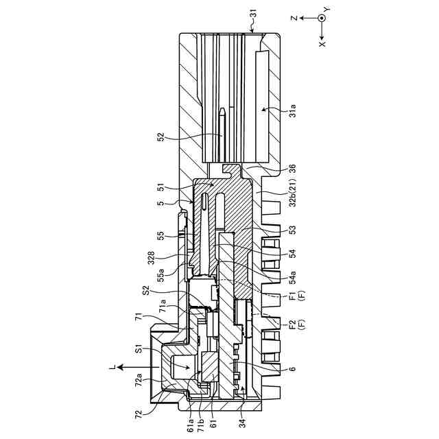
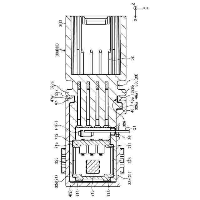
【解決手段】照明ユニット1は、ハウジング2及びカバー3を有する筐体2と、発光素子61を有し、筐体2の内部に設けられる基板6と、筐体2の内部に充填され、基板6と筐体2とを接続するように設けられる放熱ギャップフィラーF1,F2とを備え、筐体2は、放熱ギャップフィラーF1,F2が接続している壁部21(ハウジング2の底板32b)の外面33bに複数のフィン321を有する。
【選択図】図4
特許請求の範囲
【請求項1】
筐体と、
発光素子を有し、前記筐体の内部に設けられる基板と、
前記筐体の内部に充填され、前記基板と前記筐体とを接続するように設けられる放熱ギャップフィラーとを備え、
前記筐体は、前記放熱ギャップフィラーが接続している壁部の外面に複数のフィンを有する、照明ユニット。
続きを表示(約 470 文字)
【請求項2】
前記筐体は、前記複数のフィンが設けられ、前記基板と、前記発光素子からの光を集光して出射するレンズを有するレンズ部材とを保持するハウジング、及び、前記レンズからの出射光が出射される光出射口を有して前記ハウジングに設けられるカバーと、を含んで構成され、
前記カバーは、前記フィンと嵌合する係止部を含んで構成される、
請求項1に記載の照明ユニット。
【請求項3】
前記複数のフィンは、それぞれ円錐台形状に形成され、
前記係止部は、前記壁部の外側に配置される前記カバーの側壁端から前記フィンの軸方向に突出すると共に前記フィンに向かって突出することで鉤状に形成され、前記フィンの前記軸方向から見てU字状に形成される前記U字の開口部分が前記フィンと嵌合する係止凹部とされ、
前記係止部が前記壁部に対向する面は前記壁部と当接する、請求項2に記載の照明ユニット。
【請求項4】
前記複数のフィンは、千鳥格子状に配置される、請求項1乃至請求項3のいずれか1つに記載の照明ユニット。
発明の詳細な説明
【技術分野】
【0001】
本発明は、照明ユニットに関する。
続きを表示(約 1,500 文字)
【背景技術】
【0002】
従来の照明ユニットに関する技術として、例えば、特許文献1には、発光素子を有する基板と、基板に電気的に接続すると共に当該基板を支持する複数のバスバーと、発光素子に対応して配置されるレンズを有するレンズ部材とを含む筐体を備える照明ユニットが開示されている。
【先行技術文献】
【特許文献】
【0003】
特開2020-13674号公報
【発明の概要】
【発明が解決しようとする課題】
【0004】
ところで、このような照明ユニットは、照明ユニットの大きさを維持しつつ、電流値を上げる等して発光素子の発光量を大きくしたい場合がある。発光素子は、発光量が大きくなると発熱量が増大することがある。よって、照明ユニットは、更に高い放熱効率が求められることがある。
【0005】
本発明は、上記の事情に鑑みてなされたものであって、放熱効率を高めた照明ユニットを提供することを目的とする。
【課題を解決するための手段】
【0006】
上記目的を達成するために、本発明の照明ユニットは、筐体と、前記筐体の外面に設けられる複数のフィンと、発光素子を有し、前記筐体の内部に設けられる基板と、前記筐体の内部に充填され、前記基板と前記筐体とを接続するように設けられる放熱ギャップフィラーとを備え、前記複数のフィンは、前記放熱フィラーが接続している前記筐体の壁部に設けられる。
【発明の効果】
【0007】
本発明に係る照明ユニットは、放熱効率を高めることができる、という効果を奏する。
【図面の簡単な説明】
【0008】
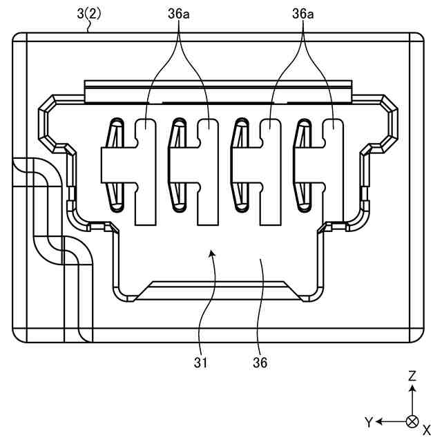
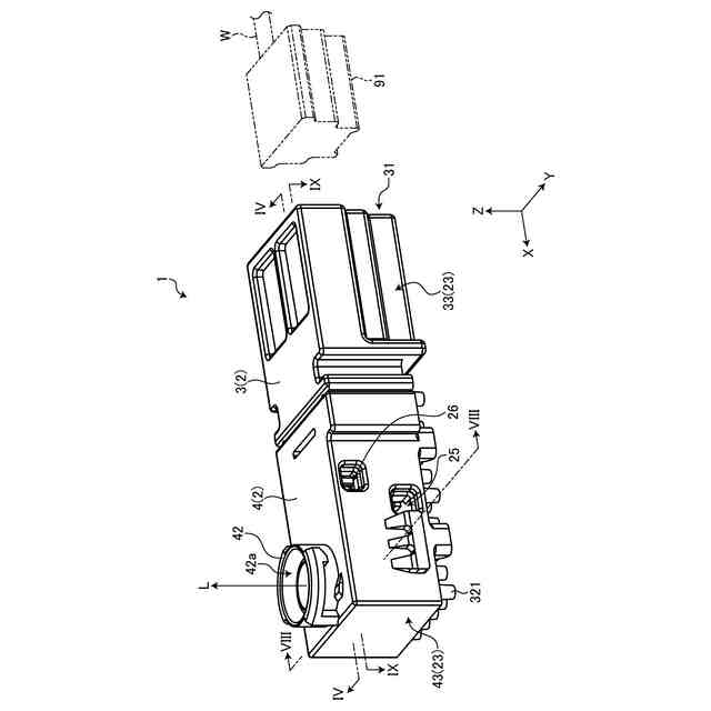
図1は、実施形態に係る照明ユニットの斜視図である。
図2は、実施形態に係る照明ユニットの斜視図である。
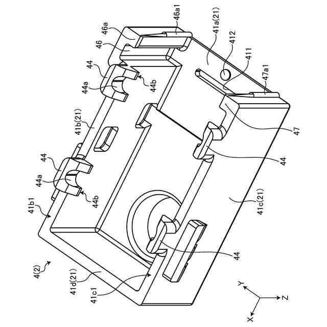
図3は、実施形態に係る照明ユニットの分解斜視図である。
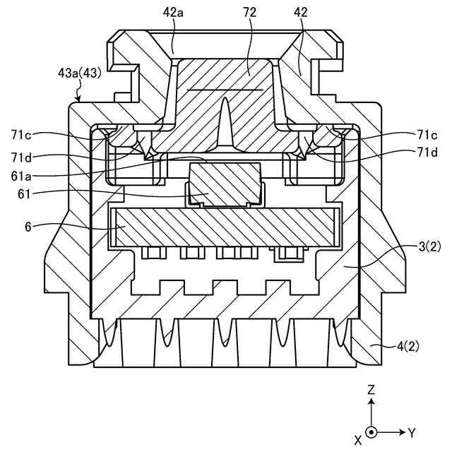
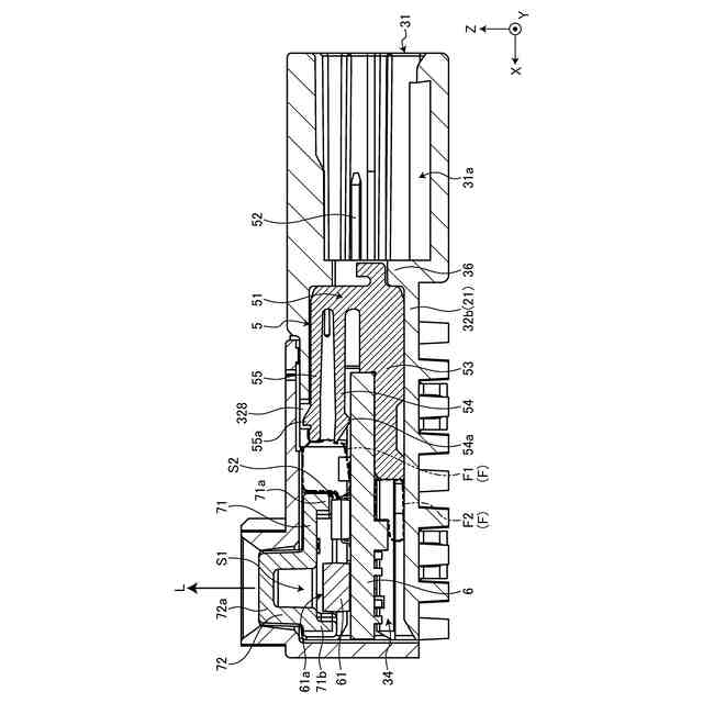
図4は、図1のIV-IV断面における照明ユニットの断面図である。
図5は、実施形態に係る照明ユニットにおけるハウジングのコネクタ接続口側の側面図である。
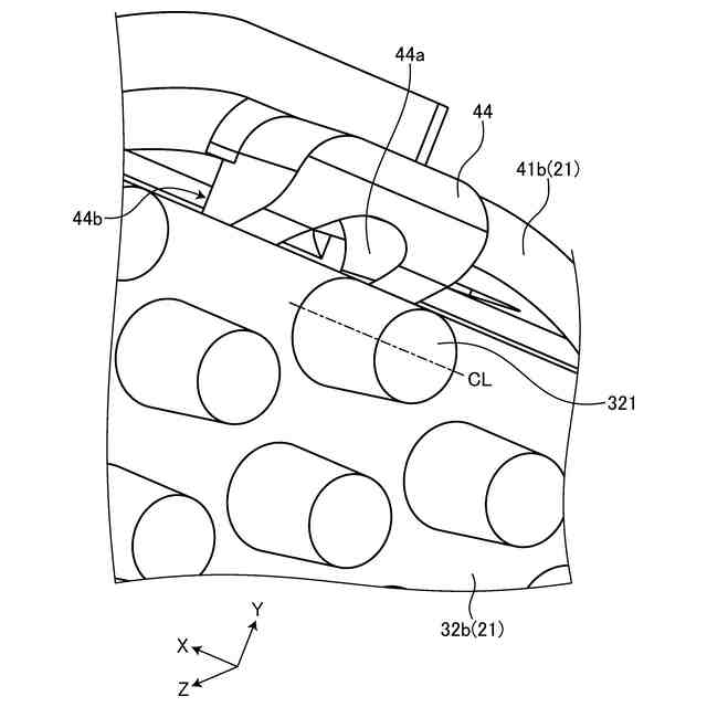
図6は、実施形態に係る照明ユニットにおけるカバーの斜視図である。
図7は、実施形態に係る照明ユニットの部分拡大斜視図である。
図8は、図1のVIII-VIII断面における照明ユニットの断面図である。
図9は、図1のIX-IX断面における照明ユニットの断面図である。
図10は、図1のX-X断面における照明ユニットの断面図である。
【発明を実施するための形態】
【0009】
以下に、本発明に係る実施形態を図面に基づいて詳細に説明する。なお、この実施形態によりこの発明が限定されるものではない。また、下記実施形態における構成要素には、当業者が置換可能かつ容易なもの、あるいは実質的に同一のものが含まれる。
【0010】
[実施形態]
本実施形態は、照明ユニットに関する。以下の説明では、互いに交差する第一方向、第二方向、及び、第三方向のうち、第一方向を「接続方向X」といい、第二方向を「幅方向Y」といい、第三方向を「高さ方向Z」という。ここでは、接続方向Xと幅方向Yと高さ方向Zとは、相互に直交する。接続方向Xは、照明ユニットとコネクタの接続方向に相当する。幅方向Yは、コネクタの幅方向に相当する。幅方向Yと高さ方向Zとは、接続方向Xと直交する直交方向に相当する。また、以下の説明で用いる各方向は、特に断りのない限り、各部が相互に組み付けられた状態での方向を表すものとする。なお、ここでいう直交は、ほぼ直交を含む。
(【0011】以降は省略されています)
この特許をJ-PlatPat(特許庁公式サイト)で参照する
関連特許
矢崎総業株式会社
端子
1か月前
矢崎総業株式会社
箱状体
23日前
矢崎総業株式会社
照明灯
2か月前
矢崎総業株式会社
箱状体
1か月前
矢崎総業株式会社
箱状体
1か月前
矢崎総業株式会社
箱状体
23日前
矢崎総業株式会社
箱状体
23日前
矢崎総業株式会社
接続構造
23日前
矢崎総業株式会社
コネクタ
1か月前
矢崎総業株式会社
コネクタ
22日前
矢崎総業株式会社
コネクタ
1か月前
矢崎総業株式会社
コネクタ
2か月前
矢崎総業株式会社
コネクタ
22日前
矢崎総業株式会社
コネクタ
1か月前
矢崎総業株式会社
コネクタ
1か月前
矢崎総業株式会社
コネクタ
1か月前
矢崎総業株式会社
照明装置
1か月前
矢崎総業株式会社
照明装置
1か月前
矢崎総業株式会社
コネクタ
1か月前
矢崎総業株式会社
止水部材
1か月前
矢崎総業株式会社
コネクタ
2か月前
矢崎総業株式会社
コネクタ
1か月前
矢崎総業株式会社
コネクタ
1か月前
矢崎総業株式会社
照明構造
1か月前
矢崎総業株式会社
報知装置
1か月前
矢崎総業株式会社
コネクタ
2か月前
矢崎総業株式会社
コネクタ
2か月前
矢崎総業株式会社
コネクタ
7日前
矢崎総業株式会社
コネクタ
3か月前
矢崎総業株式会社
コネクタ
3か月前
矢崎総業株式会社
バスバー
1か月前
矢崎総業株式会社
コネクタ
1か月前
矢崎総業株式会社
コネクタ
2か月前
矢崎総業株式会社
電源回路
7日前
矢崎総業株式会社
コネクタ
7日前
矢崎総業株式会社
コネクタ
2か月前
続きを見る
他の特許を見る