TOP
|
特許
|
意匠
|
商標
特許ウォッチ
Twitter
他の特許を見る
公開番号
2025175537
公報種別
公開特許公報(A)
公開日
2025-12-03
出願番号
2024081700
出願日
2024-05-20
発明の名称
端子台
出願人
矢崎総業株式会社
代理人
弁理士法人虎ノ門知的財産事務所
主分類
H01R
9/00 20060101AFI20251126BHJP(基本的電気素子)
要約
【課題】ハウジングに対するシール部材の組付け性と止水性とを両立して確保することができる端子台を提供することを目的とする。
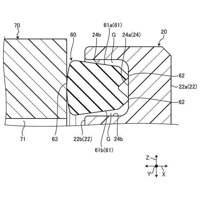
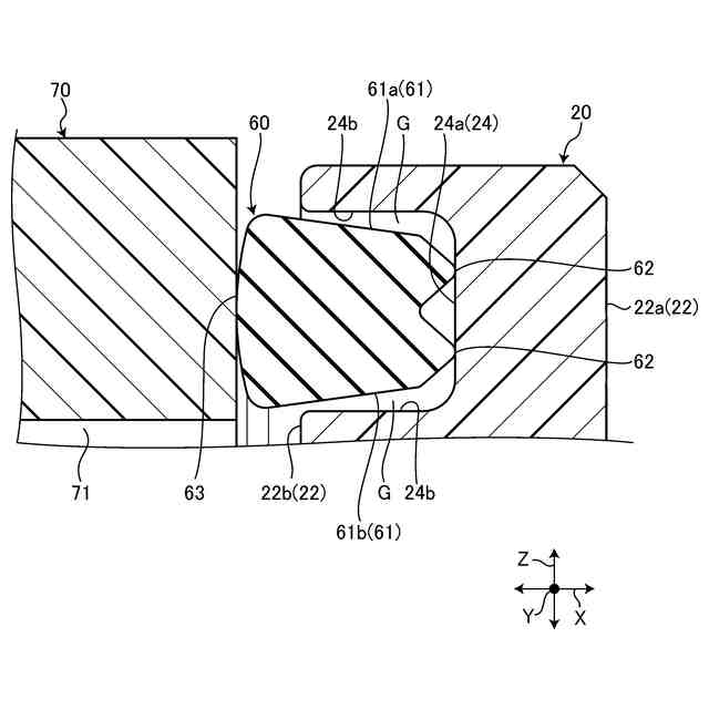
【解決手段】端子台1は、バスバ10およびハウジング20と、ハウジング20の軸線方向Xの一端面22bに組み付けられ、当該ハウジング20と取付対象物70との間の止水を行う環状のシール部材60と、を備え、ハウジング20の一端面22bには、軸線方向Xに沿って取付対象物70とは反対側に向けて凹み、シール部材60を収容する環状の凹部24が設けられ、シール部材60は、軸線方向Xに沿って凹部24の底面24a側に向かうにつれて、凹部24の側面24bと対向する端面61が当該側面24bに対して徐々に離れるように傾斜した先細り形状に形成され、かつ自由状態で、端面61と側面24bとの間の隙間Gが、底面24a側に向かうにつれて徐々に大きくなるように構成される。
【選択図】図5
特許請求の範囲
【請求項1】
軸線方向に沿って延在するバスバと、
前記バスバを保持するハウジングと、
前記ハウジングの前記軸線方向の一端面に組み付けられ、当該ハウジングと取付対象物との間の止水を行う環状のシール部材と、を備え、
前記ハウジングの前記一端面には、前記軸線方向に沿って前記取付対象物とは反対側に向けて凹み、前記シール部材を収容する環状の凹部が設けられ、
前記シール部材は、前記軸線方向に沿って前記凹部の底面側に向かうにつれて、前記凹部の側面と対向する端面が当該側面に対して徐々に離れるように傾斜した先細り形状に形成され、かつ前記ハウジングと前記取付対象物との間に圧縮されていない自由状態で、前記端面と前記側面との間の隙間が、前記底面側に向かうにつれて徐々に大きくなるように構成される、
端子台。
続きを表示(約 300 文字)
【請求項2】
前記端面は、前記凹部の環状外周側の前記側面と対向する外側端面と、前記凹部の環状内周側の前記側面と対向する内側端面と、を含んで構成され、
前記シール部材は、前記外側端面および前記内側端面のそれぞれが、前記軸線方向に沿って前記底面側に向かうにつれて、前記側面に対して徐々に離れるように傾斜した先細り形状に形成され、かつ前記ハウジングと前記取付対象物との間に圧縮されていない自由状態で、前記外側端面と前記側面との間の前記隙間、および前記内側端面と前記側面との間の前記隙間のそれぞれが、前記底面側に向かうにつれて徐々に大きくなるように構成される、
請求項1に記載の端子台。
発明の詳細な説明
【技術分野】
【0001】
本発明は、端子台に関する。
続きを表示(約 2,000 文字)
【背景技術】
【0002】
従来の端子台に関連する技術として、例えば、特許文献1には、バスバと、バスバを保持するハウジングと、ハウジングの軸線方向の一端面に組み付けられ、当該ハウジングと取付対象物との間の止水を行う環状のシール部材と、を備えた端子台が開示されている。ハウジングの一端面には、軸線方向に沿って取付対象物とは反対側に向けて凹み、シール部材を収容する環状の凹部が設けられている。
【先行技術文献】
【特許文献】
【0003】
特開2023-171078号公報
【発明の概要】
【発明が解決しようとする課題】
【0004】
ところで、上述した特許文献1に記載の端子台では、例えば、ハウジング対するシール部材の組付け性と止水性とを両立して確保する点で、更なる改善の余地があった。
【0005】
本発明は、上記の事情に鑑みてなされたものであって、ハウジングに対するシール部材の組付け性と止水性とを両立して確保することができる端子台を提供することを目的とする。
【課題を解決するための手段】
【0006】
上記目的を達成するために、本発明に係る端子台は、軸線方向に沿って延在するバスバと、前記バスバを保持するハウジングと、前記ハウジングの前記軸線方向の一端面に組み付けられ、当該ハウジングと取付対象物との間の止水を行う環状のシール部材と、を備え、前記ハウジングの前記一端面には、前記軸線方向に沿って前記取付対象物とは反対側に向けて凹み、前記シール部材を収容する環状の凹部が設けられ、前記シール部材は、前記軸線方向に沿って前記凹部の底面側に向かうにつれて、前記凹部の側面と対向する端面が当該側面に対して徐々に離れるように傾斜した先細り形状に形成され、かつ前記ハウジングと前記取付対象物との間に圧縮されていない自由状態で、前記端面と前記側面との間の隙間が、前記底面側に向かうにつれて徐々に大きくなるように構成される。
【発明の効果】
【0007】
本発明に係る端子台では、シール部材は、軸線方向に沿って凹部の底面側に向かうにつれて、凹部の側面と対向する端面が当該側面に対して徐々に離れるように傾斜した先細り形状に形成され、かつハウジングと取付対象物との間に圧縮されていない自由状態で、端面と側面との間の隙間が、底面側に向かうにつれて徐々に大きくなるように構成される。この構成により、端子台は、例えば、先細り形状のシール部材によって取付対象物との当接面の接触面積を確保することができつつ、ハウジングの凹部に対する組付け性(挿入性)を向上することができる。この結果、端子台は、ハウジングに対するシール部材の組付け性と止水性とを両立して確保することができる、という効果を奏する。
【図面の簡単な説明】
【0008】
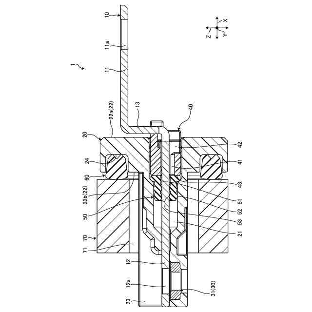
図1は、実施形態に係る端子台の例示的な斜視図である。
図2は、実施形態に係る端子台の例示的な分解斜視図である。
図3は、実施形態に係る端子台の例示的な断面図である。
図4は、実施形態に係る端子台の例示的な平面図である。
図5は、実施形態に係る端子台の例示的な断面図であって、シール部材の近傍の拡大図である。
【発明を実施するための形態】
【0009】
以下、本発明に係る実施形態を図面に基づいて詳細に説明する。なお、下記実施形態によりこの発明が限定されるものではない。また、下記実施形態における構成要素には、当業者が置換可能かつ容易なもの、あるいは実質的に同一のものが含まれる。なお、本明細書では、序数は、部品や、部材、部位、位置、方向等を区別するためだけに用いられており、順番や優先度を示すものではない。
【0010】
[実施形態]
図1は、実施形態に係る端子台1の斜視図である。図1に示される本実施形態の端子台1は、例えば、電気自動車やハイブリッド自動車等の車両に搭載され、取付対象物70に取り付けられると共に、不図示の第1機器と第2機器との電気的接続を中継するものである。本実施形態の端子台1は、複数のバスバ10を含んで構成され、当該複数のバスバ10の一端部に設けられた第1接続部11に対して第1機器の外部端子が電気的に接続される。また、本実施形態の端子台1は、複数のバスバ10の他端部に設けられた第2接続部12に対して第2機器の外部端子が電気的に接続される。第1機器は、例えば、モータおよびインバータのうちの一方であり、第2機器は、例えば、モータおよびインバータのうちの他方である。なお、端子台1は、この例には限定されず、例えば、第1機器または第2機器と配索材との中継や、配索材と配索材との中継等に用いられてもよい。
(【0011】以降は省略されています)
この特許をJ-PlatPat(特許庁公式サイト)で参照する
関連特許
日本特殊陶業株式会社
アンテナ装置
1日前
日本特殊陶業株式会社
アンテナ装置
1日前
TDK株式会社
電子部品
1日前
株式会社ダイヘン
電圧調整装置
1日前
キヤノン株式会社
二次電池
1日前
トヨタ自動車株式会社
積層型二次電池
1日前
東京エレクトロン株式会社
基板処理装置、および基板処理方法
1日前
日亜化学工業株式会社
発光装置
1日前
イノレックス・インコーポレイテッド
MLCCシートのエッジ切断装置
1日前
株式会社ディスコ
保護部材形成装置及び保護部材形成方法
1日前
株式会社村田製作所
インダクタおよびインダクタの製造方法
1日前
日産自動車株式会社
冷却装置
1日前
株式会社レゾナック
冷却器、冷却装置、冷却装置の製造方法
1日前
三星電子株式会社
半導体パッケージ及びその製造方法
1日前
キヤノン株式会社
基板処理装置、および、物品の製造方法
1日前
川崎重工業株式会社
搬送システム及び判定方法
1日前
エルジー エナジー ソリューション リミテッド
リチウム二次電池
1日前
ブルーレーザーフュージョン インク.
音響波を用いたキャビティダンパーデバイスを備えた光学増強キャビティ
1日前
ラム リサーチ コーポレーション
基板処理システムのための温度調節された基板支持体
1日前
ツー-シックス デラウェア インコーポレイテッド
偏光/レンズ付き背面発光式(BSE)垂直共振器型面発光レーザー(VCSEL)
1日前
コリア アトミック エナジー リサーチ インスティテュート
半導体パッケージング整列のためのX線イメージングシステムが装着されたチップレットヘッド整列装置及びその方法
1日前
他の特許を見る