TOP
|
特許
|
意匠
|
商標
特許ウォッチ
Twitter
他の特許を見る
10個以上の画像は省略されています。
公開番号
2025175855
公報種別
公開特許公報(A)
公開日
2025-12-03
出願番号
2024082162
出願日
2024-05-20
発明の名称
積層型二次電池
出願人
トヨタ自動車株式会社
代理人
弁理士法人太陽国際特許事務所
主分類
H01M
10/04 20060101AFI20251126BHJP(基本的電気素子)
要約
【課題】樹脂層を介して集電箔同士を接合する場合であっても、界面抵抗を低く抑える。
【解決手段】正極活物質層と負極活物質層とが電解質層を介して積層した構造を一対の集電箔の間に配したユニットを積層方向に複数有し、前記一対の集電箔のうち、少なくとも隣り合うユニットに対向する集電箔は、導電性凸部を有し、前記導電性凸部を介して前記隣り合うユニットにおける集電箔と電気的に接続される。
【選択図】図1
特許請求の範囲
【請求項1】
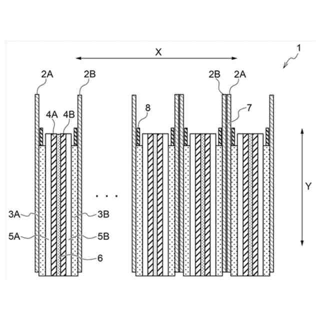
正極活物質層と負極活物質層とが電解質層を介して積層した構造を一対の集電箔の間に配したユニットを積層方向に複数有し、
前記一対の集電箔のうち、少なくとも隣り合うユニットに対向する集電箔は、導電性凸部を有し、前記導電性凸部を介して前記隣り合うユニットにおける集電箔と電気的に接続される、積層型二次電池。
続きを表示(約 420 文字)
【請求項2】
前記ユニットの前記一対の集電箔の間に、第1正極活物質層、第1電解質層、第1負極活物質層、負極集電箔、第2負極活物質層、第2電解質層及び第2正極活物質層がこの順で配され、前記一対の集電箔の一方が前記第1正極活物質層に接触し、前記一対の集電箔の他方が前記第2正極活物質層に接触している、請求項1に記載の積層型二次電池。
【請求項3】
隣り合う前記ユニットの間には樹脂層が配されており、前記導電性凸部は前記樹脂層を貫通する、請求項1に記載の積層型二次電池。
【請求項4】
前記一対の集電箔はそれぞれ、一方の面に前記導電性凸部を有し、他方の面に樹脂層を有する、請求項1に記載の積層型二次電池。
【請求項5】
前記一対の集電箔の一方は、少なくとも一方の面に前記導電性凸部を有し、前記一対の集電箔の他方は、少なくとも一方の面に樹脂層を有する、請求項1に記載の積層型二次電池。
発明の詳細な説明
【技術分野】
【0001】
本開示は、積層型二次電池に関する。
続きを表示(約 2,700 文字)
【背景技術】
【0002】
積層型二次電池のなかには、一対の集電箔間に正極活物質層、負極活物質層、電解質層(液体電解質の場合にはセパレータ層を含む)を積層してなるユニットを複数備えるものがある。この場合、隣り合うユニットは集電箔を介して対向することになる。よって、この場合、積層型二次電池を製造するには、対向する集電箔を貼り合わせる技術が採用される。
【0003】
例えば、特許文献1には、正極活物質層と負極活物質層との間に固体電解質層を備え、正極活物質層における固体電解質層と接する面とは反対側の面に正極集電体、負極活物質層における固体電解質層と接する面とは反対側の面に負極集電体を備える固体電池セルが複数積層してなる固体電池が開示されている。特許文献1に開示された固体電池では、固体電池セルと積層する際、隣り合う固体電池セルの正極集電体同士又は負極集電体同士を接合する。特許文献1においては、接合する正極集電体同士又は負極集電体同士の一方を粗面化することで摩擦係数を大きくし、積層位置のずれや回転を防止できるとされている。また、特許文献1では、正極集電体同士又は負極集電体同士を接合する際、表面の摩擦係数の大きな導電層(カーボンコーティング層)を配することで積層位置のずれや回転を防止できるとされている。
【0004】
また、特許文献2には、積層型二次電池において、超音波接合方法により多数枚の集電箔と集電端子とを接合することが開示されている。
【先行技術文献】
【特許文献】
【0005】
国際公開第2019/181097号
特開2021-16878号公報
【発明の概要】
【発明が解決しようとする課題】
【0006】
集電箔同士を接合する積層型二次電池においては、集電箔の間に配したカーボンコーティング層又は接着層によって集電箔を接合していた。しかしながら、積層型二次電池において、カーボンコーティング層又は接着層によって集電箔同士を接合すると、集電箔の間の界面抵抗が大きくなるといった問題があった。
【0007】
そこで、本開示は、積層型二次電池におけるこのような問題に鑑み、樹脂層を介して集電箔同士を接合する場合であっても、界面抵抗を低く抑えることができる積層型二次電池を提供することを目的とする。
【課題を解決するための手段】
【0008】
上述した目的を達成した本開示は以下を包含する。
<1> 正極活物質層と負極活物質層とが電解質層を介して積層した構造を一対の集電箔の間に配したユニットを積層方向に複数有し、
前記一対の集電箔のうち、少なくとも隣り合うユニットに対向する集電箔は、導電性凸部を有し、前記導電性凸部を介して前記隣り合うユニットにおける集電箔と電気的に接続される、積層型二次電池。
<2> 前記ユニットの前記一対の集電箔の間に、第1正極活物質層、第1電解質層、第1負極活物質層、負極集電箔、第2負極活物質層、第2電解質層及び第2正極活物質層がこの順で配され、前記一対の集電箔の一方が前記第1正極活物質層に接触し、前記一対の集電箔の他方が前記第2正極活物質層に接触している<1>に記載の積層型二次電池。
<3> 隣り合う前記ユニットの間には樹脂層が配されており、前記導電性凸部は前記樹脂層を貫通する<1>又は<2>に記載の積層型二次電池。
<4> 前記一対の集電箔は、一方の面に前記導電性凸部を有し、他方の面に樹脂層を有する<1>~<3>のいずれか1つに記載の積層型二次電池。
<5> 前記一対の集電箔の一方は、少なくとも一方の面に前記導電性凸部を有し、前記一対の集電箔の他方は、少なくとも一方の面に樹脂層を有する<1>~<4>のいずれか1つに記載の積層型二次電池。
<6> 前記樹脂層は、炭素系導電材料を含む<3>~<5>のいずれか1つに記載の積層型二次電池。
【0009】
<7> 正極活物質層と負極活物質層とが電解質層を介して積層した構造を一対の集電箔の間に配したユニットを積層方向に複数有し、
前記一対の集電箔のうち、少なくとも隣り合うユニットに対向する集電箔は、導電性凸部を有し、前記導電性凸部を介して前記隣り合うユニットにおける集電箔と電気的に接続される、電極積層体。
<8> 前記ユニットの前記一対の集電箔の間に、第1正極活物質層、第1電解質層、第1負極活物質層、負極集電箔、第2負極活物質層、第2電解質層及び第2正極活物質層がこの順で配され、前記一対の集電箔の一方が前記第1正極活物質層に接触し、前記一対の集電箔の他方が前記第2正極活物質層に接触している<7>に記載の電極積層体。
<9> 隣り合う前記ユニットの間には樹脂層が配されており、前記導電性凸部は前記樹脂層を貫通する<7>又は<8>に記載の電極積層体。
<10> 前記一対の集電箔は、一方の面に前記導電性凸部を有し、他方の面に樹脂層を有する<7>~<9>のいずれか1つに記載の電極積層体。
<11> 前記一対の集電箔の一方は、少なくとも一方の面に前記導電性凸部を有し、前記一対の集電箔の他方は、少なくとも一方の面に樹脂層を有する<7>~<10>のいずれか1つに記載の電極積層体。
<12> 前記樹脂層は、炭素系導電材料を含む<9>~<11>のいずれか1つに記載の電極積層体。
【0010】
<13> 正極活物質層と、負極活物質層と、前記正極活物質層及び前記負極活物質層の間に配された電解質層と、前記正極活物質層に接続された正極集電箔と、前記負極活物質層に接続された負極集電箔と、前記正極集電箔に接続された正極端子と、前記負極集電箔に接続された負極端子とを備え、
前記正極集電箔及び/又は前記負極集電箔は導電性凸部を有し、前記導電性凸部を介して前記正極端子及び/又は前記負極端子と電気的に接続される、二次電池。
<14> 前記正極集電箔と前記正極端子との間、及び前記負極集電箔と前記負極端子との間にそれぞれ樹脂層が配されており、前記導電性凸部は前記樹脂層を貫通する<13>に記載の二次電池。
<15> 前記樹脂層は、炭素系導電材料を含む<13>又は<14>に記載の二次電池。
【発明の効果】
(【0011】以降は省略されています)
この特許をJ-PlatPat(特許庁公式サイト)で参照する
関連特許
トヨタ自動車株式会社
方法
1か月前
トヨタ自動車株式会社
方法
28日前
トヨタ自動車株式会社
電池
6日前
トヨタ自動車株式会社
方法
1か月前
トヨタ自動車株式会社
電池
1か月前
トヨタ自動車株式会社
車両
1か月前
トヨタ自動車株式会社
車両
1か月前
トヨタ自動車株式会社
電池
29日前
トヨタ自動車株式会社
電池
14日前
トヨタ自動車株式会社
車両
1か月前
トヨタ自動車株式会社
車両
28日前
トヨタ自動車株式会社
車両
1か月前
トヨタ自動車株式会社
車両
15日前
トヨタ自動車株式会社
治具
1か月前
トヨタ自動車株式会社
電池
6日前
トヨタ自動車株式会社
車両
29日前
トヨタ自動車株式会社
車両
1か月前
トヨタ自動車株式会社
方法
1か月前
トヨタ自動車株式会社
車両
今日
トヨタ自動車株式会社
車体
28日前
トヨタ自動車株式会社
配管
15日前
トヨタ自動車株式会社
車両
1か月前
トヨタ自動車株式会社
車両
28日前
トヨタ自動車株式会社
方法
1か月前
トヨタ自動車株式会社
車両
14日前
トヨタ自動車株式会社
電池
20日前
トヨタ自動車株式会社
ロータ
15日前
トヨタ自動車株式会社
サーバ
1か月前
トヨタ自動車株式会社
モータ
27日前
トヨタ自動車株式会社
自動車
1か月前
トヨタ自動車株式会社
正極層
1か月前
トヨタ自動車株式会社
モータ
1か月前
トヨタ自動車株式会社
蓄電池
28日前
トヨタ自動車株式会社
電動車
15日前
トヨタ自動車株式会社
モータ
1か月前
トヨタ自動車株式会社
電動車
14日前
続きを見る
他の特許を見る