TOP
|
特許
|
意匠
|
商標
特許ウォッチ
Twitter
他の特許を見る
公開番号
2025162364
公報種別
公開特許公報(A)
公開日
2025-10-27
出願番号
2024065623
出願日
2024-04-15
発明の名称
サーバ
出願人
トヨタ自動車株式会社
代理人
個人
,
個人
主分類
G08G
1/16 20060101AFI20251020BHJP(信号)
要約
【課題】第1グループ及び第2グループのうちの影響度の高いグループが停止することによる交通網への影響を抑制する。
【解決手段】第1グループGR1の影響度IFが第2グループGR2の影響度IF以上であるとき(S61:YES)、CPUは、ステップS63において影響度IFの低い第2グループGR2の先頭車両へ減速要求DDを送信する。第1グループGR1の影響度IFが第2グループGR2の影響度IF未満であるとき(S61:NO)、CPUは、ステップS72において影響度IFの低い第1グループGR1の先頭車両へ減速要求DDを送信する。
【選択図】図6
特許請求の範囲
【請求項1】
現実世界の車両の位置情報を含む移動体情報に基づいて生成された予測移動体情報に基づいた制御信号を、前記車両へ送信するサーバであって、
前記予測移動体情報に基づいて、複数の前記車両がグループ走行するグループとして、第1グループ及び前記第1グループとは異なる第2グループを特定することと、
特定した前記グループごとに、算出対象の前記グループが停止したときに交通網へ与える影響度合いを示す影響度を算出することと、
前記予測移動体情報に基づいて構築される、複数の前記車両の位置を再現した仮想空間において、特定した前記グループごとに、予め定められた規定時間後に前記グループが存在していると推定される範囲である存在範囲を推定することと、
前記第1グループの前記存在範囲が、前記第2グループの前記存在範囲と重なるか否かを判定することと、
前記第1グループの前記存在範囲が前記第2グループの前記存在範囲と重なる場合、前記第1グループ及び前記第2グループのうちの前記影響度の高い前記グループの先頭車両へ、走行を停止する要求を送信せずに、前記第1グループ及び前記第2グループのうちの前記影響度の低い前記グループの先頭車両へ、車速を変更する変更要求を送信することと、を実行する
サーバ。
続きを表示(約 380 文字)
【請求項2】
前記影響度を算出する際に、算出対象の前記グループを構成する前記車両の数が多いほど、前記影響度を大きく算出する
請求項1に記載のサーバ。
【請求項3】
前記影響度を算出する際に、算出対象の前記グループを構成する前記車両の平均速度が大きいほど、前記影響度を大きく算出する
請求項1に記載のサーバ。
【請求項4】
前記変更要求は、車速を小さく変更する減速要求である
請求項1に記載のサーバ。
【請求項5】
前記第1グループの前記存在範囲が前記第2グループの前記存在範囲と重なる場合、前記第1グループ及び前記第2グループのうちの前記影響度の高い前記グループの先頭車両へ、車速を大きく変更する加速要求を送信することを、さらに実行する
請求項4に記載のサーバ。
発明の詳細な説明
【技術分野】
【0001】
本発明は、サーバに関する。
続きを表示(約 2,000 文字)
【背景技術】
【0002】
特許文献1には、車両と、サーバと、を含む通信システムが記載されている。サーバは、複数の車両がグループとして走行するグループ走行するとき、グループ走行する先頭車両へ、制御信号を送信する。サーバは、先頭車両が停留所に到達したとき、先頭車両への制御信号として、後続する追従車両の選択を行うための信号を送信する。
【先行技術文献】
【特許文献】
【0003】
特開2017-167669号公報
【発明の概要】
【発明が解決しようとする課題】
【0004】
特許文献1に記載の通信システムにおいて、規定時間後に第1グループ及び第2グループが存在する位置が重なる状況が想定される。この場合、サーバは、第1グループの先頭車両及び第2グループの先頭車両へ走行を停止する要求を送信することが考えられる。しかし、走行を停止する要求を送信される先頭車両のグループによっては、当該グループが走行を停止することで、交通網への影響が過度に大きくなってしまうおそれがある。
【課題を解決するための手段】
【0005】
上記課題を解決するため、本発明は、現実世界の車両の位置情報を含む移動体情報に基づいて生成された予測移動体情報に基づいた制御信号を、前記車両へ送信するサーバであって、前記予測移動体情報に基づいて、複数の前記車両がグループ走行するグループとして、第1グループ及び前記第1グループとは異なる第2グループを特定することと、特定した前記グループごとに、算出対象の前記グループが停止したときに交通網へ与える影響度合いを示す影響度を算出することと、前記予測移動体情報に基づいて構築される、複数の前記車両の位置を再現した仮想空間において、特定した前記グループごとに、予め定められた規定時間後に前記グループが存在していると推定される範囲である存在範囲を推定することと、前記第1グループの前記存在範囲が、前記第2グループの前記存在範囲と重なるか否かを判定することと、前記第1グループの前記存在範囲が前記第2グループの前記存在範囲と重なる場合、前記第1グループ及び前記第2グループのうちの前記影響度の高い前記グループの先頭車両へ、走行を停止する要求を送信せずに、前記第1グループ及び前記第2グループのうちの前記影響度の低い前記グループの先頭車両へ、車速を変更する変更要求を送信することと、を実行するサーバである。
【0006】
上記構成によれば、サーバが第1グループ及び第2グループのうちの影響度の低いグループの先頭車両へ変更要求を送信することで、サーバは、規定時間後に第1グループの存在範囲が第2グループの存在範囲と重なることを回避できる。そのうえで、サーバが第1グループ及び第2グループのうちの影響度の低いグループの先頭車両へ走行を停止する要求を送信しないことで、サーバは第1グループ及び第2グループのうちの影響度の高いグループが停止することによる交通網への影響を抑制できる。
【図面の簡単な説明】
【0007】
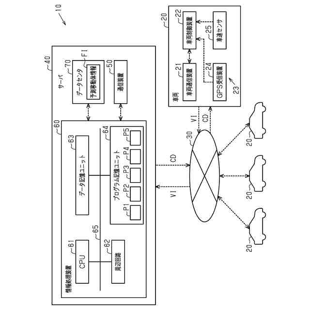
図1は、通信システムを示す概略図である。
図2は、予測移動体情報の生成を行う一連の処理を示すフローチャートである。
図3は、グループの判定を行う一連の処理を示すフローチャートである。
図4は、影響度の算出を行う一連の処理を示すフローチャートである。
図5は、存在範囲の推定を含む一連の処理を示すフローチャートである。
図6は、先頭車両への制御信号の送信を含む一連の処理を示すフローチャートである。
【発明を実施するための形態】
【0008】
以下、サーバの一実施形態について図面を参照して説明する。なお、以下では、サーバを備える通信システムについて説明する。
<通信システムの概略>
図1に示すように、通信システム10は、複数の車両20と、無線通信回線網30と、サーバ40と、を備えている。
【0009】
車両20は、車両通信装置21と、車両制御装置22と、複数の情報取得装置23と、を有している。車両通信装置21は、サーバ40と無線通信回線網30を介して無線通信によって通信する。車両制御装置22は、車両通信装置21の通信を制御する。
【0010】
複数の情報取得装置23は、車両20の各種情報を取得する。複数の情報取得装置23は、GPS受信装置24と、車速センサ25と、である。GPS受信装置24は、車両20の位置を示す位置情報をGPS装置から受信する。位置情報は、例えば、緯度及び経度の座標値である。車速センサ25は、車両20の走行速度を車速として取得する。各情報取得装置23は、取得した車両20の情報を、車両制御装置22へ出力する。
(【0011】以降は省略されています)
この特許をJ-PlatPat(特許庁公式サイト)で参照する
関連特許
個人
安全支援装置
1か月前
株式会社SUBARU
車両
2か月前
日本無線株式会社
船舶システム
1か月前
日本信号株式会社
車両検知装置
3日前
トヨタ自動車株式会社
サーバ
1か月前
ダイハツ工業株式会社
移動支援装置
1か月前
株式会社デンソー
運航管理装置
1か月前
株式会社SUBARU
事故情報収集装置
2か月前
株式会社 ミックウェア
車内環境制御システム
1か月前
株式会社デンソー
運転評価支援装置
10日前
オ,ウォンチョル
交通信号システム
10日前
株式会社SUBARU
車室内異常検知装置
2か月前
トヨタ自動車株式会社
通信システム
11日前
株式会社関電工
車両運行通知システム
1か月前
能美防災株式会社
火災感知器及び火災報知システム
1か月前
本田技研工業株式会社
作業システム
1か月前
グローリー株式会社
監視システム
10日前
コイト電工株式会社
情報処理装置
2か月前
株式会社スターオークス
補助信号機及び信号機
1か月前
株式会社アイシン
運転支援装置
1か月前
トヨタ自動車株式会社
方法
1か月前
オムロン株式会社
センサシステム
1か月前
オムロン株式会社
センサシステム
1か月前
オムロン株式会社
センサシステム
1か月前
能美防災株式会社
着脱式避難誘導灯
2か月前
トヨタ自動車株式会社
情報処理装置
1か月前
能美防災株式会社
表示装置
1か月前
トヨタ自動車株式会社
情報処理装置
1か月前
株式会社中電工
警報システム
1か月前
トヨタ自動車株式会社
路側装置
1か月前
トヨタ自動車株式会社
路側装置
1か月前
トヨタ自動車株式会社
路側装置
1か月前
トヨタ自動車株式会社
走行可否判定システム
1か月前
本田技研工業株式会社
交通安全支援システム
1か月前
トヨタ自動車株式会社
路側装置
1か月前
株式会社京三製作所
交通信号制御機用拡張箱
1か月前
続きを見る
他の特許を見る