TOP
|
特許
|
意匠
|
商標
特許ウォッチ
Twitter
他の特許を見る
10個以上の画像は省略されています。
公開番号
2025174164
公報種別
公開特許公報(A)
公開日
2025-11-28
出願番号
2024080274
出願日
2024-05-16
発明の名称
運転評価支援装置
出願人
株式会社デンソー
代理人
個人
,
個人
主分類
G08G
1/00 20060101AFI20251120BHJP(信号)
要約
【課題】運転者に抵抗感を感じさせにくようにしつつ、運転者をより適切な運転行動に誘導することを可能にする。
【解決手段】自車で用いられる運転評価支援装置20であって、自車の外部の装置である外部装置で評価された自車の適切な運転行動に応じたポイントを、通信を介して取得する外部通信部201と、外部通信部201で取得した、自車のポイントをもとに、自車のポイントについて示す表示を、自車の表示器に行わせる提示処理部2021とを備える。
【選択図】図3
特許請求の範囲
【請求項1】
車両で用いられる運転評価支援装置であって、
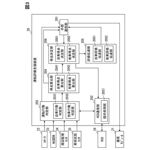
前記車両の外部の装置である外部装置(2B,4,5)で評価された前記車両の適切な運転行動に応じた評価得点を、通信を介して取得する車両側評価取得部(201)と、
前記車両側評価取得部で取得した、前記車両の前記評価得点をもとに、前記車両の前記評価得点について示す表示を、前記車両の表示器(281A)に行わせる車両側表示制御部(2021)とを備える運転評価支援装置。
続きを表示(約 2,300 文字)
【請求項2】
請求項1に記載の運転評価支援装置であって、
前記外部装置(2B)は、前記車両以外の車両である他車両で用いられる装置である運転評価支援装置。
【請求項3】
請求項1に記載の運転評価支援装置であって、
前記外部装置(4,5)は、前記車両の外部で用いられる、人からの、前記車両の適切な運転行動について評価する入力を受け付ける端末装置である運転評価支援装置。
【請求項4】
請求項3に記載の運転評価支援装置であって、
前記端末装置(4)は、歩行者に携帯される携帯端末であり、前記歩行者からの、前記車両の適切な運転行動について評価する入力を受け付けるものである運転評価支援装置。
【請求項5】
請求項1~4のいずれか1項に記載の運転評価支援装置であって、
前記車両の挙動、前記車両の操作状態、前記車両の周辺監視センサ(25)でのセンシング結果を用いた周辺環境の認識結果、前記車両の乗員状態、及び前記車両の乗員から受け付ける入力の少なくともいずれかをもとに、前記車両の適切な運転行動を判定する第1運転行動判定部(2031)と、
前記第1運転行動判定部で判定した前記運転行動に応じた、前記車両についての評価得点を算出する第1得点算出部(2041)と、
前記第1得点算出部で算出した、前記車両の前記評価得点と、前記車両側評価取得部で取得した、前記車両の前記評価得点とから、前記車両についての評価得点を決定する第1得点決定部(2061)とを備え、
前記車両側表示制御部は、前記第1得点決定部で決定した、前記車両の前記評価得点について示す表示を、前記車両の表示器に行わせる運転評価支援装置。
【請求項6】
請求項5に記載の運転評価支援装置であって、
前記第1得点決定部は、前記第1得点算出部で算出した、前記車両の前記評価得点よりも、前記車両側評価取得部で取得した、前記車両の前記評価得点の重み付けを大きくして、前記車両の評価得点を決定する運転評価支援装置。
【請求項7】
車両で用いられる運転評価支援装置であって、
前記車両の挙動、前記車両の操作状態、前記車両の周辺監視センサ(25)でのセンシング結果を用いた周辺環境の認識結果、前記車両の乗員状態、及び前記車両の乗員から受け付ける入力の少なくともいずれかをもとに、前記車両の適切な運転行動を判定する第1運転行動判定部(2031)と、
前記第1運転行動判定部で判定した前記運転行動に応じた、前記車両についての評価得点を算出する第1得点算出部(2041)と、
前記第1得点算出部で算出した、前記車両の前記評価得点を、通信を介して前記車両以外の車両である他車両に送信させることで、前記車両の前記評価得点をもとに、前記車両の前記評価得点について示す表示を、前記他車両の表示器(281B)に行わせる第1評価伝達部(2051)とを備える運転評価支援装置。
【請求項8】
車両で用いられる運転評価支援装置であって、
前記車両の周辺監視センサ(25)でのセンシング結果を用いた周辺環境の認識結果及び前記車両の乗員から受け付ける入力の少なくともいずれかをもとに、前記車両以外の車両である他車両の適切な運転行動を判定する第2運転行動判定部(2032)と、
前記第2運転行動判定部で判定した前記運転行動に応じた、前記他車両についての評価得点を算出する第2得点算出部(2042)と、
前記第2得点算出部で算出した、前記他車両の前記評価得点を、通信を介して前記他車両に送信させることで、前記他車両の前記評価得点をもとに、前記他車両の前記評価得点について示す表示を、前記他車両の表示器(281B)に行わせる第2評価伝達部(2052)とを備える運転評価支援装置。
【請求項9】
車両で用いられる運転評価支援装置であって、
前記車両の周辺監視センサ(25)でのセンシング結果を用いた周辺環境の認識結果及び前記車両の乗員から受け付ける入力の少なくともいずれかをもとに、前記車両以外の車両である他車両の適切な運転行動を判定する第2運転行動判定部(2032)と、
前記第2運転行動判定部で判定した前記運転行動に応じた、前記他車両についての評価得点を算出する第2得点算出部(2042)と、
前記第2得点算出部で算出した、前記他車両の前記評価得点から、前記他車両の評価得点を決定する第2得点決定部(2062)とを備え、
前記第2得点決定部で決定した、前記他車両の前記評価得点について示す表示を、前記車両の表示器(281A)に行わせる車両側表示制御部(2021)とを備える運転評価支援装置。
【請求項10】
車両の外部の端末装置としての運転評価支援装置であって、
ユーザから受け付ける入力をもとに、前記車両の適切な運転行動を判定する第3運転行動判定部(404,503)と、
前記第3運転行動判定部で判定した前記運転行動に応じた、前記車両についての評価得点を算出する第3得点算出部(405,504)と、
前記第3得点算出部で算出した、前記車両の前記評価得点を、通信を介して前記車両に送信させることで、前記車両の前記評価得点をもとに、前記車両の前記評価得点について示す表示を、前記車両の表示器(281)に行わせる第3評価伝達部(406,505)とを備える運転評価支援装置。
(【請求項11】以降は省略されています)
発明の詳細な説明
【技術分野】
【0001】
本開示は、運転評価支援装置に関するものである。
続きを表示(約 2,100 文字)
【背景技術】
【0002】
運転者に適切な運転をさせるための技術が求められている。例えば、特許文献1には、自車の車両状態に基づき自車両の走行中に運転者により実行される運転動作を検出し、運転者に報知を行う車両用運転支援装置が開示されている。特許文献1に開示の技術では、ヒヤリハットに該当する運転動作については、運転後に報知を行うことで、運転者による回顧を支援している。一方、適切な運転動作については、運転中に、適切な運転動作が検出されたことを示す報知を行い、適切な運転動作の実行をより一層促すことを試みている。また、特許文献1に開示の技術では、適切な運転動作の内容説明、及び適切な運転動作の作用効果の内容説明等の報知は、運転終了後に行うことで、運転者による回顧を支援している。
【先行技術文献】
【特許文献】
【0003】
特許第5303393号公報
【発明の概要】
【発明が解決しようとする課題】
【0004】
適切な運転を行うように指示されると、人は本能的に抵抗感を感じてしまう。これに対して、特許文献1に開示の技術では、運転中には、ヒヤリハットに該当する運転動作が検出されたことを示す報知は行わず、適切な運転動作が検出されたことを示す報知のみを行う。これにより、運転者が抵抗感を受けにくくしつつ、運転者の適切な運転行動を促しやすくなると考えられる。しかしながら、特許文献1に開示の技術では、自車の装置による評価が自車の運転者に報知されるだけであり、適切な運転動作を促す効果が十分でなかった。
【0005】
この開示の1つの目的は、運転者に抵抗感を感じさせにくようにしつつ、運転者をより適切な運転行動に誘導することを可能にする運転評価支援装置を提供することにある。
【課題を解決するための手段】
【0006】
上記目的は独立請求項に記載の特徴の組み合わせにより達成され、また、下位請求項は、開示の更なる有利な具体例を規定する。特許請求の範囲に記載した括弧内の符号は、1つの態様として後述する実施形態に記載の具体的手段との対応関係を示すものであって、本開示の技術的範囲を限定するものではない。
【0007】
上記目的を達成するために、本開示の第1の運転評価支援装置は、車両で用いられる運転評価支援装置であって、車両の外部の装置である外部装置(2B,4,5)で評価された車両の適切な運転行動に応じた評価得点を、通信を介して取得する車両側評価取得部(201)と、車両側評価取得部で取得した、車両の評価得点をもとに、車両の評価得点について示す表示を、車両の表示器(281A)に行わせる車両側表示制御部(2021)とを備える。
【0008】
これによれば、自車の外部装置で評価された、自車の適切な運転行動に応じた評価得点について示す表示を、自車の運転者が確認できるようになる。この評価得点は、自車の外部装置で評価されたものであるため、自車の運転者は、他人から認められるという承認欲求が満たされやすくなる。また、適切な運転行動により承認欲求が満たされることから、自車の運転者が自発的に適切な運転行動をとりやすくなる。その結果、運転者に抵抗感を感じさせにくようにしつつ、運転者をより適切な運転行動に誘導することが可能になる。
【0009】
上記目的を達成するために、本開示の第2の運転評価支援装置は、車両で用いられる運転評価支援装置であって、車両の挙動、車両の操作状態、車両の周辺監視センサ(25)でのセンシング結果を用いた周辺環境の認識結果、車両の乗員状態、及び車両の乗員から受け付ける入力の少なくともいずれかをもとに、車両の適切な運転行動を判定する第1運転行動判定部(2031)と、第1運転行動判定部で判定した運転行動に応じた、車両についての評価得点を算出する第1得点算出部(2041)と、第1得点算出部で算出した、車両の評価得点を、通信を介して上述の車両以外の車両である他車両に送信させることで、車両の評価得点をもとに、車両の評価得点について示す表示を、他車両の表示器(281B)に行わせる第1評価伝達部(2051)とを備える。
【0010】
これによれば、自車で判定した、自車の適切な運転行動に応じた評価得点について示す表示が、他車両の乗員に確認できるようになる。よって、自車の運転者にとっては、評価得点について示す表示によって、自車の適切な運転行動を他人に知ってもらうことになる。従って、自車の運転者は、他人から認められるという承認欲求が満たされやすくなる。また、適切な運転行動により承認欲求が満たされることから、自車の運転者が自発的に適切な運転行動をとりやすくなる。その結果、運転者に抵抗感を感じさせにくようにしつつ、運転者をより適切な運転行動に誘導することが可能になる。
(【0011】以降は省略されています)
この特許をJ-PlatPat(特許庁公式サイト)で参照する
関連特許
株式会社デンソーウェーブ
筐体
1か月前
株式会社デンソー
電動機
今日
株式会社デンソー
端子台
2日前
株式会社デンソー
回転機
1か月前
株式会社デンソー
分離体
8日前
株式会社デンソー
電動弁
22日前
株式会社デンソー
電気回路
16日前
株式会社デンソー
光学部材
8日前
株式会社デンソー
電解装置
23日前
株式会社デンソー
熱交換器
21日前
株式会社デンソー
制御装置
24日前
株式会社デンソー
ステータ
1か月前
株式会社デンソー
電子装置
1か月前
株式会社デンソー
電子装置
1か月前
株式会社デンソー
反力装置
1か月前
株式会社デンソー
電子装置
22日前
株式会社デンソー
ステータ
1か月前
株式会社デンソー
光学部材
8日前
株式会社デンソー
摺動機構
21日前
株式会社デンソー
電子装置
1か月前
株式会社デンソー
摺動機構
21日前
株式会社デンソー
電子装置
今日
株式会社デンソー
光学部材
今日
株式会社デンソー
撮像装置
21日前
株式会社デンソー
トランス
今日
株式会社デンソー
検出装置
1か月前
株式会社デンソー
撮像装置
21日前
株式会社デンソーテン
インバータ
1か月前
株式会社デンソー
半導体装置
21日前
株式会社デンソー
ヒータ装置
1か月前
株式会社デンソー
半導体装置
1か月前
株式会社デンソー
熱交換部材
23日前
株式会社デンソー
熱交換装置
1か月前
株式会社デンソー
半導体装置
8日前
株式会社デンソー
半導体装置
23日前
株式会社デンソー
電流センサ
1か月前
続きを見る
他の特許を見る