TOP
|
特許
|
意匠
|
商標
特許ウォッチ
Twitter
他の特許を見る
公開番号
2025153573
公報種別
公開特許公報(A)
公開日
2025-10-10
出願番号
2024056113
出願日
2024-03-29
発明の名称
交通信号制御機用拡張箱
出願人
株式会社京三製作所
代理人
個人
,
個人
主分類
G08G
1/095 20060101AFI20251002BHJP(信号)
要約
【課題】交通信号制御機に予め設けられている柱体用取付孔を利用して交通信号制御機の筐体と一体化する交通信号制御機用拡張箱を提供する。
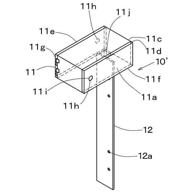
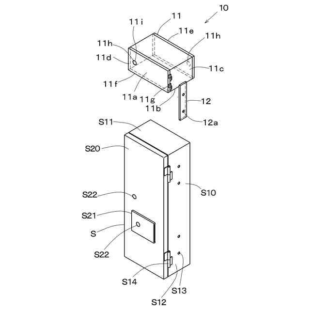
【解決手段】交通信号制御機用拡張箱10は既設の交通信号制御機Sに後付けで取り付け可能であり、横長の直方体状をした主箱部11と、この主箱部11の一方の側面部11cに近傍する個所のみから垂下する固定用板部12とから構成されている。主箱部11の底面11bを交通信号制御機Sの頂面部S11に載置した後、交通信号制御機Sの柱体用取付孔S13と固定用板部12の貫通孔12aとをボルトによって固定する。交通信号制御機用拡張箱10は、開閉扉11dを介して主箱部11の内部に収納機器を収納することができ、収納機器を使用する際に開閉扉11dの施錠部11iを開錠して収納機器を取り出すことになる。
【選択図】図1
特許請求の範囲
【請求項1】
既存の交通信号制御機の頂面部に載置し、後付けで一体になるように取り付け可能な交通信号制御機用拡張箱であって、
横長の直方体状であり、前記頂面部に載置した際に前記頂面部の全体を覆う底面部を備えた主箱部と、該底面部の短辺に沿う前記主箱部の一方の側面部に近傍する個所のみから垂下し、前記側面部と平行する矩形状の固定用板部とから構成され、
前記主箱部の底面部の長手方向に沿う一対の側面には、正面及び背面から見た際に右側に配置される蝶番を介して開閉する開閉扉がそれぞれ設けられており、
一対の前記開閉扉の表面には、施錠部を取り付け可能とする錠取付孔が設けられており、
一方の開閉扉には前記施錠部を取り付けて開閉可能とし、他方の開閉扉には前記錠取付孔を閉塞する閉塞部を取り付けて開閉不可とし、
下方に延出する前記固定用板部には、前記交通信号制御機の左右の側面に設けられた柱体用取付孔と連通可能な貫通孔が設けられていることを特徴とする交通信号制御機用拡張箱。
続きを表示(約 610 文字)
【請求項2】
前記底面部の角隅部から垂下し、前記主箱部と内部が連通する縦長の長方形状の副箱部を備え、
該副箱部の内側面及び前記固定用板部の外側面の一部が連結しており、
前記副箱部と連結する個所以外の前記固定用板部に、前記貫通孔が設けられていることを特徴とする請求項1に記載の交通信号制御機用拡張箱。
【請求項3】
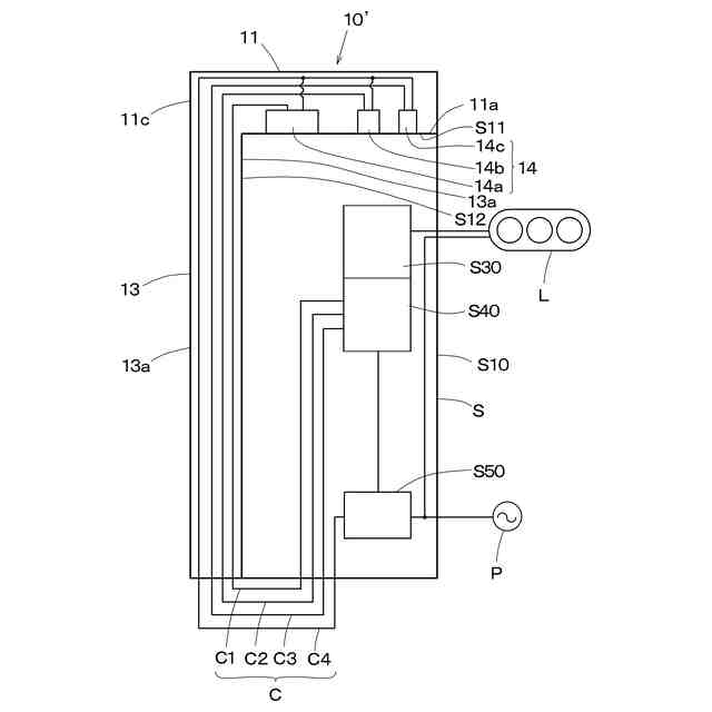
前記主箱部の内部には、前記交通信号制御機と接続する内設機器が設置されていることを特徴とする請求項2に記載の交通信号制御機用拡張箱。
【請求項4】
前記内設機器は無線通信部であることを特徴とする請求項3に記載の交通信号制御機用拡張箱。
【請求項5】
前記無線通信部にはGPS用通信部、BLE用通信部、及び携帯通信用通信部のうち少なくとも1つを含むことを特徴とする請求項4に記載の交通信号制御機用拡張箱。
【請求項6】
前記副箱部には、前記内設機器と接続したケーブルが挿通されており、前記副箱部の下端から延在する前記ケーブルは、前記交通信号制御機の伝送部に接続されていることを特徴とする請求項3~5の何れか1項に記載の交通信号制御機用拡張箱。
【請求項7】
少なくとも前記主箱部は、電波を遮蔽し難い素材によって作製されていることを特徴とする請求項3~5の何れか1項に記載の交通信号制御機用拡張箱。
発明の詳細な説明
【技術分野】
【0001】
本発明は、交差点に設置される交通信号灯器の点灯制御を行う交通信号制御機に取り付け可能とする交通信号制御機用拡張箱に関するものである。
続きを表示(約 1,300 文字)
【背景技術】
【0002】
特許文献1には、蝶番を介して開閉扉を開閉可能とする信号制御機が開示されており、特許文献1の図12に示す信号制御機は、交差点近傍の柱体に対して、右側又は左側の何れかにボルトを取り外して設置されることになる。
【0003】
信号制御機の設置は、取り付ける側の柱体用取付孔から閉塞用ボルトを取り外した後に、これらの柱体用取付孔に固定具を取り付けて、固定具を介して柱体に信号制御機が固定されることになる。
【0004】
この既存の信号制御機に対して、別途に各種の追加ユニットを追加する場合に、追加ユニットを設置するための拡張箱を信号制御機に取り付ける必要が生ずる場合がある。
【0005】
このような場合に、拡張箱は省スペース化、雨風の腐食性の低減等の理由により既存の信号制御機と一体化する構造にすることが好ましい。
【先行技術文献】
【特許文献】
【0006】
特開2022-26187号公報
【発明の概要】
【発明が解決しようとする課題】
【0007】
しかし、上述のように既存の信号制御機に対して、後付けで一体となる拡張箱を取り付ける際に、既設の信号制御機に対して溶接加工や側壁板の穿孔加工を行うと、柱体に対する信号制御機の左側、右側の取り付けに応じて作業手順が異なり、かつ設置現場において信号制御機等を加工することが困難である。
【0008】
また、拡張箱を信号制御機の直上に信号制御機同様に柱体に取り付けることも可能であるが、この拡張箱にも左右に柱体用取付孔及び閉塞用ボルトを設ける必要があり、柱体に取り付けるのに手間を有する。
【0009】
本発明の目的は、上述の課題を解消し、交通信号制御機に対して、予め設けられている柱体取付用の取付孔を利用して交通信号制御機の筐体と一体化する交通信号制御機用拡張箱を提供することにある。
【課題を解決するための手段】
【0010】
上記目的を達成するための本発明に係る交通信号制御機用拡張箱は、既存の交通信号制御機の頂面部に載置し、後付けで一体になるように取り付け可能な交通信号制御機用拡張箱であって、横長の直方体状であり、前記頂面部に載置した際に前記頂面部の全体を覆う底面部を備えた主箱部と、該底面部の短辺に沿う前記主箱部の一方の側面部に近傍する個所のみから垂下し、前記側面部と平行する矩形状の固定用板部とから構成され、前記主箱部の底面部の長手方向に沿う一対の側面には、正面及び背面から見た際に右側に配置される蝶番を介して開閉する開閉扉がそれぞれ設けられており、一対の前記開閉扉の表面には、施錠部を取り付け可能とする錠取付孔が設けられており、一方の開閉扉には前記施錠部を取り付けて開閉可能とし、他方の開閉扉には前記錠取付孔を閉塞する閉塞部を取り付けて開閉不可とし、下方に延出する前記固定用板部には、前記交通信号制御機の左右の側面に設けられた柱体取付用の錠取付孔と連通可能な貫通孔が設けられていることを特徴とする。
【発明の効果】
(【0011】以降は省略されています)
この特許をJ-PlatPat(特許庁公式サイト)で参照する
関連特許
株式会社京三製作所
生成装置
1か月前
株式会社京三製作所
可動式ホーム柵
1か月前
株式会社京三製作所
制御器の設計方法
11日前
株式会社京三製作所
自動列車運転装置
13日前
株式会社京三製作所
車上装置及び判定方法
13日前
株式会社京三製作所
交通信号制御機用拡張箱
1か月前
個人
安全支援装置
13日前
日本精機株式会社
警報システム
2か月前
個人
自動電動車椅子
2か月前
株式会社SUBARU
車両
1か月前
エムケー精工株式会社
車両誘導装置
2か月前
スズキ株式会社
運転支援装置
2か月前
ニッタン株式会社
発信機
3か月前
ニッタン株式会社
検知器
2か月前
個人
磁気路上での車両の路線離脱防御
1か月前
株式会社国際電気
防災システム
2か月前
ニッタン株式会社
検知器
2か月前
ニッタン株式会社
検知器
2か月前
ニッタン株式会社
検知器
1か月前
日本無線株式会社
船舶システム
14日前
ニッタン株式会社
発信機
3か月前
トヨタ自動車株式会社
車両
3か月前
大阪瓦斯株式会社
音声出力システム
1か月前
日本信号株式会社
異常走行検出装置
1か月前
トヨタ自動車株式会社
サーバ
22日前
株式会社SUBARU
運転支援装置
1か月前
株式会社小糸製作所
移動体検出装置
2か月前
トヨタ自動車株式会社
サーバ
1か月前
ダイハツ工業株式会社
移動支援装置
1か月前
株式会社デンソー
運航管理装置
1か月前
三菱自動車工業株式会社
制御システム
1か月前
株式会社小糸製作所
車両検出システム
2か月前
株式会社CCT
通信装置及び表示方法
1か月前
日本精機株式会社
報知装置及び報知システム
2か月前
株式会社SUBARU
事故情報収集装置
1か月前
株式会社 ミックウェア
車内環境制御システム
1か月前
続きを見る
他の特許を見る