TOP
|
特許
|
意匠
|
商標
特許ウォッチ
Twitter
他の特許を見る
公開番号
2025151263
公報種別
公開特許公報(A)
公開日
2025-10-09
出願番号
2024052594
出願日
2024-03-27
発明の名称
車両
出願人
株式会社SUBARU
代理人
個人
主分類
G08G
1/16 20060101AFI20251002BHJP(信号)
要約
【課題】走行中に検知した危険状態の発生要因を運転者に認知させる。
【解決手段】車両1は、運転中に作動した警告および運転支援機能に関する情報と、警告および運転支援機能が作動したときの運転状況に関する情報とを紐づけた危険運転情報を記憶する危険運転情報記憶部121と、危険運転情報に基づいて運転の危険度を算出する運転危険度算出部112と、運転危険度算出部112において算出した運転の危険度が予め定めた所定値より大きいと判定する場合には、危険運転情報に関連する事故画像および事故動画を含む事故情報を表示する表示部700と、を備えている。表示部700は、車両1が停止または走行を終了した場合に、事故情報を表示する。
【選択図】図6
特許請求の範囲
【請求項1】
運転中に作動した警告および運転支援機能に関する情報と、前記警告および前記運転支援機能が作動したときの運転状況に関する情報とを紐づけた危険運転情報を記憶する危険運転情報記憶部と、
前記危険運転情報に基づいて運転の危険度を算出する運転危険度算出部と、
前記運転危険度算出部において算出した前記運転の危険度が予め定めた所定値より大きいと判定する場合には、前記危険運転情報に関連する事故画像および事故動画を含む事故情報を表示する表示部と、
を備えたことを特徴とする車両。
続きを表示(約 610 文字)
【請求項2】
前記表示部は、車両が停止または走行を終了した場合に、前記事故情報を表示することを特徴とする請求項1に記載の車両。
【請求項3】
前記危険運転情報は、発生要因に関する情報と、交通違反の有無に関する情報と、作動場所に関する情報と、を含み、
前記運転危険度算出部は、前記発生要因に関する情報と、前記交通違反の有無に関する情報と、前記作動場所に関する情報とを点数化して前記危険度を算出することを特徴とする請求項1または2に記載の車両。
【請求項4】
ディスプレイと、コントローラと、を含み、
前記コントローラは、1つまたは複数のプロセッサと、前記1つまたは複数のプロセッサに通信可能に接続される1つまたは複数のメモリと、を備え、
前記1つまたは複数のメモリは、
運転中に作動した警告および運転支援機能に関する情報と、前記警告および前記運転支援機能が作動したときの運転状況に関する情報とを紐づけた危険運転情報を記憶するストレージを含み、
前記1つまたは複数のプロセッサは、
前記危険運転情報に基づいて運転の危険度を算出し、
算出した前記運転の危険度が予め定めた所定値より大きいと判定する場合には、前記危険運転情報に関連する事故画像および事故動画を含む事故情報を前記ディスプレイに表示させることを特徴とする車両。
発明の詳細な説明
【技術分野】
【0001】
本発明は、車両に関する。
続きを表示(約 1,700 文字)
【背景技術】
【0002】
近年、車両自体が車両周囲の情報を把握し、運転者に代わって車両を制御するADAS(Advanced DriverAssistance Systems)機能を備えた車両が実用化されている。
例えば、この種の技術として、前方を走行する先行車両の走行状態を取得して、自車両の危険状態を判定し、自車両の走行速度等を制御するとともに運転者に対して危険が発生したことを報知する技術が開示されている(例えば、特許文献1参照)。
【先行技術文献】
【特許文献】
【0003】
特開2020-087008号公報
【発明の概要】
【発明が解決しようとする課題】
【0004】
しかしながら、上述した技術においては、検出した危険状態に関する情報や作動したADAS機能に関する情報等の警告情報が表示部に表示されるものの、運転者は、警告内容と作動要因とを同時に把握することが困難であるという課題があった。
また、上述した技術においては、検出した危険状態に関する情報や作動したADAS機能に関する情報等の警告情報が表示部に表示されるものの、運転者は、表示された警告情報を運転中には凝視することができないため、危険状態がなぜ検出されたかを理解することができない場合があるという課題があった。
【0005】
そこで、本発明は、上述の課題に鑑みてなされたものであって、走行中に検知した危険状態の発生要因を運転者に認知させる車両を提供することを目的とする。
【課題を解決するための手段】
【0006】
形態1;本発明の1またはそれ以上の実施形態は、運転中に作動した警告および運転支援機能に関する情報と、前記警告および前記運転支援機能が作動したときの運転状況に関する情報とを紐づけた危険運転情報を記憶する危険運転情報記憶部と、前記危険運転情報に基づいて運転の危険度を算出する運転危険度算出部と、前記運転危険度算出部において算出した前記運転の危険度が予め定めた所定値より大きいと判定する場合には、前記危険運転情報に関連する事故画像および事故動画を含む事故情報を表示する表示部と、を備えたことを特徴とする車両を提案している。
【0007】
形態2;本発明の1またはそれ以上の実施形態は、ディスプレイと、コントローラと、を含み、前記コントローラは、1つまたは複数のプロセッサと、前記1つまたは複数のプロセッサに通信可能に接続される1つまたは複数のメモリと、を備え、前記1つまたは複数のメモリは、運転中に作動した警告および運転支援機能に関する情報と、前記警告および前記運転支援機能が作動したときの運転状況に関する情報とを紐づけた危険運転情報を記憶するストレージを含み、前記1つまたは複数のプロセッサは、前記危険運転情報に基づいて運転の危険度を算出し、算出した前記運転の危険度が予め定めた所定値より大きいと判定する場合には、前記危険運転情報に関連する事故画像および事故動画を含む事故情報を前記ディスプレイに表示させることを特徴とする車両を提案している。
【発明の効果】
【0008】
本発明の1またはそれ以上の実施形態によれば、走行中に検知した危険状態の発生要因を運転者に認知させることができるという効果がある。
【図面の簡単な説明】
【0009】
本発明の実施形態に係る車両の構成を示す図である。
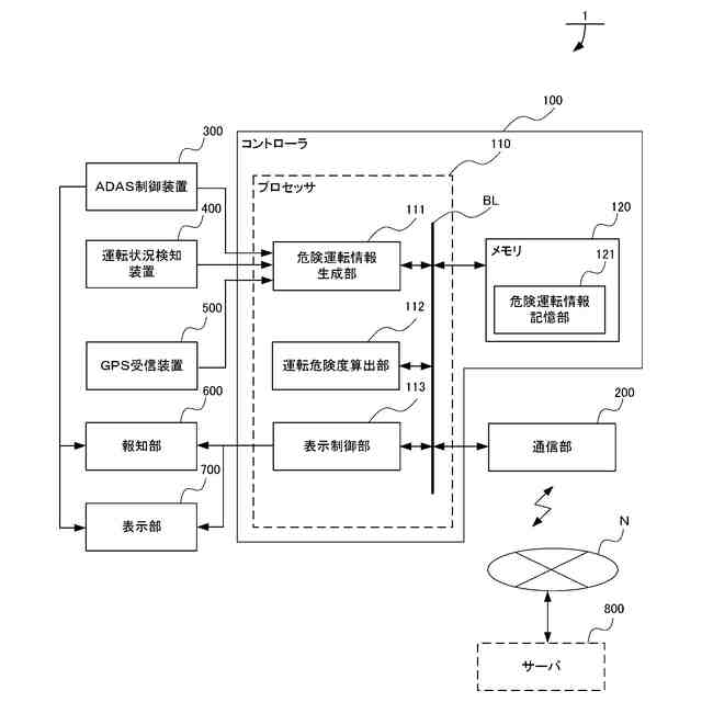
本発明の実施形態に係る車両のコントローラおよびプロセッサの構成を示す図である。
本発明の実施形態に係る車両が取得する危険運転情報を示す図である。
本発明の実施形態に係る車両が算出する危険度に関する情報を示す図である。
本発明の実施形態に係る車両が表示させる事故情報の表示態様の一例を示す図である。
本発明の実施形態に係る車両の処理フローを示す図である。
【発明を実施するための形態】
【0010】
図1から図6を用いて、本発明の実施形態に係る車両1について説明する。
(【0011】以降は省略されています)
この特許をJ-PlatPat(特許庁公式サイト)で参照する
関連特許
株式会社SUBARU
車両
1日前
株式会社SUBARU
車両
1か月前
株式会社SUBARU
車両
1日前
株式会社SUBARU
車両
2日前
株式会社SUBARU
車両用シート
9日前
株式会社SUBARU
整流システム
1か月前
株式会社SUBARU
車体前部構造
23日前
株式会社SUBARU
車体前部構造
1か月前
株式会社SUBARU
運転支援装置
1か月前
株式会社SUBARU
車両用シート
9日前
株式会社SUBARU
車両用シート
9日前
株式会社SUBARU
車両前部構造
24日前
株式会社SUBARU
操舵支援装置
2日前
株式会社SUBARU
操作システム
22日前
株式会社SUBARU
車体前部構造
23日前
株式会社SUBARU
車体前部構造
1か月前
株式会社SUBARU
加湿システム
1日前
株式会社SUBARU
車両前部構造
24日前
株式会社SUBARU
車両前部構造
24日前
株式会社SUBARU
排気浄化装置
1日前
株式会社SUBARU
車両前部構造
24日前
株式会社SUBARU
車体前部構造
1か月前
株式会社SUBARU
シフト制御装置
9日前
株式会社SUBARU
エンジン制御装置
22日前
株式会社SUBARU
車両用電池パック
9日前
株式会社SUBARU
車両用空力制御装置
2日前
株式会社SUBARU
ドアロック制御装置
23日前
株式会社SUBARU
車両用周辺監視装置
1か月前
株式会社SUBARU
ドアロックシステム
1日前
株式会社SUBARU
電波吸収体の製造方法
15日前
株式会社SUBARU
電極チップ導入用治具
1日前
株式会社SUBARU
車両用エアバッグ装置
1日前
株式会社SUBARU
車両の車高自動調整装置
1か月前
株式会社SUBARU
運転補助装置および車両
1か月前
株式会社SUBARU
カーテンエアバッグ装置
25日前
株式会社SUBARU
インフレータブル構造体
9日前
続きを見る
他の特許を見る