TOP
|
特許
|
意匠
|
商標
特許ウォッチ
Twitter
他の特許を見る
公開番号
2025140603
公報種別
公開特許公報(A)
公開日
2025-09-29
出願番号
2024040113
出願日
2024-03-14
発明の名称
可動式ホーム柵
出願人
株式会社京三製作所
代理人
個人
,
個人
,
個人
主分類
B61B
1/02 20060101AFI20250919BHJP(鉄道)
要約
【課題】可動式ホーム柵のタイミングベルトに係る調整作業を可能とする新たな技術を提供すること。
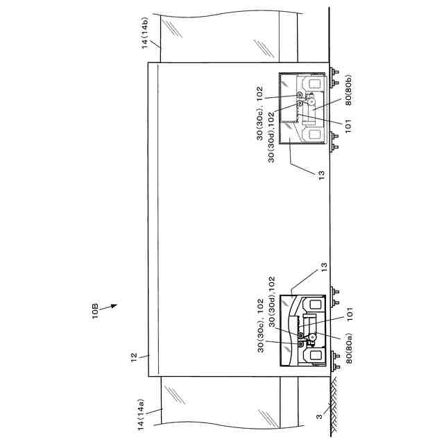
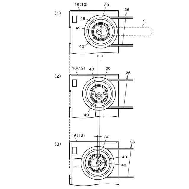
【解決手段】可動式ホーム柵10は、戸袋部12に設けられた駆動プーリーおよび従動プーリー30に架け渡されたタイミングベルト26を備える。タイミングベルト26には、可動柵が連結される。従動プーリー30は、締結ボルト49の軸に対して偏心した偏心軸部40を介して戸袋部12の所定位置に締結される。偏心軸部40は工具係合部48を有し、締結ボルト49を軸として偏心軸部40を工具で回転させて被締結姿勢を変更できる。偏心軸部40の被締結姿勢を変更することで従動プーリー30の回転軸位置と駆動プーリーとの距離を変化させて、タイミングベルト26の張設に係る調整ができる。
【選択図】図2
特許請求の範囲
【請求項1】
戸袋部に設けられた駆動プーリーおよび従動プーリーと、前記駆動プーリーおよび前記従動プーリーに架け渡されたタイミングベルトと、を備え、前記タイミングベルトを駆動することで可動柵を開閉する可動式ホーム柵であって、
前記従動プーリーは、
プラットホーム側から諦緩可能に締結ボルトが挿通されて前記戸袋部の所定位置に締結され、被締結姿勢を変更可能な偏心軸部と、
前記タイミングベルトが架け渡され、前記偏心軸部を軸受として回転するアイドルプーリーと、
を有する、
可動式ホーム柵。
続きを表示(約 1,100 文字)
【請求項2】
前記アイドルプーリーは、内輪部と外輪部との間に転動体を有するベアリング構造体であり、
前記偏心軸部は、前記締結によって前記内輪部を前記戸袋部との間で挟持する、
請求項1に記載の可動式ホーム柵。
【請求項3】
前記偏心軸部は、前記内輪部に挿通される本体部を有し、
前記内輪部と前記本体部とは嵌合する形状である、
請求項2に記載の可動式ホーム柵。
【請求項4】
可動柵に一端部が固定されたタイミングベルトを駆動することで前記可動柵を開閉する可動式ホーム柵であって、
前記可動柵は、
前記一端部をクランプするベルトクランプと、
前記ベルトクランプに螺合し、螺合方向を前記タイミングベルトの張設を調整する方向とする調整ボルトと、
を有する、
可動式ホーム柵。
【請求項5】
前記可動柵は、前記タイミングベルトを挿通するガイド溝部を有し、
前記ベルトクランプは、前記ガイド溝部と遊嵌する嵌合部を有する、
請求項4に記載の可動式ホーム柵。
【請求項6】
前記可動柵は、前記ガイド溝部の戸尻側にボルトストッパを有し、
前記調整ボルトは、前記ボルトストッパの戸尻側側面から挿入される、
請求項5に記載の可動式ホーム柵。
【請求項7】
戸袋部に設けられた駆動プーリーおよび従動プーリーと、前記駆動プーリーおよび前記従動プーリーに架け渡されたタイミングベルトと、を備え、前記タイミングベルトを駆動することで可動柵を開閉する可動式ホーム柵であって、
前記可動柵は、
前記タイミングベルトの一端部をクランプするベルトクランプと、
前記ベルトクランプに螺合し、螺合方向を前記タイミングベルトの張設を調整する方向とする調整ボルトと、
を有する第1調整機構を備え、
前記従動プーリーは、
プラットホーム側から諦緩可能に締結ボルトが挿通されて前記戸袋部の所定位置に締結され、被締結姿勢を変更可能な偏心軸部と、
前記タイミングベルトが架け渡され、前記偏心軸部を軸受として回転するアイドルプーリーと、
を有する第2調整機構を備える、
可動式ホーム柵。
【請求項8】
前記戸袋部は、プラットホーム側に取り外し可能なカバーを有し、
前記従動プーリーは、前記カバーを取り外すことで前記被締結姿勢を変更可能に露出する、
請求項7に記載の可動式ホーム柵。
発明の詳細な説明
【技術分野】
【0001】
本発明は、可動式ホーム柵に関する。
続きを表示(約 1,200 文字)
【背景技術】
【0002】
タイミングベルト(歯付ベルト、コグベルト)を使用して可動柵を戸袋部から出し入れして開閉する可動式ホーム柵が知られている。このような可動式ホーム柵においてタイミングベルトの張設に係る調整装置の技術が特許文献1に開示されている。
【先行技術文献】
【特許文献】
【0003】
特開2019-138344号公報
【発明の開示】
【発明が解決しようとする課題】
【0004】
しかしながら、上述した特許文献1の調整装置は、タイミングベルトの一端と他端とを繋げてループ状として使用する場合の一端と他端との間の間隔を調整可能とする装置である。そのため、特許文献1の技術を適用可能な可動式ホーム柵は限られていた。
【0005】
本発明が解決しようとする課題は、可動式ホーム柵のタイミングベルトに係る調整作業を可能とする新たな技術を提供すること、である。
【課題を解決するための手段】
【0006】
上記課題を解決するための第1の形態は、戸袋部に設けられた駆動プーリーおよび従動プーリーと、前記駆動プーリーおよび前記従動プーリーに架け渡されたタイミングベルトと、を備え、前記タイミングベルトを駆動することで可動柵を開閉する可動式ホーム柵であって、前記従動プーリーは、プラットホーム側から諦緩可能に締結ボルトが挿通されて前記戸袋部の所定位置に締結され、被締結姿勢を変更可能な偏心軸部と、前記タイミングベルトが架け渡され、前記偏心軸部を軸受として回転するアイドルプーリーと、を有する、可動式ホーム柵である。
【0007】
第2の形態は、第1の形態の可動式ホーム柵において、前記アイドルプーリーは、内輪部と外輪部との間に転動体を有するベアリング構造体であり、前記偏心軸部は、前記締結によって前記内輪部を前記戸袋部との間で挟持する可動式ホーム柵である。
【0008】
第3の形態は、第2の形態の可動式ホーム柵において、前記偏心軸部は、前記内輪部に挿通される本体部を有し、前記内輪部と前記本体部とは嵌合する形状である可動式ホーム柵である。
【0009】
第1から第3の何れかの形態の可動式ホーム柵では、偏心軸部の被締結姿勢を変更することで従動プーリーと駆動プーリーとの相対位置を変更させることで、簡単に、タイミングベルトの張設に係る調整作業を行うことが可能となる。
【0010】
第4の形態は、可動柵に一端部が固定されたタイミングベルトを駆動することで前記可動柵を開閉する可動式ホーム柵であって、前記可動柵は、前記一端部をクランプするベルトクランプと、前記ベルトクランプに螺合し、螺合方向を前記タイミングベルトの張設を調整する方向とする調整ボルトと、を有する、可動式ホーム柵である。
(【0011】以降は省略されています)
この特許をJ-PlatPat(特許庁公式サイト)で参照する
関連特許
株式会社京三製作所
生成装置
1か月前
株式会社京三製作所
状態監視装置
2日前
株式会社京三製作所
パルス電源装置
2日前
株式会社京三製作所
パルス電源装置
2日前
株式会社京三製作所
制御器の設計方法
15日前
株式会社京三製作所
自動列車運転装置
17日前
株式会社京三製作所
車上装置及び判定方法
17日前
日本信号株式会社
検査装置
23日前
個人
車両及び走行システム
7か月前
日本信号株式会社
検査装置
11か月前
日本信号株式会社
ホーム柵
2か月前
日本信号株式会社
ホーム柵
3か月前
近畿車輌株式会社
耐火床構造
1か月前
日本車輌製造株式会社
鉄道車両
1か月前
日本信号株式会社
ホーム柵装置
7か月前
カヤバ株式会社
鉄道車両用制振装置
11か月前
近畿車輌株式会社
鉄道車両の床構造
11か月前
近畿車輌株式会社
鉄道車両の床構造
11か月前
ナブテスコ株式会社
ホームドア装置
3か月前
日本信号株式会社
列車接近警報装置
3か月前
川崎車両株式会社
鉄道車両用パネル
9か月前
近畿車輌株式会社
鉄道車両の床構造
11か月前
保線機器整備株式会社
保線用カート
9か月前
日本車輌製造株式会社
台車組立装置
5か月前
日本ケーブル株式会社
索道の支索引留め装置
3か月前
日本信号株式会社
踏切道監視システム
11か月前
株式会社東芝
台車搬送装置
1か月前
株式会社ダイフク
搬送車
6か月前
日本信号株式会社
ホーム安全システム
7か月前
日本信号株式会社
物体検知装置
7か月前
日本信号株式会社
ホームドア制御装置
4か月前
ヤマハ発動機株式会社
無人搬送車
7か月前
株式会社日立製作所
鉄道車両
1か月前
株式会社ダイフク
搬送設備
7か月前
ヤマハ発動機株式会社
無人搬送車
5か月前
ヤマハ発動機株式会社
無人搬送車
7か月前
続きを見る
他の特許を見る