TOP
|
特許
|
意匠
|
商標
特許ウォッチ
Twitter
他の特許を見る
公開番号
2025171547
公報種別
公開特許公報(A)
公開日
2025-11-20
出願番号
2024077008
出願日
2024-05-10
発明の名称
状態監視装置
出願人
株式会社京三製作所
代理人
個人
,
個人
,
個人
主分類
B61L
23/00 20060101AFI20251113BHJP(鉄道)
要約
【課題】計測データの一部を用いる簡易な方法でありながら、三次元センサの状態を適切に判定できる技術を実現すること。
【解決手段】状態監視装置1は、三次元センサ60を有するホーム柵50用の障害物検知装置で周期的に計測される検知範囲内の三次元計測データのうち、ホーム柵50の閉動作後であって列車の発車前である所定タイミングにおける取得計測データを取得し、取得計測データのうち、検知範囲内の特定箇所に係る判定対象データを抽出し、判定対象データに基づいて、三次元センサ60の状態を判定する。
【選択図】図1
特許請求の範囲
【請求項1】
三次元センサを有するホーム柵用の障害物検知装置で周期的に計測される検知範囲内の三次元計測データのうち、ホーム柵の閉動作後であって列車の発車前である所定タイミングにおける取得計測データを取得する取得手段と、
前記取得計測データのうち、前記検知範囲内の特定箇所に係る判定対象データを抽出する抽出手段と、
前記判定対象データに基づいて、前記三次元センサの状態を判定する判定手段と、
を備える状態監視装置。
続きを表示(約 800 文字)
【請求項2】
前記検知範囲は、当該ホーム柵に対応する駅停車時の前記列車の扉部を含む範囲として定められており、
前記特定箇所は、当該ホーム柵に対応する駅停車時の前記列車の前記扉部を除く車両本体側面に対応する箇所となる車両本体側面対応箇所を少なくとも含む、
請求項1に記載の状態監視装置。
【請求項3】
前記車両本体側面対応箇所は、停止位置目標に停車した場合の前記列車の前記扉部から、前記列車の長手方向に所定距離離れた位置に対応する箇所である、
請求項2に記載の状態監視装置。
【請求項4】
前記特定箇所は、プラットホーム上面の所定箇所を少なくとも含む、
請求項1に記載の状態監視装置。
【請求項5】
前記ホーム柵から入力される動作信号に基づき前記所定タイミングを判定するタイミング判定手段、
を更に備える請求項1に記載の状態監視装置。
【請求項6】
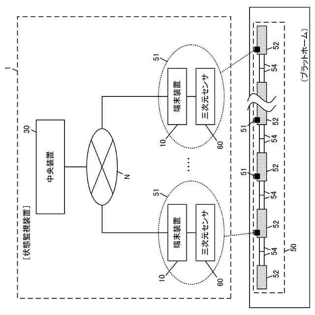
同一のプラットホームに設置されたホーム柵毎の端末装置と、
中央装置と、
を具備し、
前記端末装置は、それぞれ、
前記取得手段と、
前記抽出手段と、
前記列車の発車後であって次列車の到着前の列車非在線期間における所定の送信タイミングで、前記抽出手段により抽出された前記判定対象データを前記中央装置へ送信する送信制御手段と、
を有し、
前記中央装置は、前記端末装置毎に、当該端末装置から受信した前記判定対象データに基づいて前記三次元センサの状態を判定する前記判定手段、を有する、
請求項1~5の何れか一項に記載の状態監視装置。
【請求項7】
前記送信タイミングは、前記端末装置間で非共通のタイミングである、
請求項5に記載の状態監視装置。
発明の詳細な説明
【技術分野】
【0001】
本発明は、状態監視装置に関する。
続きを表示(約 2,000 文字)
【背景技術】
【0002】
ホーム柵が設置された鉄道駅のプラットホームにおいては、ホーム柵の付属機器として、車両ドアへの挟まりや、ホーム柵と車両との間に取り残された人や物体等の障害物を検知するための障害物検知装置がホーム柵の開口部毎に設けられている。障害物検知装置では、LiDARセンサ等のような照射方向を検知範囲内で首振り的に走査し、照射方向毎の各反射点までの距離を求めることで検知範囲内に存在する物体の三次元形状のデータ(三次元計測データ)を計測する三次元センサが良く用いられている。三次元センサについては、霧や雨等の水滴や粉塵等の影響を受けた場合に計測距離(測距値)に変動(誤差)が生じ得る。特に屋外駅では、粉塵や水滴等で三次元センサの照射面が汚れると、照射光がその汚れで反射してしまって計測距離(測距値)が小さく(近く)なる。そのため、検知範囲内に存在し得る物体を正しく判定することができず、障害物の検知精度が低下するという課題があった。
【0003】
定期的な保守作業において照射面の点検・清掃が行われるが、保守作業が行われる間隔よりも早くに照射面が汚れると、それ以降の検知精度が低下する。そこで、機械的に照射面の汚れを検出する技術が求められていた。従来の技術としては、例えば、ホーム柵の扉が全閉状態のときの計測結果から三次元センサの状態を判断する技術が知られている(例えば、特許文献1等)。
【先行技術文献】
【特許文献】
【0004】
特開2023-66977号公報
【発明の概要】
【発明が解決しようとする課題】
【0005】
しかしながら、従来の技術は、検知範囲の計測データ全体を用いて三次元センサの状態を判定する技術であった。計測データの一部を用いる簡易な方法でありながら、照射面の汚れの有無等の三次元センサの状態を適切に判定できる技術が望まれていた。
【0006】
本発明が解決しようとする課題は、計測データの一部を用いる簡易な方法でありながら、三次元センサの状態を適切に判定できる技術を実現することである。
【課題を解決するための手段】
【0007】
上記課題を解決するための第1の発明は、
三次元センサを有するホーム柵用の障害物検知装置で周期的に計測される検知範囲内の三次元計測データのうち、ホーム柵の閉動作後であって列車の発車前である所定タイミングにおける取得計測データを取得する取得手段(例えば、図8の取得部102)と、
前記取得計測データのうち、前記検知範囲内の特定箇所に係る判定対象データを抽出する抽出手段(例えば、図8の抽出部106)と、
前記判定対象データに基づいて、前記三次元センサの状態を判定する判定手段(例えば、図8の判定部402)と、
を備える状態監視装置である。
【0008】
第1の発明によれば、ホーム柵付近の物体検知のための三次元センサの照射面の汚れ等の状態の判定を、計測データの一部を用いる簡易な方法でありながら適切に実現することができる。つまり、取得計測データを取得する所定タイミングは、ホーム柵の閉動作後であって列車の発車前におけるタイミングであり、車両とホーム柵との間に人や物体等の障害物が存在しないと想定されるタイミングである。また、判定対象データは、所定タイミングにおける三次元センサの取得計測データの全てではなく、特定箇所に係る一部のデータである。これにより、照射面の汚れの有無等の三次元センサの状態を、一部の計測データである判定対象データに基づき、適切に判定することが可能となる。
【0009】
第2の発明は、上述の発明において、
前記検知範囲は、当該ホーム柵に対応する駅停車時の前記列車の扉部を含む範囲として定められており、
前記特定箇所は、当該ホーム柵に対応する駅停車時の前記列車の前記扉部を除く車両本体側面に対応する箇所となる車両本体側面対応箇所を少なくとも含む、
状態監視装置である。
【0010】
一般的に車両本体側面の表面は平滑な平面であるが、車両の扉部の外側面は車両本体側面に対してやや奥まった位置にあり段差がある。このため、第2の発明のように、特定箇所とする車両本体側面対応箇所を、車両本体側面のうち、ホーム柵に対応する駅停車時の列車の扉部を除いた箇所とすることで、判定対象データは、原則、平滑平面形状を計測した三次元計測データとなる。これにより、三次元センサの状態の判定が容易となるとともに、少ないデータ量であっても適切な判定が可能となる。
(【0011】以降は省略されています)
この特許をJ-PlatPat(特許庁公式サイト)で参照する
関連特許
日本信号株式会社
検査装置
23日前
個人
車両及び走行システム
7か月前
日本信号株式会社
検査装置
11か月前
日本信号株式会社
ホーム柵
2か月前
日本信号株式会社
ホーム柵
3か月前
近畿車輌株式会社
耐火床構造
1か月前
日本車輌製造株式会社
鉄道車両
1か月前
日本信号株式会社
ホーム柵装置
7か月前
カヤバ株式会社
鉄道車両用制振装置
11か月前
近畿車輌株式会社
鉄道車両の床構造
11か月前
近畿車輌株式会社
鉄道車両の床構造
11か月前
ナブテスコ株式会社
ホームドア装置
3か月前
日本信号株式会社
列車接近警報装置
3か月前
川崎車両株式会社
鉄道車両用パネル
9か月前
近畿車輌株式会社
鉄道車両の床構造
11か月前
保線機器整備株式会社
保線用カート
9か月前
日本車輌製造株式会社
台車組立装置
5か月前
日本ケーブル株式会社
索道の支索引留め装置
3か月前
日本信号株式会社
踏切道監視システム
11か月前
株式会社東芝
台車搬送装置
1か月前
株式会社ダイフク
搬送車
6か月前
日本信号株式会社
ホーム安全システム
7か月前
日本信号株式会社
物体検知装置
7か月前
日本信号株式会社
ホームドア制御装置
4か月前
ヤマハ発動機株式会社
無人搬送車
7か月前
株式会社日立製作所
鉄道車両
1か月前
株式会社ダイフク
搬送設備
7か月前
ヤマハ発動機株式会社
無人搬送車
5か月前
ヤマハ発動機株式会社
無人搬送車
7か月前
ヤマハ発動機株式会社
無人搬送車
7か月前
日本信号株式会社
列車接近警報システム
1か月前
オークラ輸送機株式会社
無人搬送車
1か月前
日本信号株式会社
自動列車運転装置
3か月前
日本製鉄株式会社
鉄道車両
9か月前
日本車輌製造株式会社
車両用ヒップレスト
2か月前
日本製鉄株式会社
鉄道車両
8か月前
続きを見る
他の特許を見る