TOP
|
特許
|
意匠
|
商標
特許ウォッチ
Twitter
他の特許を見る
公開番号
2025115176
公報種別
公開特許公報(A)
公開日
2025-08-06
出願番号
2024009565
出願日
2024-01-25
発明の名称
ホームドア装置
出願人
ナブテスコ株式会社
代理人
個人
主分類
B61B
1/02 20060101AFI20250730BHJP(鉄道)
要約
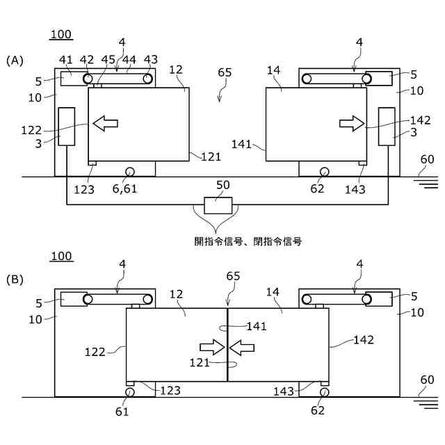
【課題】本発明は、ホーム床の伸縮に伴う扉の制御の不具合を抑制可能なホームドア装置を提供することを目的の一つとしている。
【解決手段】ホームドア装置100は、プラットホーム60に設置された扉12を開閉駆動する駆動部4と、制御パラメータを用いて扉12を開閉駆動するように駆動部4を制御する制御部3と、全閉中の扉12の戸袋10に対する位置変化を取得する取得部5と、を備える。制御部3は、制御パラメータ上のストローク量と、取得部5で取得した情報に基づいて算出された算出ストローク量と、が一致しないときに、算出ストローク量に基づいて制御パラメータ上のストローク量の情報を上書きする。
【選択図】図1
特許請求の範囲
【請求項1】
プラットホームに設置された扉を開閉駆動する駆動部と、
制御パラメータを用いて前記扉を開閉駆動するように前記駆動部を制御する制御部と、
全閉中の前記扉の戸袋に対する位置変化を取得する取得部と、
を備え、
前記制御部は、制御パラメータ上のストローク量と、前記取得部で取得した情報に基づいて算出された算出ストローク量と、が一致しないときに、前記算出ストローク量に基づいて前記制御パラメータ上のストローク量の情報を上書きするホームドア装置。
続きを表示(約 560 文字)
【請求項2】
前記制御部は、前記扉を開動作させるタイミングで前記制御パラメータ上のストローク量の情報を上書きする、請求項1に記載のホームドア装置。
【請求項3】
前記制御部は、前記制御パラメータ上のストローク量と前記算出ストローク量の不一致量が所定範囲の場合に前記制御パラメータ上のストローク量の情報を上書きしない、請求項1に記載のホームドア装置。
【請求項4】
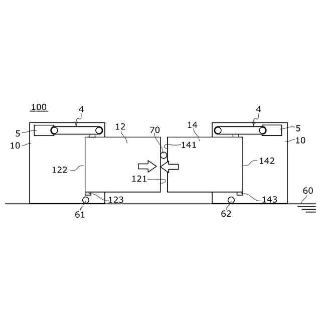
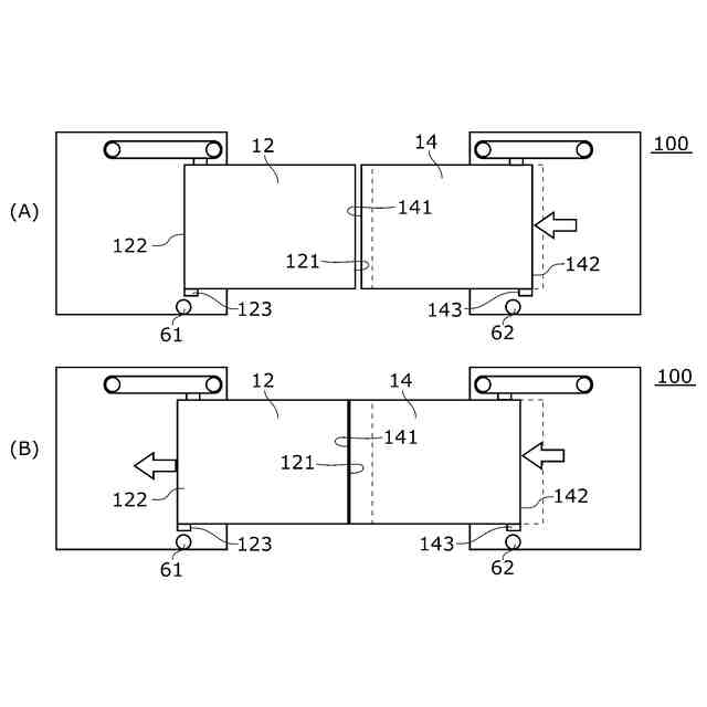
プラットホームに設置された引き分けの扉を開閉駆動する駆動部と、
前記扉を開閉駆動するように前記駆動部を制御する制御部と、
前記それぞれの扉が収納される戸袋内の所定の位置に前記扉の戸尻があるときに検知状態となる閉位置センサと、
を備え、
前記制御部は、前記扉が全閉状態のときに、いずれかの前記閉位置センサが非検知状態の場合に、全ての前記閉位置センサが検知状態になるまで前記扉を駆動させるホームドア装置。
【請求項5】
前記制御部は、前記扉が全閉状態のときに、前記扉のうち一方の扉の戸尻を検出する閉位置センサが非検知状態で、前記扉のうち他方の扉の戸尻を検出する閉位置センサが検知状態である場合に、前記他方の扉を押すように前記一方の扉を駆動させる、請求項4に記載のホームドア装置。
発明の詳細な説明
【技術分野】
【0001】
本発明は、ホームドア装置に関する。
続きを表示(約 1,300 文字)
【背景技術】
【0002】
特許文献1には、ドア部を駆動させる駆動部を備えた可動式ホーム柵が記載されている。この可動式ホーム柵は、駆動部によって駆動されたドア部の閉扉時移動量を検出する閉扉時移動量検出部と、駆動部を制御する制御コンピュータとを備え、制御コンピュータは、閉扉時移動量が設定値に達した場合に閉扉動作を停止させる。
【先行技術文献】
【特許文献】
【0003】
特開2016-137742号公報
【発明の概要】
【発明が解決しようとする課題】
【0004】
鉄道駅のホーム床は温度変化に伴って伸縮し、例えば、昼と夜とでホーム床の長さは大きく伸縮する。特にホーム床の長手方向の伸縮量が大きく、エキスパンションジョイントを用いて対策している場合がある。このようなホーム床に設置されるホームドア装置は、ホーム床の長さに基づく制御パラメータにより扉の動作が制御される。しかし、ホーム床が伸縮すると、ホーム床の長さと制御パラメータとの不整合により、扉が適切に制御されないという制御の不具合が生じることがある。
【0005】
これらから、従来のホームドア装置には、ホーム床の伸縮に伴う扉の制御の不具合を抑制するという観点から改善の余地がある。
【0006】
本発明は、このような課題に鑑みてなされたものであり、ホームの伸縮に伴う扉の制御の不具合を抑制可能なホームドア装置を提供することを目的の一つとしている。
【課題を解決するための手段】
【0007】
上記課題を解決するために、本発明のある態様のホームドア装置は、プラットホームに設置された扉を開閉駆動する駆動部と、制御パラメータを用いて扉を開閉駆動するように駆動部を制御する制御部と、全閉中の扉の戸袋に対する位置変化を取得する取得部と、を備える。制御部は、制御パラメータ上のストローク量と、取得部で取得した情報に基づいて算出された算出ストローク量と、が一致しないときに、算出ストローク量に基づいて制御パラメータ上のストローク量の情報を上書きする。
【0008】
本発明の別の態様もホームドア装置である。このホームドア装置は、プラットホームに設置された引き分けの扉を開閉駆動する駆動部と、扉を開閉駆動するように駆動部を制御する制御部と、それぞれの扉が収納される戸袋内の所定の位置に扉の戸尻があるときに検知状態となる閉位置センサと、を備える。制御部は、扉が全閉状態のときに、いずれかの閉位置センサが非検知状態の場合に、全ての閉位置センサが検知状態になるまで扉を駆動させる。
【0009】
なお、以上の任意の組み合わせや、本発明の構成要素や表現を方法、装置、プログラム、プログラムを記録した一時的なまたは一時的でない記憶媒体、システムなどの間で相互に置換したものもまた、本発明の態様として有効である。
【発明の効果】
【0010】
本発明によれば、ホーム床の伸縮に伴う扉の制御の不具合を抑制可能なホームドア装置を提供できる。
【図面の簡単な説明】
(【0011】以降は省略されています)
この特許をJ-PlatPat(特許庁公式サイト)で参照する
関連特許
ナブテスコ株式会社
歯車装置
5日前
日本信号株式会社
検査装置
1か月前
日本信号株式会社
ホーム柵
3か月前
日本信号株式会社
検査装置
11か月前
日本信号株式会社
ホーム柵
3か月前
個人
車両及び走行システム
7か月前
近畿車輌株式会社
耐火床構造
2か月前
日本車輌製造株式会社
鉄道車両
1か月前
日本信号株式会社
ホーム柵装置
8か月前
近畿車輌株式会社
鉄道車両の床構造
12か月前
近畿車輌株式会社
鉄道車両の床構造
12か月前
近畿車輌株式会社
鉄道車両の床構造
12か月前
カヤバ株式会社
鉄道車両用制振装置
11か月前
日本信号株式会社
列車接近警報装置
3か月前
ナブテスコ株式会社
ホームドア装置
3か月前
川崎車両株式会社
鉄道車両用パネル
9か月前
保線機器整備株式会社
保線用カート
9か月前
日本車輌製造株式会社
台車組立装置
6か月前
株式会社東芝
台車搬送装置
2か月前
日本信号株式会社
物体検知装置
7か月前
日本ケーブル株式会社
索道の支索引留め装置
4か月前
日本信号株式会社
ホームドア制御装置
4か月前
日本信号株式会社
ホーム安全システム
8か月前
株式会社ダイフク
搬送車
6か月前
日本信号株式会社
踏切道監視システム
12か月前
ヤマハ発動機株式会社
無人搬送車
6か月前
ヤマハ発動機株式会社
無人搬送車
8か月前
株式会社ダイフク
搬送設備
7か月前
株式会社日立製作所
鉄道車両
2か月前
日本信号株式会社
障害物検知装置
6日前
日本信号株式会社
列車接近警報システム
1か月前
ヤマハ発動機株式会社
無人搬送車
8か月前
日本信号株式会社
障害物検知装置
6日前
ヤマハ発動機株式会社
無人搬送車
8か月前
日本車輌製造株式会社
車両用ヒップレスト
3か月前
オークラ輸送機株式会社
無人搬送車
2か月前
続きを見る
他の特許を見る