TOP
|
特許
|
意匠
|
商標
特許ウォッチ
Twitter
他の特許を見る
10個以上の画像は省略されています。
公開番号
2025122804
公報種別
公開特許公報(A)
公開日
2025-08-22
出願番号
2024018469
出願日
2024-02-09
発明の名称
ホーム柵
出願人
日本信号株式会社
代理人
個人
主分類
B61B
1/02 20060101AFI20250815BHJP(鉄道)
要約
【課題】設置孔等の位置に自由度を有し施工作業や設置作業が容易なホーム柵を提供すること。
【解決手段】ホーム柵100は、扉体20と、ホーム柵本体30とを備え、ホーム柵本体30は、固定部材82でホーム柵本体30を固定する設置孔34aを有する底部材34と、底部材34より上側に配置され扉体20を支持する扉体支持部材35とを有する。
【選択図】図2
特許請求の範囲
【請求項1】
扉体と、ホーム柵本体とを備え、
前記ホーム柵本体は、固定部材で前記ホーム柵本体を固定する設置孔を有する底部材と、前記底部材より上側に配置され前記扉体を支持する扉体支持部材とを有する、
ホーム柵。
続きを表示(約 290 文字)
【請求項2】
前記設置孔は、前記底部材の一方向に沿って延びる複数の長孔であり、
前記底部材は、固定板を挟んで前記固定部材で固定される、
請求項1に記載のホーム柵。
【請求項3】
前記設置孔は、前記ホーム柵本体の長手方向に延びる、
請求項2に記載のホーム柵。
【請求項4】
前記扉体支持部材は、前記底部材側から前記扉体を支持する、
請求項1に記載のホーム柵。
【請求項5】
プラットホームに埋設し前記固定部材を固定する固定用穴を有する埋設ベースを備える、
請求項1に記載のホーム柵。
発明の詳細な説明
【技術分野】
【0001】
本発明は、設置孔等の位置に自由度を有するホーム柵に関する。
続きを表示(約 1,400 文字)
【背景技術】
【0002】
プラットホームに穿設された埋込穴に埋め込まれた埋込パイプを含む固定部材によって固定するホームドア装置が開示されている(特許文献1)。特許文献1では、扉体の支持部の固定については言及しておらず、設置の際に扉体やその支持部を避けるため、ホームドア装置の戸袋底面を固定する埋込穴の位置が制限される。
【0003】
プラットホームに直立設置させたパイプで構成されるフレームにパイプで構成される扉をスライド移動可能に支持する可動ホーム柵が開示されている(特許文献2)。特許文献2の技術では、戸袋底面を有するホーム柵の設置を想定していない。
【先行技術文献】
【特許文献】
【0004】
特開2021-20562号公報
特開2018-90250号公報
【発明の概要】
【0005】
本発明は上記した点に鑑みてなされたものであり、設置孔等の位置に自由度を有し施工作業や設置作業が容易なホーム柵を提供することを目的とする。
【0006】
上記目的を達成するため、本発明に係るホーム柵は、扉体と、ホーム柵本体とを備え、ホーム柵本体は、固定部材でホーム柵本体を固定する設置孔を有する底部材と、底部材より上側に配置され扉体を支持する扉体支持部材とを有する。
【0007】
上記ホーム柵によれば、扉体を底部材から浮かせた状態で支持することができ、ホーム柵本体の底部に空間が生じる。これにより、扉体の位置を考慮せずに底部材に固定部材を挿入する設置孔や配線用の通線孔等を設けることができる。また、ホーム柵本体の固定の際に設置工具が扉体に干渉せず、設置作業効率が向上する。
【図面の簡単な説明】
【0008】
第1実施形態のホーム柵を説明する全体的な概念図である。
ホーム柵要素の扉体及び筐体を説明する概念図である。
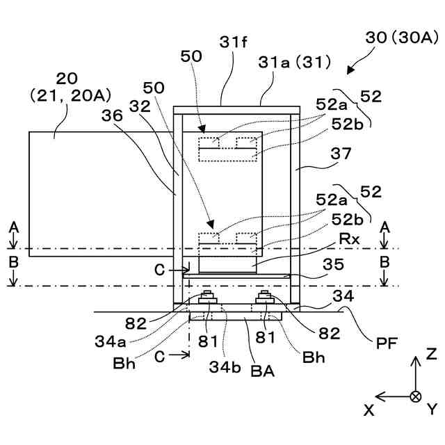
(A)は、図2に示すホーム柵要素のA-A断面図であり、(B)は、ホーム柵要素のB-B断面図であり、(C)は、ホーム柵要素のC-C断面図である。
埋設ベースを説明する斜視図である。
(A)は、埋設ベースに固定部材を固定する前の状態を説明する図であり、(B)は、埋設ベースに固定部材を固定した後の状態を説明する図である。
ホーム柵要素のうち主に扉体の構造を概念的に説明する一部破断正面図である。
ホーム柵の設置方法を説明するフローチャートである。
(A)は、第2実施形態のホーム柵におけるホーム柵要素の扉体及び筐体を説明する概念図であり、(B)は、(A)に示すホーム柵要素のB-B断面図である。
(A)及び(B)は、筐体の底部材の変形例を説明する図である。
【発明を実施するための形態】
【0009】
〔第1実施形態〕
以下、図面を参照して、本発明の第1実施形態に係るホーム柵について説明する。
【0010】
図1は、ホーム柵100を説明する概念図である。図1は、ホーム柵100をプラットホームPF側から見た図であり、ホーム柵100のプラットホームPF側の外装パネルを除いた状態を示す。本明細書において、ホーム柵100のプラットホームPF側は、ホーム柵100の裏面側であるとする。
(【0011】以降は省略されています)
特許ウォッチbot のツイートを見る
この特許をJ-PlatPat(特許庁公式サイト)で参照する
関連特許
日本信号株式会社
検査装置
8日前
日本信号株式会社
制御システム
今日
日本信号株式会社
距離画像センサ
今日
日本信号株式会社
検査装置及び検査方法
9日前
日本信号株式会社
列車接近警報システム
15日前
日本信号株式会社
運行管理システム及び方法
14日前
日本信号株式会社
地中レーダ装置及びその埋設物探査方法
9日前
日本信号株式会社
距離画像装置、距離画像の補正方法及び画像処理プログラム
8日前
日本信号株式会社
ホーム柵
2か月前
日本信号株式会社
ホーム柵
2か月前
個人
車両及び走行システム
6か月前
日本信号株式会社
検査装置
8日前
日本信号株式会社
検査装置
10か月前
近畿車輌株式会社
耐火床構造
1か月前
日本車輌製造株式会社
鉄道車両
1か月前
日本信号株式会社
ホーム柵装置
7か月前
日本信号株式会社
列車接近警報装置
3か月前
保線機器整備株式会社
保線用カート
9か月前
ナブテスコ株式会社
ホームドア装置
3か月前
近畿車輌株式会社
鉄道車両の床構造
11か月前
近畿車輌株式会社
鉄道車両の床構造
11か月前
カヤバ株式会社
鉄道車両用制振装置
10か月前
近畿車輌株式会社
鉄道車両の床構造
11か月前
日本車輌製造株式会社
台車組立装置
5か月前
川崎車両株式会社
鉄道車両用パネル
8か月前
日本信号株式会社
物体検知装置
7か月前
日本信号株式会社
ホームドア制御装置
4か月前
株式会社ダイフク
搬送車
5か月前
株式会社東芝
台車搬送装置
1か月前
日本ケーブル株式会社
索道の支索引留め装置
3か月前
日本信号株式会社
ホーム安全システム
7か月前
日本信号株式会社
踏切道監視システム
11か月前
ヤマハ発動機株式会社
無人搬送車
5か月前
ヤマハ発動機株式会社
無人搬送車
7か月前
ヤマハ発動機株式会社
無人搬送車
7か月前
株式会社日立製作所
鉄道車両
1か月前
続きを見る
他の特許を見る