TOP
|
特許
|
意匠
|
商標
特許ウォッチ
Twitter
他の特許を見る
公開番号
2025150768
公報種別
公開特許公報(A)
公開日
2025-10-09
出願番号
2024051833
出願日
2024-03-27
発明の名称
着脱式避難誘導灯
出願人
能美防災株式会社
代理人
彩雲弁理士法人
主分類
G08B
5/00 20060101AFI20251002BHJP(信号)
要約
【課題】改築等による避難経路の変更に対応可能な避難誘導灯を提供する。
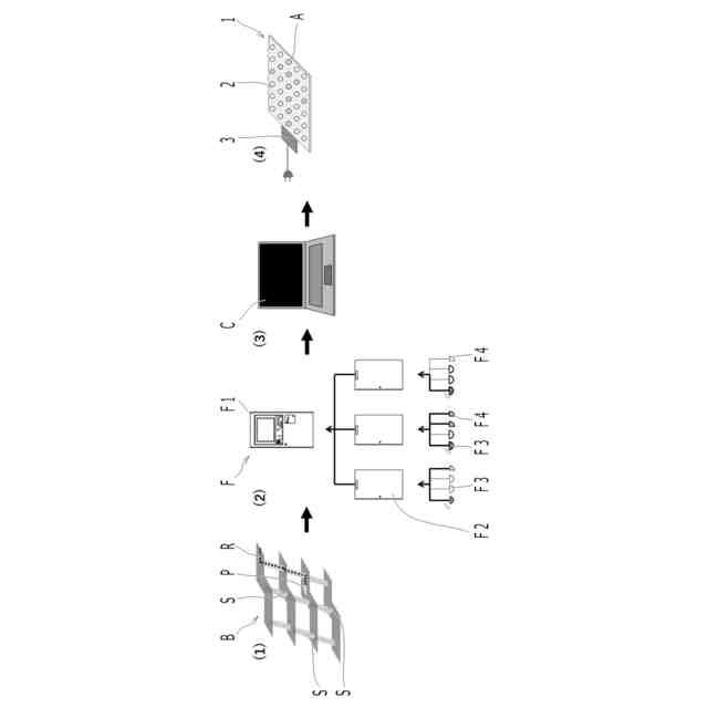
【解決手段】着脱式避難誘導灯1において、避難方向Aを表示可能な表示部2と、演算手段Cと通信可能に設けられた通信部3と、を備えるものとし、表示部2を、演算手段Cから通信部3を介して受信した避難方向Aを表示可能に設ける。尚、着脱式避難誘導灯1を、表示部2に対する通信部3の位置に基づいて、表示部2に表示される避難方向Aが制御されるものとすることも可能である。
【選択図】図4
特許請求の範囲
【請求項1】
着脱式避難誘導灯であって、
避難方向を表示可能な表示部と、
演算手段と通信可能に設けられた通信部と、を備え、
該表示部は、該演算手段から該通信部を介して受信した避難方向を表示可能に設けられていることを特徴とする着脱式避難誘導灯。
続きを表示(約 870 文字)
【請求項2】
請求項1に記載の着脱式避難誘導灯であって、
該着脱式避難誘導灯を設置する際に、前記表示部に対する前記通信部の位置を設定すると共に該着脱式避難誘導灯の設置位置を設定可能となっており、
該表示部に対する該通信部の位置及び該着脱式避難誘導灯の設置位置に基づいて、該表示部に表示する避難方向を制御するものとなっていることを特徴とする着脱式避難誘導灯。
【請求項3】
請求項1に記載の着脱式避難誘導灯であって、
前記表示部に対する前記通信部の位置を設定可能となっていると共に該表示部に対する該通信部の位置に基づいて、該表示部に表示する避難方向を制御するものとなっており、
該表示部に対する該通信部の位置は、該着脱式避難誘導灯を設置する際に、設定されることを特徴とする着脱式避難誘導灯。
【請求項4】
請求項1に記載の着脱式避難誘導灯であって、
設置場所より着脱自在に設けられ、
前記表示部に対する前記通信部の位置を設定可能となっていると共に該表示部に対する該通信部の位置に基づいて、該表示部に表示する避難方向を制御するものとなっており、
該表示部に対する該通信部の位置は、該着脱式避難誘導灯を設置場所より取り外した際に、設定されることを特徴とする着脱式避難誘導灯。
【請求項5】
前記避難方向は、少なくとも防災設備の作動状況に基づいて変更可能となっていることを特徴とする請求項1乃至4の何れかに記載の着脱式避難誘導灯。
【請求項6】
少なくとも防災設備の作動に基づいて、設置場所より取り外し可能となっていることを特徴とする請求項1乃至4の何れかに記載の着脱式避難誘導灯。
【請求項7】
前記表示部は、火災発生時において、前記避難方向を表示可能に設けられると共に平時において、該避難方向とは異なる情報を表示可能に設けられていることを特徴とする請求項1乃至4の何れかに記載の着脱式避難誘導灯。
発明の詳細な説明
【技術分野】
【0001】
本発明は、着脱式避難誘導灯に関する。
続きを表示(約 1,300 文字)
【背景技術】
【0002】
従来、避難誘導灯がある。避難誘導灯には、避難口誘導灯、通路誘導灯及び誘導標識があり、それらが、建物の使用用途や収容人数等に応じて一定間隔毎に設置される。又、避難誘導灯は、建物の天井、壁面又は床面に固定設備として設置される(例えば、特許文献1を参照)。
【先行技術文献】
【特許文献】
【0003】
特開2019-106268号公報
【発明の概要】
【発明が解決しようとする課題】
【0004】
建物において、改築や増築があった場合、改築等によって、避難経路が変わることが想定され得る。従来の避難誘導灯は、固定設備として設けられている故に、設置後の取り外しや移動が容易ではなく、改築等による避難経路の変更に対応することは困難であった。
【0005】
そこで、本発明は、改築等による避難経路の変更に対応可能な避難誘導灯を提供することを目的とする。
【課題を解決するための手段】
【0006】
本発明は、着脱式避難誘導灯であって、避難方向を表示可能な表示部と、演算手段と通信可能に設けられた通信部と、を備え、該表示部は、該演算手段から該通信部を介して受信した避難方向を表示可能に設けられていることを特徴とする着脱式避難誘導灯である。
【0007】
尚、本発明は、前記着脱式避難誘導灯において、該着脱式避難誘導灯を設置する際に、前記表示部に対する前記通信部の位置を設定すると共に該着脱式避難誘導灯の設置位置を設定可能とし、該表示部に対する該通信部の位置及び該着脱式避難誘導灯の設置位置に基づいて、該表示部に表示する避難方向を制御するものとすることが可能である。
【0008】
又、本発明は、前記着脱式避難誘導灯において、前記表示部に対する前記通信部の位置を設定可能となっていると共に該表示部に対する該通信部の位置に基づいて、該表示部に表示する避難方向が制御され、該表示部に対する該通信部の位置が、該着脱式避難誘導灯を設置する際に、設定されるものとすることが可能である。
【0009】
又、本発明は、前記着脱式避難誘導灯において、設置場所より着脱自在に設置可能に設け、前記表示部に対する前記通信部の位置を設定可能となっていると共に該表示部に対する該通信部の位置に基づいて、該表示部に表示する避難方向が制御され、該表示部に対する該通信部の位置を、該着脱式避難誘導灯を設置場所より取り外した際に、設定されるものとすることが可能である。
【0010】
尚、本発明は、前記避難方向を、少なくとも防災設備の作動状況に基づいて変更可能とすることが可能である。又、本発明は、少なくとも防災設備の作動に基づいて、設置場所より取り外し可能とすることが可能である。又、本発明は、前記表示部を、火災発生時において、前記避難方向を表示可能に設けられると共に平時において、該避難方向とは異なる情報を表示可能に設けることが可能である。
【発明の効果】
(【0011】以降は省略されています)
この特許をJ-PlatPat(特許庁公式サイト)で参照する
関連特許
能美防災株式会社
消火設備
1か月前
能美防災株式会社
消火装置
10日前
能美防災株式会社
表示装置
11日前
能美防災株式会社
照射装置
26日前
能美防災株式会社
システム
24日前
能美防災株式会社
火災受信機
25日前
能美防災株式会社
火災受信機
17日前
能美防災株式会社
携帯型電灯
1か月前
能美防災株式会社
火災受信機
25日前
能美防災株式会社
火災受信機
27日前
能美防災株式会社
感知システム
26日前
能美防災株式会社
感知器ベース
1か月前
能美防災株式会社
車両システム
26日前
能美防災株式会社
車両システム
26日前
能美防災株式会社
感知システム
26日前
能美防災株式会社
水噴霧ヘッド
1か月前
能美防災株式会社
防災システム
1か月前
能美防災株式会社
画像表示システム
27日前
能美防災株式会社
異常検出システム
26日前
能美防災株式会社
着脱式避難誘導灯
25日前
能美防災株式会社
深部火災検知装置
25日前
能美防災株式会社
スプリンクラ消火設備
1か月前
能美防災株式会社
エアーコンディショナー
26日前
能美防災株式会社
防災機器及び消火栓装置
25日前
能美防災株式会社
信号検出装置および警報器
26日前
能美防災株式会社
塵芥車の火災検知システム
1か月前
能美防災株式会社
中継器および通信テスト方法
25日前
能美防災株式会社
煙感知器および火災報知設備
12日前
能美防災株式会社
防災設備の製造管理システム
1か月前
能美防災株式会社
熱感知器及び熱感知システム
25日前
能美防災株式会社
避難シミュレーションシステム
1か月前
能美防災株式会社
火災感知器及び火災報知システム
24日前
能美防災株式会社
スプリンクラヘッドの散水反射板
1か月前
能美防災株式会社
電子タグ及び位置情報通信システム
25日前
能美防災株式会社
スプリンクラヘッド用シーリング部材
1か月前
能美防災株式会社
煙感知器の作動試験方法、作動試験器
25日前
続きを見る
他の特許を見る