TOP
|
特許
|
意匠
|
商標
特許ウォッチ
Twitter
他の特許を見る
公開番号
2025148790
公報種別
公開特許公報(A)
公開日
2025-10-08
出願番号
2024049090
出願日
2024-03-26
発明の名称
信号検出装置および警報器
出願人
能美防災株式会社
代理人
弁理士法人きさ特許商標事務所
主分類
G08B
17/00 20060101AFI20251001BHJP(信号)
要約
【課題】警報器からの無線信号を受信しやすい位置を自律して探索し、決定することができる信号検出装置などを得る。
【解決手段】無線信号に基づいて警報を発する警報器の設置位置を決定する信号検出装置100であって、室内の天井または側壁に沿って装置本体101を移動させる移動部110と、無線信号を受信し、無線信号に係る電界強度を測定する信号検出部120と、移動部の移動を制御し、信号検出部120が測定した電界強度に基づいて、設置位置を決定する検出制御処理部130とを備えるものである。
【選択図】図2
特許請求の範囲
【請求項1】
無線信号に基づいて警報を発する警報器の設置位置を決定する信号検出装置であって、
室内の天井または側壁に沿って装置本体を移動させる移動部と、
前記無線信号を受信し、前記無線信号に係る電界強度を測定する信号検出部と、
前記移動部の移動を制御し、前記信号検出部が測定した前記電界強度に基づいて、前記設置位置を決定する検出制御処理部と
を備える信号検出装置。
続きを表示(約 930 文字)
【請求項2】
前記移動部は、
前記装置本体に対して前記天井または前記側壁に向けた力を加える吸引器と、
車輪となって前記装置本体を移動させる複数のボールと、
前記吸引器を動作させ、前記ボールを所定の方向に回転させる走行駆動部と
を有する請求項1に記載の信号検出装置。
【請求項3】
前記移動部は、
前記装置本体を移動させる複数のプロペラと、
前記プロペラを回転させるプロペラ駆動部と
を有する請求項1に記載の信号検出装置。
【請求項4】
前記移動部は、
前記天井に設置された移動用ワイヤに沿って前記装置本体を移動させるモータと、
前記モータを回転させるモータ駆動部と
を有する請求項1に記載の信号検出装置。
【請求項5】
前記移動部は、
前記天井に設置されたレールに沿って前記装置本体を移動させるモータと、
前記モータを回転させるモータ駆動部と
を有する請求項1に記載の信号検出装置。
【請求項6】
前記検出制御処理部は、
前記電界強度があらかじめ設定された設定閾値以上と判定した位置を、前記設置位置として決定する請求項1~請求項5のいずれか一項に記載の信号検出装置。
【請求項7】
前記検出制御処理部は、前記設置位置を決定すると、前記移動部による移動を停止させる請求項6に記載の信号検出装置。
【請求項8】
前記検出制御処理部は、
前記移動部による移動中における前記電界強度が最も高いと判定した位置を、前記設置位置として決定する請求項1~請求項5のいずれか一項に記載の信号検出装置。
【請求項9】
報知を行う報知部を有し、
前記検出制御処理部は、前記設置位置を決定すると、前記報知部に報知させる請求項1~請求項5のいずれか一項に記載の信号検出装置。
【請求項10】
前記移動部は、動作を開始すると、渦巻状に巻回移動する請求項2または請求項3に記載の信号検出装置。
(【請求項11】以降は省略されています)
発明の詳細な説明
【技術分野】
【0001】
この発明は、信号検出装置および警報器に関するものである。特に、無線信号が受信できる位置を探索するものである。
続きを表示(約 1,800 文字)
【背景技術】
【0002】
室内、屋内など(以下、室内という)に発生した熱や煙を感知して警報を行う警報器がある。このような警報器において、各警報器が単独で警報動作を行うだけでなく、警報システム内における複数の警報器が連動して警報動作を行う場合がある(たとえば、特許文献1参照)。
【先行技術文献】
【特許文献】
【0003】
特開2008-004033号公報
【発明の概要】
【発明が解決しようとする課題】
【0004】
複数の警報器が連動して警報動作を行う際、各警報器は互いに電波による無線通信を行う。より確実に他の警報器から送られる無線信号を受信するには、各室内において、無線信号による電界強度が強く、無線信号が受信しやすい位置に設置するとよい。ここで、室内において、障害物、電気機器などによって電波が届かないなど、室内において受信に係る電界強度は一律ではなく、室内の環境によって異なる。このため、室内によって電界強度が高い位置を探索して、警報器を設置することが望ましい。しかしながら、電界強度の高い位置を手動で探し出す場合には、多くの時間および労力などを費やすことになる。
【0005】
そこで、この発明は、警報器からの無線信号を受信しやすい位置を自律して探索し、決定することができる信号検出装置および警報器を得ることを目的とするものである。
【課題を解決するための手段】
【0006】
この発明の信号検出装置は、無線信号に基づいて警報を発する警報器の設置位置を決定する信号検出装置であって、室内の天井または側壁に沿って装置本体を移動させる移動部と、無線信号を受信し、無線信号に係る電界強度を測定する信号検出部と、移動部の移動を制御し、信号検出部が測定した電界強度に基づいて、設置位置を決定する検出制御処理部とを備えるものである。
【0007】
また、この発明の警報器は、上述の信号検出装置を有するものである。
【発明の効果】
【0008】
この発明によれば、移動部が天井または側壁に沿って移動している間に、信号検出部が測定した他の警報器からの信号による電界強度に基づいて、検出制御処理部が警報器の設置位置を決定する。このため、信号検出装置は、よりよい無線信号の受信ができる警報器の設置位置を、自律して探索し、決定することができる。
【図面の簡単な説明】
【0009】
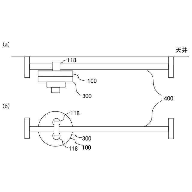
実施の形態1に係る信号検出装置100の概略を説明する図である。
実施の形態1に係る信号検出装置100の構成を説明する図である。
実施の形態1に係る信号検出装置100が設置位置決定動作を行う際の移動の軌跡を示す図である。
実施の形態2に係る信号検出装置100の概略を説明する図である。
実施の形態2に係る信号検出装置100の構成を説明する図である。
実施の形態3に係る警報器300の概略を説明する図である。
実施の形態3に係る信号検出装置100の構成を説明する図である。
実施の形態4に係る警報器300の概略を説明する図である。
【発明を実施するための形態】
【0010】
以下、実施の形態に係る信号検出装置および警報器について、図面などを参照しながら説明する。以下の図面において、同一の符号を付したものは、同一またはこれに相当するものであり、以下に記載する実施の形態の全文において共通することとする。また、図面では各構成部材の大きさの関係が実際のものとは異なる場合がある。そして、明細書全文に表わされている構成要素の形態は、あくまでも例示であって、明細書に記載された形態に限定するものではない。特に、構成要素の組み合わせは、各実施の形態における組み合わせのみに限定するものではなく、他の実施の形態に記載した構成要素を別の実施の形態に適用することができる。また、添字で区別などしている複数の同種の機器などについて、特に区別したり、特定したりする必要がない場合には、添字などを省略して記載する場合がある。そして、ここでは、警報器の設置位置を室内とし、室内における上側の壁を天井、下側の壁を床、側面における壁を側壁とする。
(【0011】以降は省略されています)
この特許をJ-PlatPat(特許庁公式サイト)で参照する
関連特許
能美防災株式会社
システム
23日前
能美防災株式会社
消火装置
9日前
能美防災株式会社
表示装置
10日前
能美防災株式会社
照射装置
25日前
能美防災株式会社
携帯型電灯
1か月前
能美防災株式会社
火災受信機
26日前
能美防災株式会社
火災受信機
24日前
能美防災株式会社
火災受信機
24日前
能美防災株式会社
火災受信機
16日前
能美防災株式会社
感知システム
25日前
能美防災株式会社
感知システム
25日前
能美防災株式会社
車両システム
25日前
能美防災株式会社
車両システム
25日前
能美防災株式会社
異常検出システム
25日前
能美防災株式会社
画像表示システム
26日前
能美防災株式会社
深部火災検知装置
24日前
能美防災株式会社
着脱式避難誘導灯
24日前
能美防災株式会社
防災機器及び消火栓装置
24日前
能美防災株式会社
エアーコンディショナー
25日前
能美防災株式会社
信号検出装置および警報器
25日前
能美防災株式会社
中継器および通信テスト方法
24日前
能美防災株式会社
煙感知器および火災報知設備
11日前
能美防災株式会社
熱感知器及び熱感知システム
24日前
能美防災株式会社
火災感知器及び火災報知システム
23日前
能美防災株式会社
スプリンクラヘッドの散水反射板
1か月前
能美防災株式会社
電子タグ及び位置情報通信システム
24日前
能美防災株式会社
スプリンクラヘッド用シーリング部材
1か月前
能美防災株式会社
煙感知器の作動試験方法、作動試験器
24日前
能美防災株式会社
熱感知器用の加熱試験器及び加熱試験方法
4日前
能美防災株式会社
異常検知システム、管理装置及び中継装置
24日前
能美防災株式会社
スプリンクラヘッド用ガイドリング及びその製造方法
26日前
能美防災株式会社
無線機
1か月前
能美防災株式会社
熱式警報器
5日前
能美防災株式会社
マルチコプター
18日前
能美防災株式会社
炎検知システム
19日前
能美防災株式会社
火災報知システム
11日前
続きを見る
他の特許を見る