TOP
|
特許
|
意匠
|
商標
特許ウォッチ
Twitter
他の特許を見る
公開番号
2025140512
公報種別
公開特許公報(A)
公開日
2025-09-29
出願番号
2024039955
出願日
2024-03-14
発明の名称
感知器ベース
出願人
能美防災株式会社
代理人
弁理士法人エビス国際特許事務所
主分類
G08B
17/00 20060101AFI20250919BHJP(信号)
要約
【課題】本発明は、設置現場に合わせて火災感知器の設置場所や種類等を容易に選定可能とすることを課題とする。
【解決手段】本発明の感知器ベースは火災感知器本体の刃金具と係合する刃受け金具を備え、火災感知器本体に電力を供給するバッテリーを有し、設置場所に穴をあけずに設置可能であり、設置試験に用いられることを特徴とする。
【選択図】 図3
特許請求の範囲
【請求項1】
火災感知器本体の刃金具と係合する刃受け金具を備え、
火災感知器本体に電力を供給するバッテリーを有し、
設置場所に穴をあけずに設置可能であり、
設置試験に用いられる、
ことを特徴とする感知器ベース。
続きを表示(約 420 文字)
【請求項2】
記録装置を備え、
前記記録装置により、火災感知器本体からの情報を記録する、
ことを特徴とする請求項1に記載された感知器ベース。
【請求項3】
環境センサーを備え、
前記記録装置により、前記環境センサーにより検出した環境データを記録する、
ことを特徴とする請求項2記載された感知器ベース。
【請求項4】
磁石を備え、
前記設置場所には、前記磁石により仮設置することを特徴とする請求項1乃至3のいずれか一項に記載された感知器ベース。
【請求項5】
粘着部を備え、
前記設置場所には前記粘着部により仮設置する、
ことを特徴とする請求項1乃至3のいずれか一項に記載された感知器ベース。
【請求項6】
穴あけ目印用構成を有する、
ことを特徴とする、請求項1乃至3のいずれか一項に記載された感知器ベース。
発明の詳細な説明
【技術分野】
【0001】
本発明は、火災感知器本体を取り付ける感知器ベースに関する。
続きを表示(約 1,400 文字)
【背景技術】
【0002】
スポット型の煙感知器や熱感知器等の火災感知器を建物に取り付ける際には、特許文献1に示すように、天井や壁等に配線用の穴をあけて感知器ベースを固定し、天井裏等から穴を通して配線を感知器ベースの端子に接続する。そして、感知器ベースに火災感知器本体を取り付けることにより、火災感知器の設置を行う。感知器ベースと火災感知器本体の間では、刃金具と刃受け金具により取り外し可能に固定されるとともに、電気的に接続する。
【先行技術文献】
【特許文献】
【0003】
特開2019-57317号公報
【発明の概要】
【発明が解決しようとする課題】
【0004】
火災感知器は適切な場所に取り付ける必要がある。例えば、火災感知器が結露する場所には設置できない。また、電磁波を受けやすい場所や、エアコンの温風を受ける場所には設置できない。結露、電磁波、エアコンの温風等の環境ノイズは、火災感知器における非火災報等の誤作動の原因となりうる。現状では、火災感知器の設置場所は、設置者の経験等に基づいて定められている。
【0005】
一方で、意匠的な観点等から、環境ノイズをうけるか否か判らない場所に火災感知器を設置したい場合がある。しかし、このような場所に火災感知器を設置することは困難である。例えば、このような場所に火災感知器を設置した後に環境ノイズにより非火災報が発生すると、火災感知器を移動しなければならない。しかし、移動後の天井等には配線用の穴等が残ることになるため、天井板等を交換しなければならなくなる。
【0006】
また、多くの種類の火災感知器から使用する火災感知器を選定する際に、現場環境を再現した実験を行いたい場合がある。この場合には、実験室で現場環境を再現して実験を行うこととなり高コストとなる。また、実験室では、現場環境を完全に再現できるか分からない。
【0007】
本発明は、設置現場に合わせて火災感知器の設置場所や種類等を容易に選定可能とすることを課題とする。
【課題を解決するための手段】
【0008】
本発明の一実施形態における感知器ベースは、火災感知器本体の刃金具と係合する刃受け金具を備え、火災感知器本体に電力を供給するバッテリーを有し、設置場所に穴をあけずに設置可能であり、設置試験に用いられることを特徴とする。
【発明の効果】
【0009】
本発明により、火災感知器本体を設置現場に仮設置して設置試験を行うことにより、設置現場に合わせて火災感知器の設置場所や種類等を容易に選定することできる。
【図面の簡単な説明】
【0010】
従来のP型火災感知器の設置状況を示す側面図。
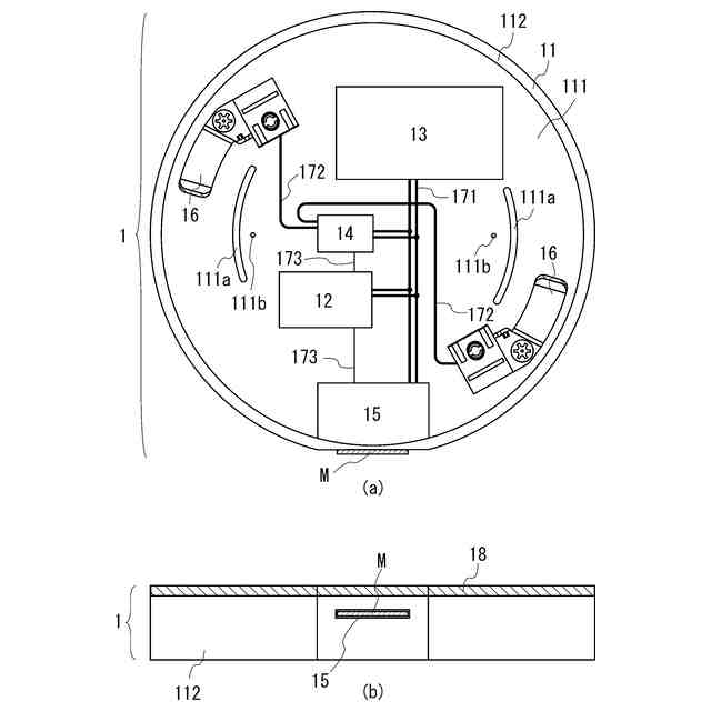
実施例1における感知器ベースを示す図。
実施例1における感知器ベースにP型火災感知器を取り付けて仮設置した状態を示す図。
実施例1における感知器ベースにP型火災感知器を取り付けた際のシーケンシャル図。
実施例2における感知器ベースにR型火災感知器を取り付けた際のシーケンシャル図。
実施例3における感知器ベースを示す図。
実施例3における感知器ベースにP型火災感知器を取り付けて仮設置した状態を示す図。
【発明を実施するための形態】
(【0011】以降は省略されています)
この特許をJ-PlatPat(特許庁公式サイト)で参照する
関連特許
能美防災株式会社
消火装置
3日前
能美防災株式会社
表示装置
4日前
能美防災株式会社
照射装置
19日前
能美防災株式会社
システム
17日前
能美防災株式会社
火災受信機
20日前
能美防災株式会社
火災受信機
10日前
能美防災株式会社
火災受信機
18日前
能美防災株式会社
火災受信機
18日前
能美防災株式会社
感知システム
19日前
能美防災株式会社
感知システム
19日前
能美防災株式会社
車両システム
19日前
能美防災株式会社
車両システム
19日前
能美防災株式会社
画像表示システム
20日前
能美防災株式会社
異常検出システム
19日前
能美防災株式会社
着脱式避難誘導灯
18日前
能美防災株式会社
深部火災検知装置
18日前
能美防災株式会社
防災機器及び消火栓装置
18日前
能美防災株式会社
エアーコンディショナー
19日前
能美防災株式会社
信号検出装置および警報器
19日前
能美防災株式会社
熱感知器及び熱感知システム
18日前
能美防災株式会社
中継器および通信テスト方法
18日前
能美防災株式会社
煙感知器および火災報知設備
5日前
能美防災株式会社
火災感知器及び火災報知システム
17日前
能美防災株式会社
電子タグ及び位置情報通信システム
18日前
能美防災株式会社
煙感知器の作動試験方法、作動試験器
18日前
能美防災株式会社
異常検知システム、管理装置及び中継装置
18日前
能美防災株式会社
スプリンクラヘッド用ガイドリング及びその製造方法
20日前
能美防災株式会社
炎検知システム
13日前
能美防災株式会社
マルチコプター
12日前
能美防災株式会社
火災報知システム
5日前
能美防災株式会社
火災報知設備の表示装置およびこれを用いた表示システム
12日前
日本精機株式会社
警報システム
1か月前
個人
自動電動車椅子
1か月前
株式会社SUBARU
車両
18日前
エムケー精工株式会社
車両誘導装置
2か月前
スズキ株式会社
運転支援装置
1か月前
続きを見る
他の特許を見る