TOP
|
特許
|
意匠
|
商標
特許ウォッチ
Twitter
他の特許を見る
公開番号
2025148904
公報種別
公開特許公報(A)
公開日
2025-10-08
出願番号
2024049246
出願日
2024-03-26
発明の名称
車両システム
出願人
能美防災株式会社
代理人
個人
,
個人
,
個人
,
個人
,
個人
主分類
G08B
21/02 20060101AFI20251001BHJP(信号)
要約
【課題】発生している車内異常を迅速に解消できる機能を備えた車両システムを得る。
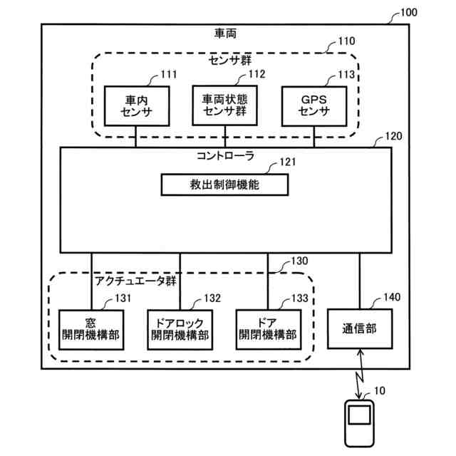
【解決手段】本開示に係る車両システムは、車両内の温度を検出する温度センサと、車両内のCO濃度を検出するCOセンサと、温度センサによる検出結果に基づいて車両内で温度異常が発生しているか否かを判定し、COセンサによる検出結果に基づいて車両内でCO濃度異常が発生しているか否かを判定し、判定結果に応じて異常状態解消制御を実行するコントローラとを備え、コントローラは、温度異常またはCO濃度異常の少なくともいずれかが発生した場合には、車両異常状態であると判定して警報を出力するとともに、車両の窓を開状態にする第1制御、車両のドアロックを開状態にする第2制御、および車両のドアを開状態とする第3制御の少なくともいずれか1つの制御を異常状態解消制御として実行可能とする。
【選択図】図4
特許請求の範囲
【請求項1】
車両内の温度を検出する温度センサと、
前記車両内のCO濃度を検出するCOセンサと、
前記温度センサによる検出結果に基づいて前記車両内で温度異常が発生しているか否かを判定し、前記COセンサによる検出結果に基づいて前記車両内でCO濃度異常が発生しているか否かを判定し、判定結果に応じて異常状態解消制御を実行するコントローラと
を備え、
前記コントローラは、前記温度異常または前記CO濃度異常の少なくともいずれかが発生した場合には、車両異常状態であると判定して警報を出力するとともに、前記車両の窓を開状態にする第1制御、前記車両のドアロックを開状態にする第2制御、および前記車両のドアを開状態とする第3制御の少なくともいずれか1つの制御を前記異常状態解消制御として実行可能とする
車両システム。
続きを表示(約 240 文字)
【請求項2】
前記コントローラは、前記車両のエンジンがOFF状態である場合に、前記異常状態解消制御を実行する
請求項1に記載の車両システム。
【請求項3】
前記車両内に人がいることを検出可能な車内センサをさらに備え、
前記コントローラは、前記車両のエンジンがOFF状態であり、かつ、前記車内センサによる検出結果から前記車両内に人がいる残留状態が発生していると判定した場合に、前記異常状態解消制御を実行する
請求項1に記載の車両システム。
発明の詳細な説明
【技術分野】
【0001】
本開示は、車両に車内異常が発生したことを検出した際に、車内異常を解消するための適切な制御を実行する機能を備えた車両システムに関するものである。
続きを表示(約 1,100 文字)
【背景技術】
【0002】
幼稚園あるいは保育園の送迎用バスの車内に幼児が置き去りになってしまうヒューマンエラーを防止するための装置がある(例えば、非特許文献1参照)。
【0003】
非特許文献1に係る装置では、エンジン停止後に車内に人が残っていることをセンサで検出した場合に、車外アラームを鳴らすことで周囲に異常を知らせ、置き去りに起因した痛ましい事故が発生してしまうことを未然に防ぐことを可能としている。
【0004】
より具体的には、非特許文献1に開示された従来技術では、エンジンを停止した際に、車内ブザー鳴動および車内音声メッセージにより、ドライバに対して人が取り残されていないか車内確認を実施することを促している。
【0005】
さらに、非特許文献1に開示された従来技術では、人が取り残された状態を、動きや振動による車内異常として検出する車内センサを備えており、車内センサにより車内異常が検出された場合には、車外アラームを鳴らすことで周囲に異常を知らせる機能(以下の説明では、第1機能と称す)、および特定の機器に車内異常が発生したことを迅速に通知する機能(以下の説明では、第2機能と称す)を備えている。
【先行技術文献】
【非特許文献】
【0006】
加藤電機株式会社 ホームページ、ホーネット 車内置き去り防止安全装置(URL:https://www.kato-denki.com/solution/hornet_bs-700c/)
【発明の概要】
【発明が解決しようとする課題】
【0007】
車内に人が取り残される状況は、送迎用バスでの幼児には限定されず、種々の車両において、種々の人が取り残される場合が考えられる。
【0008】
また、車両内で発生しうる異常状態は、人が取り残される状況以外にも、車両内における温度異常の発生、CO濃度異常の発生なども考えられる。
【0009】
非特許文献1に開示された従来技術では、上述した第1機能および第2機能を実施することで、車内異常が発生した状態を報知することができる。しかしながら、車両のドアおよびウィンドウが閉状態である場合には、車両のキーを持っていない者は、車内に取り残された人を直ちに迅速に救出することが困難である。
【0010】
また、車内異常が発生していることを警報により知った車外にいる人は、ウィンドウを壊すなどの行為により、車内に取り残された人を救出することは可能である。しかしながら、このような行為は、車両の破損を招くとともに、ウィンドウを壊したことにより2次災害が発生してしまうおそれもある。
(【0011】以降は省略されています)
この特許をJ-PlatPat(特許庁公式サイト)で参照する
関連特許
能美防災株式会社
システム
19日前
能美防災株式会社
消火装置
5日前
能美防災株式会社
表示装置
6日前
能美防災株式会社
消火設備
28日前
能美防災株式会社
照射装置
21日前
能美防災株式会社
火災受信機
22日前
能美防災株式会社
火災受信機
12日前
能美防災株式会社
火災受信機
20日前
能美防災株式会社
火災受信機
20日前
能美防災株式会社
携帯型電灯
26日前
能美防災株式会社
感知システム
21日前
能美防災株式会社
感知システム
21日前
能美防災株式会社
車両システム
21日前
能美防災株式会社
防災システム
28日前
能美防災株式会社
水噴霧ヘッド
26日前
能美防災株式会社
感知器ベース
1か月前
能美防災株式会社
車両システム
21日前
能美防災株式会社
深部火災検知装置
20日前
能美防災株式会社
画像表示システム
22日前
能美防災株式会社
異常検出システム
21日前
能美防災株式会社
着脱式避難誘導灯
20日前
能美防災株式会社
スプリンクラ消火設備
27日前
能美防災株式会社
中継器の配線接続構造
1か月前
能美防災株式会社
エアーコンディショナー
21日前
能美防災株式会社
防災機器及び消火栓装置
20日前
能美防災株式会社
信号検出装置および警報器
21日前
能美防災株式会社
塵芥車の火災検知システム
28日前
能美防災株式会社
中継器および通信テスト方法
20日前
能美防災株式会社
熱感知器及び熱感知システム
20日前
能美防災株式会社
防災設備の製造管理システム
28日前
能美防災株式会社
煙感知器および火災報知設備
7日前
能美防災株式会社
避難シミュレーションシステム
28日前
能美防災株式会社
スプリンクラヘッドの散水反射板
26日前
能美防災株式会社
火災感知器及び火災報知システム
19日前
能美防災株式会社
電子タグ及び位置情報通信システム
20日前
能美防災株式会社
煙感知器の作動試験方法、作動試験器
20日前
続きを見る
他の特許を見る