TOP
|
特許
|
意匠
|
商標
特許ウォッチ
Twitter
他の特許を見る
公開番号
2025170405
公報種別
公開特許公報(A)
公開日
2025-11-18
出願番号
2025145431,2024517292
出願日
2025-09-02,2023-04-21
発明の名称
煙検知装置
出願人
能美防災株式会社
代理人
弁理士法人朝日特許事務所
主分類
G08B
17/107 20060101AFI20251111BHJP(信号)
要約
【課題】本願発明は、2受光式の煙検知装置における容器内の汚損の程度を判定可能とする手段を提供することを課題とする。
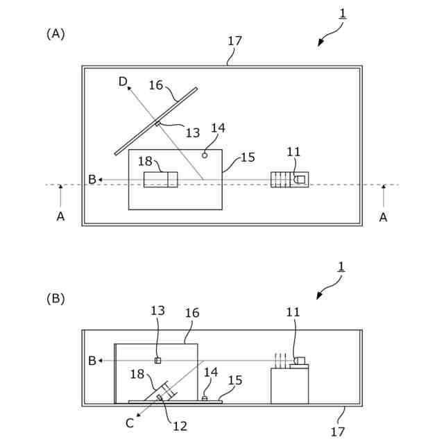
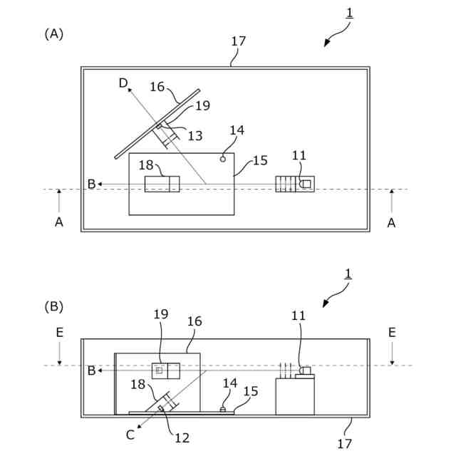
【解決手段】本願発明にかかる2受光式の煙検知装置1は、偏光を発光する第1発光部11と、第1発光部11の発光軸(矢印B)と交差する第1受光軸(矢印C)を有する第1受光部12と、第1発光部11の発光軸(矢印B)と交差する第2受光軸(矢印D)を有する第2受光部13と、非偏光を発光する第2発光部14を備える。第1受光部12は第1電子回路基板15に配置され、第2受光部13は第1電子回路基板15と直交する第2電子回路基板16に配置されている。また、第2発光部14は第1電子回路基板15に配置されている。汚損判定部(図示略)は第2発光部14が発光中に第1受光部12及び第2受光部13の少なくとも一方が生成する信号に基づき、容器17内の汚損の程度を判定する。
【選択図】図1
特許請求の範囲
【請求項1】
光を発光する第1発光部と、
前記第1発光部の発光軸と交差する受光軸を有する受光部と、
前記第1発光部が発光した際に前記受光部が生成する信号に基づき空気中の煙の有無を判定する煙判定部と、
光を発光する第2発光部と、
前記第2発光部が発光中に前記受光部が生成する信号の強度が所定の下限閾値を下回った場合に、前記受光部の汚損の程度が許容範囲を超えたと判定し、前記第2発光部が発光中に前記受光部が生成する信号の強度が所定の上限閾値を上回った場合に、前記受光部に対向する構造物の汚損の程度が許容範囲を超えたと判定する汚損判定部と
を備える煙検知装置。
続きを表示(約 460 文字)
【請求項2】
前記受光部を第1受光部とし、前記受光軸を第1受光軸とするとき、
前記第1発光部の発光軸と交差し前記第1受光軸と異なる方向の受光軸である第2受光軸を有する第2受光部を備え、
前記煙判定部は、前記第1発光部が発光した際に前記第1受光部が生成する信号と、前記第1発光部が発光した際に前記第2受光部が生成する信号とに基づき空気中の煙の種類を判定し、
前記汚損判定部は、前記第2発光部が発光中に前記第2受光部が生成する信号の強度が所定の下限閾値を下回った場合に、前記第2受光部の汚損の程度が許容範囲を超えたと判定し、前記第2発光部が発光中に前記第2受光部が生成する信号の強度が所定の上限閾値を上回った場合に、前記第2受光部に対向する構造物の汚損の程度が許容範囲を超えたと判定する
請求項1に記載の煙検知装置。
【請求項3】
前記第1発光部が発光する光は偏光であり、
前記第2発光部が発光する光は非偏光である
請求項1又は2に記載の煙検知装置。
発明の詳細な説明
【技術分野】
【0001】
本発明は、煙を検知する装置に関する。
続きを表示(約 1,400 文字)
【背景技術】
【0002】
監視対象の空間に含まれる煙を検知することで、監視対象の空間における煙の発生を検知する煙検知装置がある。煙検知装置の一方式として、光電式と呼ばれる方式がある。光電式の煙検知装置は、発光部及び受光部を収容する容器内に外部から流れ込む空気中の煙の粒子により発光部から発光された光が反射した反射光を受光部が受光した際に生成する信号に基づき煙の検知を行う。
【0003】
光電式の煙検知装置のさらに一方式として、2受光式と呼ばれる方式がある。2受光式の煙検知装置は、発光部から発光軸方向に偏光を発光し、発光軸に対し異なる方向から交差する受光軸を有する2つの受光部が生成する信号に基づき、空気中の煙の種類を判定する。
【0004】
2受光式の煙検知装置を開示している特許文献として、例えば特許文献1がある。
【先行技術文献】
【特許文献】
【0005】
特開2011-203889号公報
【発明の概要】
【発明が解決しようとする課題】
【0006】
光電式の煙検知装置は、煙を検知するための空間を形成する容器に、監視対象の空間から流れ込む空気中の煙の粒子を検知する。容器に流れ込む空気には粉塵が含まれ、それらの粉塵の一部は容器内に汚れとして付着する。それらの汚れの一部は発光部又は受光部に付着し、発光部から発光される光の一部を遮ったり反射したりする。また、汚れの一部は容器の内壁や容器内の構造物に付着し、発光部から発光され、空気中の粒子で反射した光をさらに反射する。その結果、煙検知装置による煙の検知における精度が低下する。
【0007】
光電式の煙検知装置の容器内の汚損の程度が判定できれば、煙の検知の精度が許容範囲を超える前に清掃や交換を行うことで、汚れによる煙の誤検知を低減できる。従って、光電式の煙検知装置の容器内の汚損の程度を判定したい、というニーズがある。光電式の一種である2受光式の煙検知装置においても同様のニーズがある。
【0008】
上記の事情に鑑み本発明は、2受光式の煙検知装置における容器内の汚損の程度を判定可能とする手段を提供することを目的とする。
【課題を解決するための手段】
【0009】
上記の課題を解決するため、本発明は、偏光を発光する第1発光部と、前記第1発光部の発光軸と交差する第1受光軸を有する第1受光部と、前記第1発光部の発光軸と交差し前記第1受光軸と異なる方向の第2受光軸を有する第2受光部と、前記第1発光部が発光中に前記第1受光部が生成する信号と、前記第1発光部が発光中に前記第2受光部が生成する信号とに基づき空気中の煙の種類を判定する煙判定部と、非偏光を発光する第2発光部と、前記第2発光部が発光中に前記第1受光部が生成する信号、及び、前記第2発光部が発光中に前記第2受光部が生成する信号の少なくとも一方に基づき、煙を検知するための空間を形成する容器内の汚損の程度を判定する汚損判定部とを備える煙検知装置を提案する。
【発明の効果】
【0010】
本発明に係る煙検知装置によれば、第2発光部が発光する光により容器内の汚損の程度が判定されるため、第2発光部を備えない煙検知装置と比較し高い精度で容器内の汚損の程度が分かる。
【図面の簡単な説明】
(【0011】以降は省略されています)
この特許をJ-PlatPat(特許庁公式サイト)で参照する
関連特許
能美防災株式会社
表示装置
1か月前
能美防災株式会社
消火装置
1か月前
能美防災株式会社
煙感知器
7日前
能美防災株式会社
消火栓装置
2日前
能美防災株式会社
防犯システム
1か月前
能美防災株式会社
異常検出システム
1日前
能美防災株式会社
点検支援システム
1日前
能美防災株式会社
火災検知システム
7日前
能美防災株式会社
異常検出システム
15日前
能美防災株式会社
トンネル非常用設備
7日前
能美防災株式会社
高温部可視化システム
7日前
能美防災株式会社
防塵カバー取外し装置
7日前
能美防災株式会社
高粘度消火剤粘性回復装置
16日前
能美防災株式会社
煙感知器および火災報知設備
1か月前
能美防災株式会社
熱感知器用の加熱試験器及び加熱試験方法
1か月前
能美防災株式会社
表示灯
3日前
能美防災株式会社
火災報知システムの表示装置、火災受信機及び火災感知器
14日前
能美防災株式会社
煙検知装置
16日前
能美防災株式会社
煙検知装置
24日前
能美防災株式会社
熱式警報器
1か月前
能美防災株式会社
火災感知器
3日前
能美防災株式会社
火災感知器の防塵カバー及び火災感知器の防塵カバーの製造方法
22日前
能美防災株式会社
火災報知システム
1か月前
能美防災株式会社
避難状況表示システム
14日前
能美防災株式会社
警報システム及び検知器
9日前
能美防災株式会社
管理装置及び警報システム
1か月前
能美防災株式会社
火災監視システムおよび火災感知器
7日前
個人
簡易異常通報装置
1日前
個人
安全支援装置
1か月前
株式会社SUBARU
車両
2か月前
ニッタン株式会社
検知器
2か月前
日本信号株式会社
車両検知装置
7日前
日本無線株式会社
船舶システム
1か月前
個人
磁気路上での車両の路線離脱防御
2か月前
大阪瓦斯株式会社
音声出力システム
2か月前
株式会社SUBARU
運転支援装置
2か月前
続きを見る
他の特許を見る