TOP
|
特許
|
意匠
|
商標
特許ウォッチ
Twitter
他の特許を見る
公開番号
2025163390
公報種別
公開特許公報(A)
公開日
2025-10-29
出願番号
2024066572
出願日
2024-04-17
発明の名称
熱感知器用の加熱試験器及び加熱試験方法
出願人
能美防災株式会社
代理人
彩雲弁理士法人
主分類
G08B
17/06 20060101AFI20251022BHJP(信号)
要約
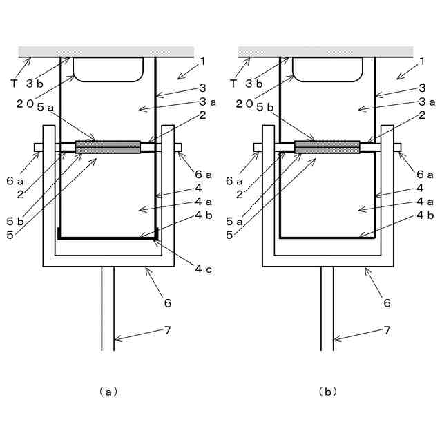
【課題】差動式の熱感知器や、高温型を含む補償式熱感知器の加熱試験に好適に使用可能な、熱感知器用の加熱試験器及び加熱試験方法を提供する。
【解決手段】熱感知器20が内部に位置する状態で試験が行われる試験空間が形成される熱感知器用の加熱試験器1であって、試験空間として、冷却手段5aによって冷却される冷却空間3aと、加熱手段5bによって加熱される加熱空間4aと、を形成されるようにする。
【選択図】図1
特許請求の範囲
【請求項1】
熱感知器が内部に位置する状態で試験が行われる試験空間が形成される熱感知器用の加熱試験器であって、
前記試験空間として、冷却手段によって冷却される冷却空間と、加熱手段によって加熱される加熱空間と、が形成されることを特徴とする熱感知器用の加熱試験器。
続きを表示(約 460 文字)
【請求項2】
前記冷却空間と前記加熱空間は、上下又は左右に並んで形成されることを特徴とする請求項1に記載の加熱試験器。
【請求項3】
前記冷却手段と前記加熱手段は、前記冷却空間と前記加熱空間の間に設けられると共に、一方の面が前記冷却空間側に面して前記冷却手段として機能し、他方の面が前記加熱空間側に面して前記加熱手段として機能するペルチェ素子によって構成されることを特徴とする請求項2に記載の加熱試験器。
【請求項4】
前記冷却空間と前記加熱空間は、上下に並んで形成され、上下に反転可能に設けられることを特徴とする請求項1に記載の加熱試験器。
【請求項5】
加熱試験器を使用して行う熱感知器の加熱試験方法であって、
熱感知器を前記加熱試験器が備える冷却手段によって冷却する冷却ステップと、
前記冷却ステップによって冷却された熱感知器を前記加熱試験器が備える加熱手段によって加熱する加熱ステップと、を含むことを特徴とする熱感知器の加熱試験方法。
発明の詳細な説明
【技術分野】
【0001】
この発明は、熱感知器を加熱して作動試験行う加熱試験器及び加熱試験方法に関する。
続きを表示(約 1,300 文字)
【背景技術】
【0002】
建物内等に設置されて、火災発生時の熱を検知する熱感知器は、設置後、定期的に作動試験(以下「加熱試験」ともいう)を行う必要がある。
【0003】
従来、そのような熱感知器の加熱試験を行うものとして、筒状のフードで熱感知器を覆い(熱感知器の感熱部分のみを覆う場合もある)、そのフード内部に位置する熱感知器を加熱して作動させる加熱試験器が用いられている。
【0004】
加熱試験器は、熱源として、ベンジンによる白金を触媒とする反応熱を用いるタイプ(以下「白金懐炉式」という)のもの(例えば、非特許文献1参照)があるが、その他にも、熱湯を用いるタイプ(以下「熱湯式」という)のもの(例えば、非特許文献2参照)等がある。
【先行技術文献】
【非特許文献】
【0005】
HK-3型・加熱試験器(商品案内),[online],一般社団法人東京防災設備保守協会,[令和6年1月31日検索],インターネット<URL:http://www.hosyu-kyokai.or.jp/shikenki.html>
【0006】
FHT-3E・防爆型感知器加熱試験器(カタログ),[online],日本フェンオール株式会社,[令和6年1月31日検索],インターネット<URL:https://www.fenwal.co.jp/wp/wp-content/uploads/2021/10/bobaku_kanchi.pdf>
【発明の概要】
【発明が解決しようとする課題】
【0007】
ところで、熱感知器には、作動方式の違いによる種類として、定温式熱感知器(感知器の周囲温度が一定の温度まで上昇したときに作動するタイプ)と、差動式熱感知器(感知器の周囲温度が一定の上昇率で温度上昇したときに作動するタイプ)と、定温式と差動式の両方で作動可能な補償式熱感知器がある。また、補償式熱感知器には、一般的な定温式熱感知器の公称作動温度が60~80℃であるのに対し、補償率式熱感知器と称される、定温の公称作動温度が100~150℃の温度まで設定されている高温型のもの(以下「高温型の補償式熱感知器」という)がある。
【0008】
熱感知器の加熱試験を行う際、白金懐炉式の加熱試験器を使用すると、定温式、差動式、補償式のいずれの熱感知器に対しても、過度の加熱による破損の問題がある。特に、高温型の補償式熱感知器においては、定温式、差動式のいずれの方式で作動させる場合でも、そのような破損が生じる可能性が高い。
【0009】
そこで、高温型の補償式熱感知器に対しては、熱湯式の加熱試験器を使用して、熱感知器を差動式に作動させて加熱試験が行われることもあるが、熱湯式の加熱試験器の場合、試験時、熱湯を用意しなければならず、試験作業が煩雑になるという問題がある。
【0010】
熱湯式の加熱試験器を使用する場合の前記の問題は、差動式や高温型ではない補償式の熱感知器の加熱試験を行う場合においても、同様に存在する。
(【0011】以降は省略されています)
この特許をJ-PlatPat(特許庁公式サイト)で参照する
関連特許
能美防災株式会社
システム
1か月前
能美防災株式会社
消火設備
1か月前
能美防災株式会社
照射装置
1か月前
能美防災株式会社
消火装置
28日前
能美防災株式会社
表示装置
29日前
能美防災株式会社
火災受信機
1か月前
能美防災株式会社
火災受信機
1か月前
能美防災株式会社
火災受信機
1か月前
能美防災株式会社
携帯型電灯
1か月前
能美防災株式会社
火災受信機
1か月前
能美防災株式会社
水噴霧ヘッド
1か月前
能美防災株式会社
防災システム
1か月前
能美防災株式会社
感知システム
1か月前
能美防災株式会社
感知システム
1か月前
能美防災株式会社
車両システム
1か月前
能美防災株式会社
感知器ベース
1か月前
能美防災株式会社
防災システム
2か月前
能美防災株式会社
車両システム
1か月前
能美防災株式会社
防犯システム
17日前
能美防災株式会社
画像表示システム
1か月前
能美防災株式会社
着脱式避難誘導灯
1か月前
能美防災株式会社
深部火災検知装置
1か月前
能美防災株式会社
異常検出システム
1か月前
能美防災株式会社
中継器の配線接続構造
2か月前
能美防災株式会社
スプリンクラ消火設備
1か月前
能美防災株式会社
防災機器及び消火栓装置
1か月前
能美防災株式会社
エアーコンディショナー
1か月前
能美防災株式会社
信号検出装置および警報器
1か月前
能美防災株式会社
塵芥車の火災検知システム
1か月前
能美防災株式会社
中継器および通信テスト方法
1か月前
能美防災株式会社
防災設備の製造管理システム
1か月前
能美防災株式会社
煙感知器および火災報知設備
1か月前
能美防災株式会社
熱感知器及び熱感知システム
1か月前
能美防災株式会社
避難シミュレーションシステム
1か月前
能美防災株式会社
火災感知器及び火災報知システム
1か月前
能美防災株式会社
スプリンクラヘッドの散水反射板
1か月前
続きを見る
他の特許を見る