TOP
|
特許
|
意匠
|
商標
特許ウォッチ
Twitter
他の特許を見る
10個以上の画像は省略されています。
公開番号
2025177268
公報種別
公開特許公報(A)
公開日
2025-12-05
出願番号
2024083927
出願日
2024-05-23
発明の名称
煙感知器
出願人
能美防災株式会社
代理人
個人
,
個人
,
個人
,
個人
,
個人
主分類
G08B
17/10 20060101AFI20251128BHJP(信号)
要約
【課題】筐体全体の小型化を図ることができる煙感知器を得ることができる。
【解決手段】煙感知器(100)は、第1カバー(11)と、第2カバー(12)と、感知部(20)と、スピーカ(40)と、制御基板(30)と、を備え、制御基板(30)は、第1面(31)が第1カバー(11)と対向し、第2面(32)が第2カバー(12)と対向するように筐体(10)の内部空間に収納され、内部空間は、第1面(31)と第1カバー(11)との間に形成される第1空間(101)と、第2面(32)と第2カバー(12)との間に形成される第2空間(102)とを有し、スピーカ(40)は、第1空間(101)側において、第1カバー(11)に設けられた凹部に少なくとも一部が埋め込まれるように収納されており、感知部(20)は、第2空間(102)側に設けられている。
【選択図】図5
特許請求の範囲
【請求項1】
設置面に当接する当接面を有する第1カバーと、
前記当接面の反対面と対面するように設けられている第2カバーと、
煙を感知する感知部と、
警告音を発するスピーカと、
前記感知部によって煙が感知された場合に前記スピーカに対し警告音を出力するように制御するコントローラが搭載された制御基板と、
を備え、
前記感知部、前記スピーカ、及び前記制御基板は、前記第1カバーと前記第2カバーとによって形成される筐体の内部空間に設けられており、
前記制御基板は、第1面が前記第1カバーと対向し、第2面が前記第2カバーと対向するように前記内部空間に収納され、
前記内部空間は、前記第1面と前記第1カバーとの間に形成される第1空間と、前記第2面と前記第2カバーとの間に形成される第2空間とを有し、
前記スピーカは、前記第1空間側において、前記第1カバーに設けられた凹部に少なくとも一部が埋め込まれるように収納されており、
前記感知部は、前記第2空間側に設けられている
煙感知器。
続きを表示(約 280 文字)
【請求項2】
前記制御基板には、前記第1面から前記第2面まで貫通する貫通孔が設けられており、
前記スピーカは、前記貫通孔を経由して警告音が前記第1空間から前記第2空間側に出力されるように前記第1空間側に配置されている、
請求項1に記載の煙感知器。
【請求項3】
前記制御基板には、給電用のバッテリがさらに搭載されており、
前記バッテリは、前記制御基板を貫通して前記第1空間と前記第2空間を跨がるように配置されており、且つ、前記スピーカと所定距離以上離れた位置に配置されている、
請求項2に記載の煙感知器。
発明の詳細な説明
【技術分野】
【0001】
本開示は、煙感知器の小型化に関するものである。
続きを表示(約 930 文字)
【背景技術】
【0002】
煙感知器は、監視対象の室内での煙の濃度が閾値に達した場合、火災が発生したものとして発報する。
【0003】
従来技術として、以下のような煙感知器がある(例えば、特許文献1参照)。特許文献1に係る煙感知器は、筐体に配置され、電子部品が実装された制御基板と、制御基板から入力される信号に基づいて音を発生するスピーカと、制御基板とスピーカとを接続するバネ端子とを備える。このような構成により、振動に対する強度が強く、作業性の良い感知器を提供することができる。
【先行技術文献】
【特許文献】
【0004】
特開2019-46125号公報
【発明の概要】
【発明が解決しようとする課題】
【0005】
ここで、従来の煙感知器を具体的に例示する。
【0006】
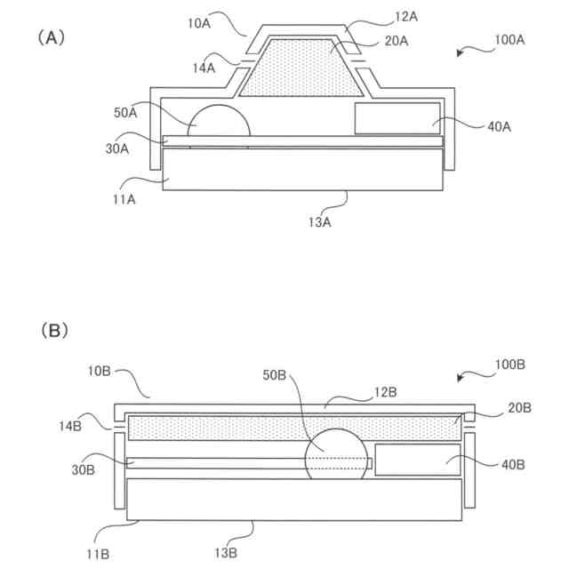
図6は、従来型の煙感知器を例示する斜視図であり、図7は、図6に示す煙感知器とは別のタイプの従来型の煙感知器を例示する斜視図である。
【0007】
図6に示す第1の従来型煙感知器100Aは、筐体10Aを形成する第1カバー11A及び第2カバー12Aを有する。
【0008】
第1カバー11Aは、監視対象の室内における壁、天井の設置面と当接する当接面13Aを有している。第1の従来型煙感知器100Aは、この当接面13Aを介して、当該監視対象の室内に設置される。以下、この監視対象の室内のことを「監視エリア」と称する。
【0009】
第2カバー12Aは、筐体内部と外部とを連通する通気口14を有している。監視エリアで煙が発生した場合、この通気口14Aを通じて煙が筐体10Aの内部に流入する。
【0010】
図7に示す第2の従来型煙感知器100Bにおいても、第1カバー11B、第2カバー12Bを有し、これらが係合することにより、筐体10Bが形成される。第1カバー11Bは、第1の従来型煙感知器100Aと同様に当接面13Bを有しており、第2カバー12Bは通気口14Bを有している。
(【0011】以降は省略されています)
この特許をJ-PlatPat(特許庁公式サイト)で参照する
関連特許
能美防災株式会社
システム
1か月前
能美防災株式会社
煙感知器
今日
能美防災株式会社
表示装置
1か月前
能美防災株式会社
消火装置
1か月前
能美防災株式会社
火災受信機
1か月前
能美防災株式会社
防犯システム
1か月前
能美防災株式会社
火災検知システム
今日
能美防災株式会社
異常検出システム
8日前
能美防災株式会社
トンネル非常用設備
今日
能美防災株式会社
高温部可視化システム
今日
能美防災株式会社
防塵カバー取外し装置
今日
能美防災株式会社
高粘度消火剤粘性回復装置
9日前
能美防災株式会社
煙感知器および火災報知設備
1か月前
能美防災株式会社
火災感知器及び火災報知システム
1か月前
能美防災株式会社
煙感知器の作動試験方法、作動試験器
1か月前
能美防災株式会社
熱感知器用の加熱試験器及び加熱試験方法
1か月前
能美防災株式会社
火災報知システムの表示装置、火災受信機及び火災感知器
7日前
能美防災株式会社
熱式警報器
1か月前
能美防災株式会社
煙検知装置
17日前
能美防災株式会社
煙検知装置
9日前
能美防災株式会社
火災感知器の防塵カバー及び火災感知器の防塵カバーの製造方法
15日前
能美防災株式会社
マルチコプター
1か月前
能美防災株式会社
炎検知システム
1か月前
能美防災株式会社
火災報知システム
1か月前
能美防災株式会社
避難状況表示システム
7日前
能美防災株式会社
警報システム及び検知器
2日前
能美防災株式会社
管理装置及び警報システム
1か月前
能美防災株式会社
火災監視システムおよび火災感知器
今日
能美防災株式会社
火災報知設備の表示装置およびこれを用いた表示システム
1か月前
個人
安全支援装置
1か月前
日本精機株式会社
警報システム
3か月前
個人
自動電動車椅子
2か月前
株式会社SUBARU
車両
1か月前
エムケー精工株式会社
車両誘導装置
3か月前
スズキ株式会社
運転支援装置
3か月前
ニッタン株式会社
検知器
2か月前
続きを見る
他の特許を見る