TOP
|
特許
|
意匠
|
商標
特許ウォッチ
Twitter
他の特許を見る
公開番号
2025160511
公報種別
公開特許公報(A)
公開日
2025-10-22
出願番号
2025134211,2022022165
出願日
2025-08-12,2022-02-16
発明の名称
火災報知システム
出願人
能美防災株式会社
代理人
弁理士法人きさ特許商標事務所
主分類
G08B
17/00 20060101AFI20251015BHJP(信号)
要約
【課題】火災報知設備のユーザの監視又は操作における利便性を向上させることのできる火災報知システムを得る。
【解決手段】表示部及び操作部を備えた火災報知設備と、火災報知設備と通信する携帯端末とを備えた火災報知システムであって、携帯端末は、カメラと、カメラで撮影した火災報知設備の表示部及び操作部の画像と、表示部及び操作部のいずれか又は両方に対する付加情報とを併せて表示する表示装置を備えた。
【選択図】図1
特許請求の範囲
【請求項1】
表示部及び操作部を備えた火災報知設備と、
前記火災報知設備と通信する携帯端末とを備えた火災報知システムであって、
前記携帯端末は、
カメラと、
前記カメラで撮影した前記火災報知設備の前記表示部及び前記操作部の画像と、前記表示部及び前記操作部のいずれか又は両方に対する付加情報とを併せて表示する表示装置とを備えた
火災報知システム。
発明の詳細な説明
【技術分野】
【0001】
本発明は、表示部及び操作部を備えた火災報知設備と、当該火災報知設備と通信する携帯端末とを備えた火災報知システムに関する。
続きを表示(約 1,600 文字)
【背景技術】
【0002】
火災を知らせる火災報知設備として、火災感知器、発信機、火災受信機、放送設備、又は表示機などがある。これら火災報知設備のうち、発信機、火災受信機又は表示機のように、ユーザに視覚的に情報を伝える表示部と、ユーザからの操作を受け付ける操作部とを備えたものがある。例えば特許文献1には、平面ディスプレイとタッチパッドとからなるタッチパネルディスプレイを用いた表示部及び操作部を備えた火災受信機が開示されている。
【先行技術文献】
【特許文献】
【0003】
特開2021-176114号公報
【発明の概要】
【発明が解決しようとする課題】
【0004】
火災報知設備は、建物の監視担当者によって日常的に監視されているが、操作される場面は限られている。監視担当者は、監視方法及び操作方法を事前に訓練によって習得するが、実際の操作場面は限られているため、いざ操作しようとしたときに、表示されている情報の把握及びその操作方法に戸惑うこともある。
【0005】
本発明は、上記のような課題を背景としたものであり、火災報知設備のユーザの監視又は操作における利便性を向上させることのできる火災報知システムを提供するものである。
【課題を解決するための手段】
【0006】
本発明に係る火災報知システムは、表示部及び操作部を備えた火災報知設備と、前記火災報知設備と通信する携帯端末とを備えた火災報知システムであって、前記携帯端末は、カメラと、前記カメラで撮影した前記火災報知設備の前記表示部及び前記操作部の画像と、前記表示部及び前記操作部のいずれか又は両方に対する付加情報とを併せて表示する表示装置を備えたものである。
【発明の効果】
【0007】
本発明によれば、火災報知設備と通信する携帯端末が、カメラで撮影した火災報知設備の表示部及び操作部の画像と、表示部及び操作部のいずれか又は両方に対する付加情報とを併せて表示する。このため、ユーザは携帯端末の付加情報を参照することで、火災報知設備を監視又は操作しやすくなる。
【図面の簡単な説明】
【0008】
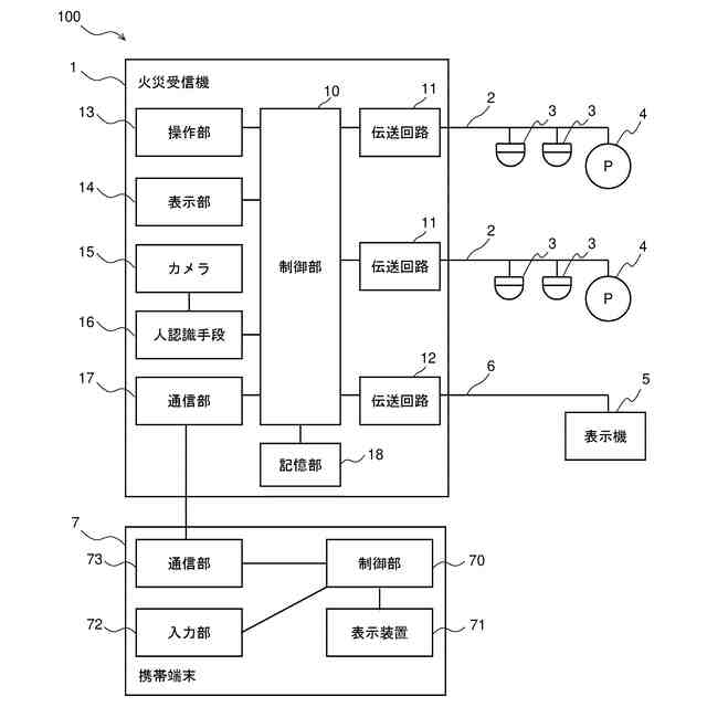
実施の形態に係る火災報知システムの構成を説明する図である。
実施の形態に係る火災報知システムの火災受信機と携帯端末の表示例を説明する図である。
実施の形態に係る火災受信機の動作を説明するフローチャートである。
【発明を実施するための形態】
【0009】
以下、本発明の実施の形態を、図面を参照して説明する。本発明は、以下の実施の形態に限定されるものではなく、本発明の主旨を逸脱しない範囲で種々に変形することが可能である。また、本発明は、以下の実施の形態に示す構成のうち、組合せ可能な構成のあらゆる組合せを含むものである。また、図面に示す装置は、本発明の装置の一例を示すものであり、図面に示された装置によって本発明の装置が限定されるものではない。また、各図において、同一の符号を付したものは、同一の又はこれに相当するものであり、これは明細書の全文において共通している。
【0010】
実施の形態.
図1は、実施の形態に係る火災報知システム100の構成を説明する図である。火災報知システム100は、火災受信機1と、感知器回線2を介して火災受信機1に接続された火災感知器3及び発信機4と、表示機回線6を介して火災受信機1に接続された表示機5と、携帯端末7とを備える。火災受信機1と携帯端末7とは、通信接続されている。火災受信機1、発信機4及び表示機5は、操作部と表示部とを備えた火災報知設備の一例である。なお、図示された感知器回線2及び表示機回線6の数は一例であり、数は図示のものに限定されない。
(【0011】以降は省略されています)
この特許をJ-PlatPat(特許庁公式サイト)で参照する
関連特許
能美防災株式会社
消火装置
23日前
能美防災株式会社
表示装置
24日前
能美防災株式会社
照射装置
1か月前
能美防災株式会社
システム
1か月前
能美防災株式会社
火災受信機
1か月前
能美防災株式会社
火災受信機
1か月前
能美防災株式会社
携帯型電灯
1か月前
能美防災株式会社
火災受信機
1か月前
能美防災株式会社
火災受信機
1か月前
能美防災株式会社
水噴霧ヘッド
1か月前
能美防災株式会社
感知システム
1か月前
能美防災株式会社
感知システム
1か月前
能美防災株式会社
車両システム
1か月前
能美防災株式会社
車両システム
1か月前
能美防災株式会社
防犯システム
12日前
能美防災株式会社
深部火災検知装置
1か月前
能美防災株式会社
着脱式避難誘導灯
1か月前
能美防災株式会社
画像表示システム
1か月前
能美防災株式会社
異常検出システム
1か月前
能美防災株式会社
スプリンクラ消火設備
1か月前
能美防災株式会社
防災機器及び消火栓装置
1か月前
能美防災株式会社
エアーコンディショナー
1か月前
能美防災株式会社
信号検出装置および警報器
1か月前
能美防災株式会社
煙感知器および火災報知設備
25日前
能美防災株式会社
中継器および通信テスト方法
1か月前
能美防災株式会社
熱感知器及び熱感知システム
1か月前
能美防災株式会社
スプリンクラヘッドの散水反射板
1か月前
能美防災株式会社
火災感知器及び火災報知システム
1か月前
能美防災株式会社
電子タグ及び位置情報通信システム
1か月前
能美防災株式会社
煙感知器の作動試験方法、作動試験器
1か月前
能美防災株式会社
スプリンクラヘッド用シーリング部材
1か月前
能美防災株式会社
熱感知器用の加熱試験器及び加熱試験方法
18日前
能美防災株式会社
異常検知システム、管理装置及び中継装置
1か月前
能美防災株式会社
スプリンクラヘッド用ガイドリング及びその製造方法
1か月前
能美防災株式会社
無線機
1か月前
能美防災株式会社
熱式警報器
19日前
続きを見る
他の特許を見る