TOP
|
特許
|
意匠
|
商標
特許ウォッチ
Twitter
他の特許を見る
公開番号
2025149197
公報種別
公開特許公報(A)
公開日
2025-10-08
出願番号
2024049685
出願日
2024-03-26
発明の名称
エアーコンディショナー
出願人
能美防災株式会社
代理人
弁理士法人エビス国際特許事務所
主分類
F24F
11/33 20180101AFI20251001BHJP(加熱;レンジ;換気)
要約
【課題】本発明は、火災感知器に非火災報を生じさせにくいエアーコンディショナーを提供することを課題とする。
【解決手段】本発明のエアーコンディショナーは、風向制御装置と、メモリーとを備え、前記メモリーに火災感知器位置を記憶し、送風する際に、前記風向制御装置により前記火災感知器位置を避けて送風することを特徴とする。
【選択図】 図3
特許請求の範囲
【請求項1】
風向制御装置と、メモリーとを備え、
前記メモリーに火災感知器位置を記憶し、
送風する際に、前記風向制御装置により前記火災感知器位置を避けて送風することを特徴とするエアーコンディショナー。
続きを表示(約 330 文字)
【請求項2】
カメラを備え、
前記カメラの画像から前記火災感知器位置を判定して記憶することを特徴とする請求項1に記載されたエアーコンディショナー。
【請求項3】
暖房運転の時のみ、前記風向制御装置により前記火災感知器位置を避けて送風することを特徴とする請求項1に記載されたエアーコンディショナー。
【請求項4】
前記火災感知器位置は操作により記憶されることを特徴とする請求項1に記載されたエアーコンディショナー。
【請求項5】
前記風向制御装置により送風開始から所定時間だけ前記火災感知器位置を避けて送風することを特徴とする請求項1乃至4のいずれか一項に記載されたエアーコンディショナー。
発明の詳細な説明
【技術分野】
【0001】
本発明は、火災感知器の近傍に設置可能なエアーコンディショナーに関する。
続きを表示(約 1,500 文字)
【背景技術】
【0002】
特許文献1、2に示されているように、エアーコンディショナーの室内機は、室内の天井付近に設置されて、室内に温風や冷風を供給する。そして、火災を検出する火災感知器は、室内の天井に設置されることが多い。
【先行技術文献】
【特許文献】
【0003】
実開平3-18422号公報
特開2023-23524号公報
【発明の概要】
【発明が解決しようとする課題】
【0004】
火災感知器がエアーコンディショナーの室内機から温風や冷風をうけると、火災が生じていない状態で火災を感知してしまう非火災報が生じる可能性がある。例えば、火災感知器の一種であるスポット型の差動式熱感知器は、火災による急激な温度上昇変化を感知して火災発報する。そのため、エアーコンディショナーからの温風が当たると非火災報が生じてしまう可能性がある。特に、寒い室内を急速に暖めようとすると、スポット型の差動式熱感知器が急激に暖められて非火災報が生じる可能性が高くなる。分布型の差動式熱感知器でも同様に非火災報が生じる可能性がある。
【0005】
また、スポット型煙感知器は、火災の煙による光の散乱を捉えて火災発報する。そして、エアーコンディショナーからの送風で塵埃がスポット型煙感知器の中に入ると、塵埃による光の散乱が生じて非火災報が生じてしまう可能性がある。特に、季節の変わり目で室内機による送風路が変化した場合に、室内機の内外にたまった塵埃を空中に浮遊させて非火災報が生じる可能性がある。光電式分離型煙感知器でも塵埃により光が遮断されて非火災報が生じる可能性がある。
【0006】
本発明は、火災感知器に非火災報を生じさせにくいエアーコンディショナーを提供することを課題とする。
【課題を解決するための手段】
【0007】
本発明の一実施形態におけるエアーコンディショナーは、風向制御装置と、メモリーとを備え、前記メモリーに火災感知器位置を記憶し、送風する際に、前記風向制御装置により前記火災感知器位置を避けて送風することを特徴とする。
【発明の効果】
【0008】
本発明により、火災感知器に非火災報を生じさせにくいエアーコンディショナーを提供することができる。
【図面の簡単な説明】
【0009】
天井に設置された実施例1における室内機等の縦断面図。
実施例1における室内機の内部構成を示す図。
実施例1におけるエアーコンディショナーの動作フロー図。
天井に設置された実施例2における室内機等の縦断面図。
実施例2における室内機の内部構成を示す図。
天井に設置された実施例2の変形例における室内機の図。
天井に設置された実施例3における室内機の縦断面図。
実施例3におけるエアーコンディショナーの動作フロー図。
【発明を実施するための形態】
【実施例】
【0010】
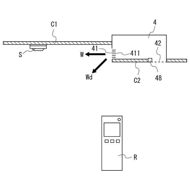
実施例1のエアーコンディショナーは、室外機(図示せず)と、図1に記載された室内機1とを有し、室内機1から冷風と温風を送風可能である。図1は、天井に設置された実施例1におけるエアーコンディショナーの室内機1の縦断面図である。室内機1と天井板C1、C2は断面で記載し、火災感知器Sは側面を記載している。図1の室内機1は、熱交換器や送風ファン等の内部構成の一部について記載を省略している。また、図1では、エアーコンディショナーを赤外線でコントロールするリモートコントローラーRをイメージ的に記載している。
(【0011】以降は省略されています)
この特許をJ-PlatPat(特許庁公式サイト)で参照する
関連特許
能美防災株式会社
表示装置
1か月前
能美防災株式会社
煙感知器
5日前
能美防災株式会社
システム
2か月前
能美防災株式会社
消火装置
1か月前
能美防災株式会社
照射装置
2か月前
能美防災株式会社
消火設備
2か月前
能美防災株式会社
携帯型電灯
2か月前
能美防災株式会社
火災受信機
2か月前
能美防災株式会社
火災受信機
2か月前
能美防災株式会社
火災受信機
2か月前
能美防災株式会社
火災受信機
1か月前
能美防災株式会社
消火栓装置
今日
能美防災株式会社
水噴霧ヘッド
2か月前
能美防災株式会社
防災システム
2か月前
能美防災株式会社
感知システム
2か月前
能美防災株式会社
感知システム
2か月前
能美防災株式会社
車両システム
2か月前
能美防災株式会社
車両システム
2か月前
能美防災株式会社
感知器ベース
2か月前
能美防災株式会社
防災システム
3か月前
能美防災株式会社
防犯システム
1か月前
能美防災株式会社
着脱式避難誘導灯
2か月前
能美防災株式会社
異常検出システム
13日前
能美防災株式会社
異常検出システム
2か月前
能美防災株式会社
画像表示システム
2か月前
能美防災株式会社
深部火災検知装置
2か月前
能美防災株式会社
火災検知システム
5日前
能美防災株式会社
トンネル非常用設備
5日前
能美防災株式会社
防塵カバー取外し装置
5日前
能美防災株式会社
中継器の配線接続構造
2か月前
能美防災株式会社
スプリンクラ消火設備
2か月前
能美防災株式会社
高温部可視化システム
5日前
能美防災株式会社
エアーコンディショナー
2か月前
能美防災株式会社
防災機器及び消火栓装置
2か月前
能美防災株式会社
信号検出装置および警報器
2か月前
能美防災株式会社
高粘度消火剤粘性回復装置
14日前
続きを見る
他の特許を見る