TOP
|
特許
|
意匠
|
商標
特許ウォッチ
Twitter
他の特許を見る
公開番号
2025179316
公報種別
公開特許公報(A)
公開日
2025-12-10
出願番号
2024085986
出願日
2024-05-28
発明の名称
消火栓装置
出願人
能美防災株式会社
代理人
個人
主分類
A62C
35/20 20060101AFI20251203BHJP(人命救助;消防)
要約
【課題】消火栓装置の正面で発生した火災に対し、迅速に消火を開始できる消火栓装置を提供する。
【解決手段】本発明に係る消火栓装置1は、消火用ホース7と、消火用ホース7を収容する筐体3を有するものであって、消火用ホース7に消火水を供給する給水配管25における消火栓弁27の一次側から分岐した分岐配管33と、分岐配管33の経路中に設けられた感熱開放継手35と、分岐配管33における感熱開放継手35の二次側に設けられ、分岐配管33から供給された消火水を筐体3の前方に向けて放出する固定ノズル37と、を備え、感熱開放継手35は、平常時には前記経路を閉鎖し、筐体3の正面やその近傍で火災が発生した際には該火災の熱によって固定ノズル37側に水が流れるよう前記経路を開放することを特徴とする。
【選択図】 図1
特許請求の範囲
【請求項1】
消火用ホースと、該消火用ホースを収容する筐体を有する消火栓装置であって、
前記消火用ホースに消火水を供給する給水配管における消火栓弁の一次側から分岐した分岐配管と、
該分岐配管の経路中に設けられた感熱開放継手と、
前記分岐配管における前記感熱開放継手の二次側に設けられ、該分岐配管から供給された消火水を前記筐体の前方に向けて放出する固定ノズルと、を備え、
前記感熱開放継手は、平常時には前記経路を閉鎖し、前記筐体の正面やその近傍で火災が発生した際には該火災の熱によって前記固定ノズル側に水が流れるよう前記経路を開放することを特徴とする消火栓装置。
続きを表示(約 390 文字)
【請求項2】
前記筐体の前面パネル、又は前面パネルに設けられた扉体に形成された開口窓部を備え、前記開口窓部から前記固定ノズルが消火水を放出することを特徴とする請求項1に記載の消火栓装置。
【請求項3】
前記開口窓部を塞ぐ蓋部材をさらに備え、該蓋部材は、前記固定ノズルから放出された消火水の水圧によって開放するように設けられていることを特徴とする請求項2に記載の消火栓装置。
【請求項4】
前記固定ノズルからの放水を検知し、前記給水配管に消火水を送水するポンプを起動させるポンプ起動手段と、をさらに備えたことを特徴とする請求項1乃至3のいずれか一項に記載の消火栓装置。
【請求項5】
前記蓋部材の開放を検知し、前記給水配管に消火水を送水するポンプを起動させるポンプ起動手段と、をさらに備えたことを特徴とする請求項3に記載の消火栓装置。
発明の詳細な説明
【技術分野】
【0001】
本発明は、高速自動車道路等のトンネル等に設置される消火栓装置に関する。
続きを表示(約 1,700 文字)
【背景技術】
【0002】
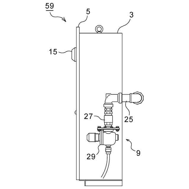
高速自動車道路等のトンネルには、例えば特許文献1に開示されるような消火栓装置が設置されている。従来の消火栓装置について図6、図7を用いて具体的に説明する。
図6は、トンネルに設置される従来の消火栓装置59の一例を示した正面図である。
図7は、図6に示した消火栓装置59の側面図である。図7では、便宜上、内部の配管系統を実線で示している。
【0003】
従来の消火栓装置59は、図6、図7に示すように、先端にノズルを有する消火用ホース7(一部のみ図示)と、消火用ホース7を収容する筐体3と、筐体3の前面に設けられた前面パネル5を備えている。
また、筐体3内には、給水配管25、消火栓弁27、自動調圧弁29などを有する配管系統9が設けられている。給水配管25は、一端側が消火用ホースの基端側と接続され、他端側がトンネル21内に配設された給水本管23から分岐した立上り管31(図8参照)に接続されている。
前面パネル5における消火用ホース7及び配管系統9に面する位置には開口部が設けられており、該開口部には、消火栓扉11が開閉可能に設けられている。
【0004】
このような従来の消火栓装置59では、消火活動者が消火栓扉11を開放して、消火栓扉11の内側に保持されているノズルを取り出し、消火用ホース7を引き出しながら消火活動に適した場所に移動し、ノズルに設けられた操作部を操作して消火栓弁27を開放して放水を行っていた。
【先行技術文献】
【特許文献】
【0005】
特開2020-36942号公報
【発明の概要】
【発明が解決しようとする課題】
【0006】
上述した従来の消火栓装置59は、例えば図8に示すように、トンネル21の側壁に50mの間隔を設けて設置される。トンネル21内で車両火災が発生した際には、火災に最も近い消火栓装置59から消火用ホース7を引き出して消火活動が行われる。
【0007】
しかし、図8の火災Fのように、消火栓装置59の正面で車両火災が発生した場合、火災に最も近い消火栓装置59の付近は高温になるため、人が近づくことができない。したがって、50m離れた隣接する消火栓装置59から消火用ホース7を引き出す必要があり、消火開始までに時間を要するという問題があった。
また、消火開始に時間を要すると、火災に近い消火栓装置59の損傷が大きくなり、消火栓装置59を交換する必要が生じて、大きなコストがかかっていた。
【0008】
本発明は、上記のような課題を解決するためになされたものであり、消火栓装置の正面やその近傍で発生した火災に対し、迅速に消火を開始でき、また、消火栓装置を火災から保護することができる消火栓装置を提供することを目的とする。
【課題を解決するための手段】
【0009】
(1)本発明に係る消火栓装置は、消火用ホースと、該消火用ホースを収容する筐体を有するものであって、
前記消火用ホースに消火水を供給する給水配管における消火栓弁の一次側から分岐した分岐配管と、
該分岐配管の経路中に設けられた感熱開放継手と、
前記分岐配管における前記感熱開放継手の二次側に設けられ、該分岐配管から供給された消火水を前記筐体の前方に向けて放出する固定ノズルと、を備え、
前記感熱開放継手は、平常時には前記経路を閉鎖し、前記筐体の正面やその近傍で火災が発生した際には該火災の熱によって前記固定ノズル側に水が流れるよう前記経路を開放することを特徴とするものである。
【0010】
(2)また、上記(1)に記載のものにおいて、前記筐体の前面パネル、又は前面パネルに設けられた扉体に形成された開口窓部を備え、前記開口窓部から前記固定ノズルが消火水を放出することを特徴とするものである。
(【0011】以降は省略されています)
この特許をJ-PlatPat(特許庁公式サイト)で参照する
関連特許
能美防災株式会社
表示灯
3か月前
能美防災株式会社
消火装置
1か月前
能美防災株式会社
消火設備
2か月前
能美防災株式会社
煙感知器
6日前
能美防災株式会社
照射装置
2か月前
能美防災株式会社
システム
2か月前
能美防災株式会社
表示装置
1か月前
能美防災株式会社
消火栓装置
1日前
能美防災株式会社
火災受信機
3か月前
能美防災株式会社
携帯型電灯
2か月前
能美防災株式会社
火災受信機
2か月前
能美防災株式会社
火災受信機
2か月前
能美防災株式会社
火災受信機
1か月前
能美防災株式会社
火災受信機
2か月前
能美防災株式会社
感知システム
2か月前
能美防災株式会社
防犯システム
1か月前
能美防災株式会社
防災システム
3か月前
能美防災株式会社
感知器ベース
2か月前
能美防災株式会社
防災システム
2か月前
能美防災株式会社
水噴霧ヘッド
2か月前
能美防災株式会社
感知システム
2か月前
能美防災株式会社
車両システム
2か月前
能美防災株式会社
車両システム
2か月前
能美防災株式会社
深部火災検知装置
2か月前
能美防災株式会社
火災監視システム
3か月前
能美防災株式会社
火災検知システム
6日前
能美防災株式会社
画像表示システム
2か月前
能美防災株式会社
異常検出システム
2か月前
能美防災株式会社
着脱式避難誘導灯
2か月前
能美防災株式会社
延焼防止システム
3か月前
能美防災株式会社
異常検出システム
14日前
能美防災株式会社
トンネル非常用設備
6日前
能美防災株式会社
スプリンクラ消火設備
2か月前
能美防災株式会社
中継器の配線接続構造
2か月前
能美防災株式会社
高温部可視化システム
6日前
能美防災株式会社
防塵カバー取外し装置
6日前
続きを見る
他の特許を見る