TOP
|
特許
|
意匠
|
商標
特許ウォッチ
Twitter
他の特許を見る
公開番号
2025176814
公報種別
公開特許公報(A)
公開日
2025-12-05
出願番号
2024083154
出願日
2024-05-22
発明の名称
防塵カバー取外し装置
出願人
能美防災株式会社
代理人
弁理士法人きさ特許商標事務所
主分類
G08B
17/06 20060101AFI20251128BHJP(信号)
要約
【課題】長尺の操作支持棒を用いずとも火災感知器の防塵カバーを取り外すことのできる防塵カバー取外し装置を得る。
【解決手段】火災感知器の防塵カバー取外し装置1は、遠隔操作又は自律運転により上空を移動する無人飛行体2と、無人飛行体2に取り付けられた取外し具3を備える。取外し具3は、火災感知器の少なくとも一部を覆う防塵カバーと火災感知器の設置場所との間に挿入されて、防塵カバーを火災感知器から取り外すように構成されている。
【選択図】図1
特許請求の範囲
【請求項1】
無人飛行体と、
前記無人飛行体に取り付けられ、火災感知器の少なくとも一部を覆う防塵カバーと前記火災感知器の設置場所との間に挿入されて前記防塵カバーを前記火災感知器から取り外す取外し具と、を備えた
防塵カバー取外し装置。
続きを表示(約 620 文字)
【請求項2】
前記取外し具は、
前記無人飛行体から延びる第1脚部と、
前記第1脚部に対して交差する方向に延び、前記防塵カバーと前記設置場所との間に挿入される係合部とを備えた
請求項1に記載の防塵カバー取外し装置。
【請求項3】
前記係合部の前記防塵カバーと対向する面は、前記第1脚部から離れるほど前記係合部の厚みが小さくなるように傾斜した傾斜面を有している
請求項2に記載の防塵カバー取外し装置。
【請求項4】
前記無人飛行体に取り付けられ、前記取外し具との間に隙間を有して配置されたガイド部を備え、
前記隙間は、前記火災感知器の直径よりも大きく、前記取外し具と前記ガイド部との間に前記火災感知器を挿入可能である
請求項1~請求項3のいずれか一項に記載の防塵カバー取外し装置。
【請求項5】
前記取外し具は、
前記無人飛行体から上へ延びる第1脚部と、
前記第1脚部の上端からU字状又はV字状に下へ向かって曲がった係合部とを備え、
前記係合部が、前記防塵カバーに設けられた開口部に挿入される
請求項1に記載の防塵カバー取外し装置。
【請求項6】
前記取外し具の前記曲がった係合部には、前記防塵カバーが落下又は飛散することを防ぐことができる構造を設けた
請求項5に記載の防塵カバー取外し装置。
発明の詳細な説明
【技術分野】
【0001】
本発明は、火災感知器の防塵カバーを取り外す防塵カバー取外し装置に関する。
続きを表示(約 1,500 文字)
【背景技術】
【0002】
火災感知器は建物の天井又は壁等に設置されるが、建物の工事中には、発生する埃又は粉塵等によって火災感知器が汚れうる。例えば特許文献1には、そのような汚れから保護するために火災感知器に取り付けられる防塵カバーと、防塵カバーを着脱する着脱器が開示されている。特許文献1に記載の着脱器には、天井に届く長さの長尺な操作支持棒が連結され、作業者が操作支持棒を持って防塵カバーを火災感知器から取り外す。
【先行技術文献】
【特許文献】
【0003】
特許第6982425号公報
【発明の概要】
【発明が解決しようとする課題】
【0004】
ところが、天井に届く長さの操作支持棒は、天井の高さにもよるが、4m~6mに及ぶこともあり、これ以上に長い操作支持棒を要する高さの天井もある。例えば6mの操作支持棒を操作するためには、相当な腕力が必要である。また、6mの高さにある火災感知器の付近を目視することも困難である。このため、操作支持棒を用いて高い天井に設置された火災感知器の防塵カバーを取り外そうとすると、火災感知器を破損してしまったり、操作に時間を要したりすることがあった。
【0005】
本発明は、上記のような事項を背景としてなされたものであり、長尺の操作支持棒を用いずとも火災感知器の防塵カバーを取り外すことのできる防塵カバー取外し装置を提供するものである。
【課題を解決するための手段】
【0006】
本発明に係る防塵カバー取外し装置は、無人飛行体と、前記無人飛行体に取り付けられ、火災感知器の少なくとも一部を覆う防塵カバーと前記火災感知器の設置場所との間に挿入されて前記防塵カバーを前記火災感知器から取り外す取外し具と、を備えたものである。
【発明の効果】
【0007】
本発明によれば、無人飛行体に取外し具が取り付けられているため、火災感知器の防塵カバーを長尺の操作支持棒を用いずとも取り外すことができる。
【図面の簡単な説明】
【0008】
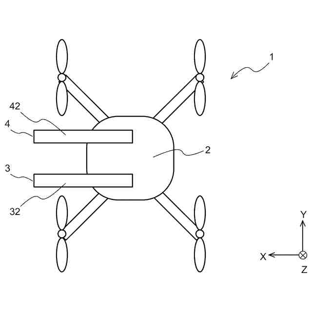
実施の形態1に係る防塵カバー取外し装置の概略正面図である。
実施の形態1に係る防塵カバー取外し装置の概略側面図である。
実施の形態1に係る防塵カバー取外し装置の概略上面図である。
実施の形態1に係る防塵カバー取外し装置の作用を説明する図である。
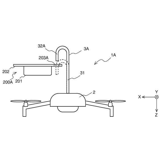
実施の形態2に係る防塵カバー取外し装置の概略正面図である。
【発明を実施するための形態】
【0009】
以下、本発明の実施の形態を、図面を参照して説明する。本発明は、以下の実施の形態に限定されるものではなく、本発明の主旨を逸脱しない範囲で種々に変形することが可能である。また、本発明は、以下の実施の形態に示す構成のうち、組合せ可能な構成のあらゆる組合せを含むものである。また、図面に示す構成は、本発明の一例を示すものであり、図面に示された態様によって本発明が限定されるものではない。また、各図において、同一の符号を付したものは、同一の又はこれに相当するものであり、これは明細書の全文において共通している。
【0010】
実施の形態1.
本実施の形態では、火災感知器に取りつけられる防塵カバーを取り外す防塵カバー取外し装置1について説明する。ここで、防塵カバーは、建物の天井又は壁等に取り付けられた火災感知器を、建物の工事中に生じる埃又は粉塵等から保護するものである。防塵カバーは、工事終了後には火災感知器から取り外される。
(【0011】以降は省略されています)
この特許をJ-PlatPat(特許庁公式サイト)で参照する
関連特許
能美防災株式会社
照射装置
1か月前
能美防災株式会社
消火設備
2か月前
能美防災株式会社
煙感知器
今日
能美防災株式会社
システム
1か月前
能美防災株式会社
表示装置
1か月前
能美防災株式会社
消火装置
1か月前
能美防災株式会社
火災受信機
1か月前
能美防災株式会社
火災受信機
1か月前
能美防災株式会社
携帯型電灯
2か月前
能美防災株式会社
火災受信機
1か月前
能美防災株式会社
火災受信機
1か月前
能美防災株式会社
車両システム
1か月前
能美防災株式会社
防災システム
2か月前
能美防災株式会社
水噴霧ヘッド
2か月前
能美防災株式会社
感知器ベース
2か月前
能美防災株式会社
車両システム
1か月前
能美防災株式会社
感知システム
1か月前
能美防災株式会社
防災システム
2か月前
能美防災株式会社
防犯システム
1か月前
能美防災株式会社
感知システム
1か月前
能美防災株式会社
画像表示システム
1か月前
能美防災株式会社
異常検出システム
8日前
能美防災株式会社
異常検出システム
1か月前
能美防災株式会社
火災検知システム
今日
能美防災株式会社
着脱式避難誘導灯
1か月前
能美防災株式会社
深部火災検知装置
1か月前
能美防災株式会社
トンネル非常用設備
今日
能美防災株式会社
高温部可視化システム
今日
能美防災株式会社
防塵カバー取外し装置
今日
能美防災株式会社
スプリンクラ消火設備
2か月前
能美防災株式会社
中継器の配線接続構造
2か月前
能美防災株式会社
エアーコンディショナー
1か月前
能美防災株式会社
防災機器及び消火栓装置
1か月前
能美防災株式会社
信号検出装置および警報器
1か月前
能美防災株式会社
高粘度消火剤粘性回復装置
9日前
能美防災株式会社
塵芥車の火災検知システム
2か月前
続きを見る
他の特許を見る