TOP
|
特許
|
意匠
|
商標
特許ウォッチ
Twitter
他の特許を見る
公開番号
2025143007
公報種別
公開特許公報(A)
公開日
2025-10-01
出願番号
2024042671
出願日
2024-03-18
発明の名称
塵芥車の火災検知システム
出願人
能美防災株式会社
代理人
弁理士法人エビス国際特許事務所
主分類
B65F
3/00 20060101AFI20250924BHJP(運搬;包装;貯蔵;薄板状または線条材料の取扱い)
要約
【課題】本発明は、非火災報が生じにくい塵芥車の火災検知システムを提供することを課題とする。
【解決手段】本発明における塵芥車の火災検知システムは、浮遊塵が通過せず煙が通過する浮遊塵フィルターと、煙感知器と、を備え、前記浮遊塵フィルターは、ゴミ収容室において、前記煙感知器を覆って設けられていることを特徴とする。
【選択図】 図1
特許請求の範囲
【請求項1】
浮遊塵が通過せず煙が通過する浮遊塵フィルターと、
煙感知器と、を備え、
前記浮遊塵フィルターは、ゴミ収容室において、前記煙感知器を覆って設けられていることを特徴とする塵芥車の火災検知システム。
続きを表示(約 430 文字)
【請求項2】
前記浮遊塵フィルターは、目詰まり抑止機構により目詰まりを抑止することを特徴とする請求項1に記載された塵芥車の火災検知システム。
【請求項3】
前記目詰まり抑止機構は、前記浮遊塵フィルターを振動させて、浮遊塵が付着しないようにすることを特徴とする請求項2に記載された塵芥車の火災検知システム。
【請求項4】
前記目詰まり抑止機構は、前記浮遊塵フィルターに送風して清掃することを特徴とする請求項2に記載された塵芥車の火災検知システム。
【請求項5】
前記煙感知器は、ホットゾーンを避けて前記ゴミ収容室の天井から離間して位置することを特徴とする請求項1乃至4のいずれか一項に記載された塵芥車の火災検知システム。
【請求項6】
前記煙感知器と前記浮遊塵フィルターは、ゴミ投入部の投入部側面板から離間して投入部天板に設置されることを特徴とする請求項5に記載された塵芥車の火災検知システム。
発明の詳細な説明
【技術分野】
【0001】
本発明は、塵芥車に設置される火災検知システムに関する。
続きを表示(約 1,100 文字)
【背景技術】
【0002】
塵芥車は、車両と車両に搭載されたゴミ収容室と、ゴミ収容室の開口部に設けられたゴミ投入部とを備え、ゴミ投入部に配設された回転板や押込み板などによって投入されたゴミを押圧してゴミ収容室に収容する。
【0003】
回収するゴミにモバイル電池等が混入されていると、回転板や押込み板などでゴミを押し込む際に、モバイル電池等が潰れて発火し、ゴミ収容室内で火災が発生する可能性がある。特許文献1では、塵芥車に煙感知器と熱感知器を設けて、火災を検出した際に消火を行う。
【先行技術文献】
【特許文献】
【0004】
特開2015-112312号公報
【発明の概要】
【発明が解決しようとする課題】
【0005】
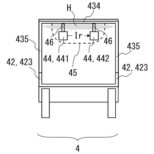
ゴミ回収の際に、発火したモバイル電池等がゴミの下部にあり、モバイル電池等の周辺の火災が他のゴミに埋もれていると、熱感知器での火災検知は難しく、火災検知したときには大きな火災となっている可能性がある。特に、塵芥車では、ゴミ投入部により下から押し上げるような形でゴミ収容室内にゴミが収容されるため、モバイル電池等があった場合には潰れた後にゴミの下に位置する可能性が高い。
【0006】
煙感知器では、ゴミの下部で発生した火災から煙が上がってゴミの外に出るため、熱感知器より早期に火災を感知できる。しかし、塵芥車のゴミ収容室では浮遊塵を煙として煙感知器が誤感知して非火災報が生じる可能性がある。
【0007】
本発明は、非火災報が生じにくい塵芥車の火災検知システムを提供することを課題とする。
【課題を解決するための手段】
【0008】
本発明の一実施形態における塵芥車の火災検知システムは、浮遊塵が通過せず煙が通過する浮遊塵フィルターと、煙感知器と、を備え、前記浮遊塵フィルターは、ゴミ収容室において、前記煙感知器を覆って設けられていることを特徴とする。
【発明の効果】
【0009】
本発明により、非火災報が生じにくい塵芥車の火災検知システムを提供することができる。
【図面の簡単な説明】
【0010】
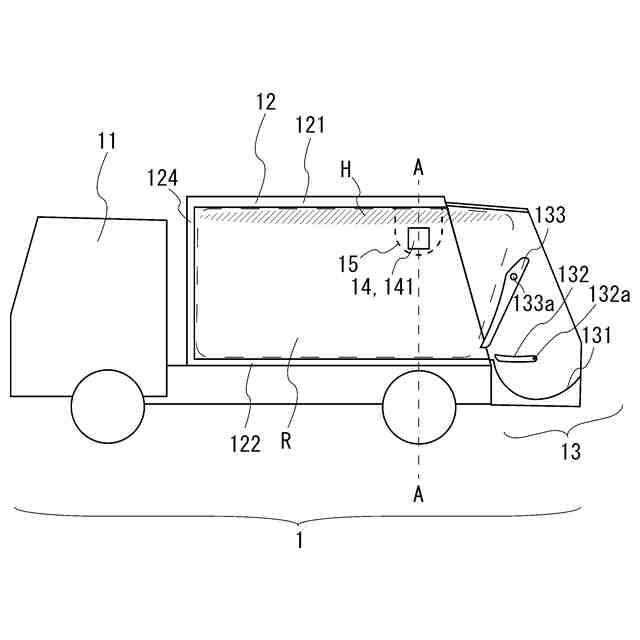
実施例1における塵芥車の側面図。
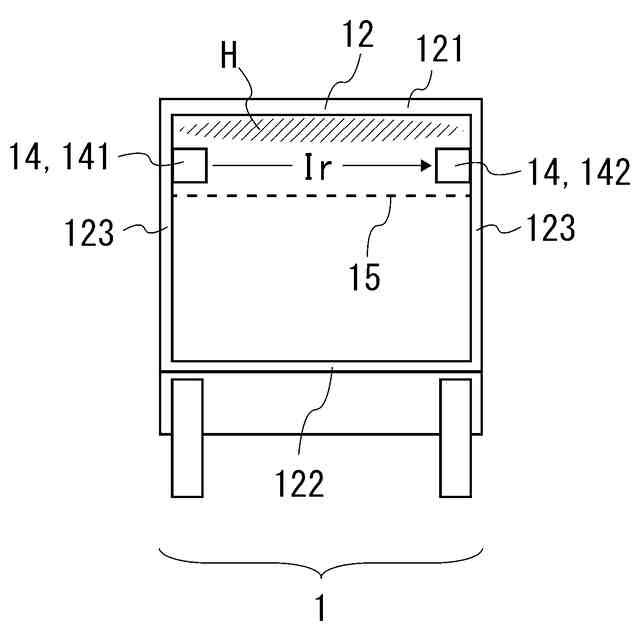
実施例1における塵芥車のA-A面断面図。
実施例2における塵芥車の側面図。
実施例3における塵芥車の側面図。
実施例4における塵芥車の側面図。
実施例4における塵芥車のB-B面断面図。
ゴミ排出時の実施例4における塵芥車の側面図。
【発明を実施するための形態】
【実施例】
(【0011】以降は省略されています)
この特許をJ-PlatPat(特許庁公式サイト)で参照する
関連特許
能美防災株式会社
消火装置
23日前
能美防災株式会社
表示装置
24日前
能美防災株式会社
照射装置
1か月前
能美防災株式会社
システム
1か月前
能美防災株式会社
火災受信機
1か月前
能美防災株式会社
火災受信機
1か月前
能美防災株式会社
携帯型電灯
1か月前
能美防災株式会社
火災受信機
1か月前
能美防災株式会社
火災受信機
1か月前
能美防災株式会社
水噴霧ヘッド
1か月前
能美防災株式会社
感知システム
1か月前
能美防災株式会社
感知システム
1か月前
能美防災株式会社
車両システム
1か月前
能美防災株式会社
車両システム
1か月前
能美防災株式会社
防犯システム
12日前
能美防災株式会社
深部火災検知装置
1か月前
能美防災株式会社
異常検出システム
1か月前
能美防災株式会社
画像表示システム
1か月前
能美防災株式会社
着脱式避難誘導灯
1か月前
能美防災株式会社
スプリンクラ消火設備
1か月前
能美防災株式会社
エアーコンディショナー
1か月前
能美防災株式会社
防災機器及び消火栓装置
1か月前
能美防災株式会社
信号検出装置および警報器
1か月前
能美防災株式会社
塵芥車の火災検知システム
1か月前
能美防災株式会社
中継器および通信テスト方法
1か月前
能美防災株式会社
煙感知器および火災報知設備
25日前
能美防災株式会社
熱感知器及び熱感知システム
1か月前
能美防災株式会社
火災感知器及び火災報知システム
1か月前
能美防災株式会社
スプリンクラヘッドの散水反射板
1か月前
能美防災株式会社
電子タグ及び位置情報通信システム
1か月前
能美防災株式会社
煙感知器の作動試験方法、作動試験器
1か月前
能美防災株式会社
スプリンクラヘッド用シーリング部材
1か月前
能美防災株式会社
熱感知器用の加熱試験器及び加熱試験方法
18日前
能美防災株式会社
異常検知システム、管理装置及び中継装置
1か月前
能美防災株式会社
スプリンクラヘッド用ガイドリング及びその製造方法
1か月前
能美防災株式会社
無線機
1か月前
続きを見る
他の特許を見る