TOP
|
特許
|
意匠
|
商標
特許ウォッチ
Twitter
他の特許を見る
公開番号
2025147255
公報種別
公開特許公報(A)
公開日
2025-10-07
出願番号
2024047439
出願日
2024-03-25
発明の名称
スプリンクラヘッド用ガイドリング及びその製造方法
出願人
能美防災株式会社
代理人
個人
主分類
A62C
37/11 20060101AFI20250930BHJP(人命救助;消防)
要約
【課題】ガイドリングを平板から打ち抜きや切除によって製造する場合において、ガイド片部を長くできるスプリンクラヘッド用ガイドリング及びその製造方法を提供する。
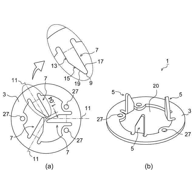
【解決手段】本発明に係るスプリンクラヘッド用ガイドリング1の製造方法は、金属平板から、リング部3となる部位から中心方向に向かって延びる複数の起立前ガイド片部7とリング部3とを残して、これら以外の部位を打ち抜き又は切除により取り除く第1工程と、起立前ガイド片部7を基部で折り曲げて起立させてガイド片部5とする第2工程と、を有し、複数の起立前ガイド片部7は、先端部9が幅方向中心から同一方向にずれた形状であり、これによって先端部9が幅方向中心にある場合よりも、基部から先端部9までの距離を長くできるようにした。
【選択図】 図1
特許請求の範囲
【請求項1】
弁体を支持する感熱分解部を有し、該感熱分解部が分解すると前記弁体が開放してデフレクタが下降するスプリンクラヘッドに設けられ、リング部と該リング部から立ち上がる複数のガイド片部を有し、前記デフレクタが所定の位置まで下降するようにガイドするスプリンクラヘッド用ガイドリングの製造方法であって、
金属平板から、前記リング部となる部位から中心方向に向かって延びる複数の起立前ガイド片部とリング部とを残して、これら以外の部位を打ち抜き又は切除により取り除く第1工程と、
前記起立前ガイド片部を前記基部で折り曲げて起立させて前記ガイド片部とする第2工程と、を有し、
前記複数の起立前ガイド片部は、先端部が幅方向中心から同一方向にずれた形状であり、これによって先端部が幅方向中心にある場合よりも、前記基部から先端部までの距離を長くできるようにしたことを特徴とするスプリンクラヘッド用ガイドリングの製造方法。
続きを表示(約 370 文字)
【請求項2】
請求項1に記載の製造方法によって製造されたことを特徴とするスプリンクラヘッド用ガイドリング。
【請求項3】
弁体を支持する感熱分解部を有し、該感熱分解部が分解すると前記弁体が開放してデフレクタが下降するスプリンクラヘッドに設けられ、前記デフレクタが所定の位置まで下降するようにガイドするスプリンクラヘッド用ガイドリングであって、
リング部と、該リング部から立ち上がる複数のガイド片部とを有し、
前記ガイド片部は、先端部が幅方向中心から同一方向にずれた形状であることを特徴とするスプリンクラヘッド用ガイドリング。
【請求項4】
各ガイド片部は、幅方向の一方側から他方側の先端に向かって傾斜する傾斜辺部を有することを特徴とする請求項3に記載のスプリンクラヘッド用ガイドリング。
発明の詳細な説明
【技術分野】
【0001】
本発明は、スプリンクラヘッドの作動時にデフレクタが所定の位置まで下降するようにガイドするスプリンクラヘッド用ガイドリング及びその製造方法に関する。
続きを表示(約 1,600 文字)
【背景技術】
【0002】
スプリンクラヘッドには、作動時にデフレクタが所定の位置まで下降するようにガイドするスプリンクラヘッド用ガイドリング(以下、単に「ガイドリング」という)が設けられる(例えば、特許文献1の段落[0029]参照)。
【0003】
ガイドリング21およびその製造方法の一例を、図5に基づいて説明する。ガイドリング21は、図5(b)に示すように、リング部23とリング部23から立ち上がる複数のガイド片部25を有し、リング部23にはガイドロッド45が挿入される挿入孔27が設けられている。ガイドリング21は、スプリンクラヘッド作動時にガイドリング21が所定の位置まで下降するとともに、デフレクタ43が所定の位置まで下降するように挿入孔27によりガイドロッド45をガイドしている。
【0004】
ガイドリング21の製造手順を説明する。まず、円板状の金属平板から、リング部23となる部位から中心方向に向かって延びる3つの起立前ガイド片部29とリング部23とを残して、これら以外の部位を打ち抜き又は切除により取り除く。この状態が図5(a)に示されている。
【0005】
次に、起立前ガイド片部29を基部で折り曲げて起立させてガイド片部25とする。この状態が図5(b)に示されており、ガイド片部25の長さ(高さ)が5mmとなっている。
【0006】
図5(b)に示すガイドリング21を、スプリンクラヘッド31に装着した状態を図6に示す。
図6において、33は放水筒35を有するヘッド本体、39はヘッド本体33に設けられ下端に係止爪37を有するフレーム、41は散水部であり、デフレクタ43、ガイドロッド45、ガイドリング21及び弁体47で構成されている。
また、49は感熱分解部であり、感熱部51、ボール保持機構53、セットスクリュー55等で構成されている。
【先行技術文献】
【特許文献】
【0007】
特開2014-144153号公報
【発明の概要】
【発明が解決しようとする課題】
【0008】
ガイドリング21の外径は、スプリンクラヘッド31の大きさによって決まっている。そして、打ち抜きや切除によって図5(a)に示すように加工するには、隣り合う起立前ガイド片部29の先端同士の間に所定の隙間(抜け幅)が必要となる。
この隙間を、図5(a)において、3.4mmと記載している。このように、金属板の外径が決まっており、また、所定のぬけ幅が必要となることから、起立前ガイド片部29の長さには限界があり、その結果、ガイド片部25の長さ(高さ)にも限界がある。
この例では、ガイド片部25の長さは5mmであり、これがガイドストローク(ガイドSTと表記)なる。
【0009】
つまり、円形の金属平板から打ち抜きや切除によってガイドリング21を製造する場合には、ガイド片部25の長さを長くできないという問題がある。
ガイド片部25の長さが短い場合の問題点を、図6のスプリンクラヘッド31の動作説明図である図7に基づいて説明する。
なお、図7では感熱分解部49の図示を省略している。
【0010】
図7(a)に示す作動前の状態から、ガイド片部25が放水筒35にガイドされながら散水部41が4.6mm落下して、ガイド片部25の上端が放水筒35の下端から離れる直前の状態が図7(b)に示されている。
その後、ガイド片部25の上端が放水筒35の下端から離れると、全体を真っ直ぐにガイドするものがなくなるので、場合によっては散水部41が傾斜する。
(【0011】以降は省略されています)
この特許をJ-PlatPat(特許庁公式サイト)で参照する
関連特許
能美防災株式会社
表示灯
1か月前
能美防災株式会社
照射装置
1か月前
能美防災株式会社
消火装置
14日前
能美防災株式会社
表示装置
15日前
能美防災株式会社
システム
28日前
能美防災株式会社
消火設備
1か月前
能美防災株式会社
火災受信機
2か月前
能美防災株式会社
携帯型電灯
1か月前
能美防災株式会社
火災受信機
1か月前
能美防災株式会社
火災受信機
29日前
能美防災株式会社
火災受信機
29日前
能美防災株式会社
火災受信機
21日前
能美防災株式会社
水噴霧ヘッド
1か月前
能美防災株式会社
感知器ベース
1か月前
能美防災株式会社
防災システム
1か月前
能美防災株式会社
感知システム
1か月前
能美防災株式会社
車両システム
1か月前
能美防災株式会社
車両システム
1か月前
能美防災株式会社
防災システム
1か月前
能美防災株式会社
防犯システム
3日前
能美防災株式会社
感知システム
1か月前
能美防災株式会社
深部火災検知装置
29日前
能美防災株式会社
火災監視システム
1か月前
能美防災株式会社
画像表示システム
1か月前
能美防災株式会社
着脱式避難誘導灯
29日前
能美防災株式会社
異常検出システム
1か月前
能美防災株式会社
スプリンクラ消火設備
1か月前
能美防災株式会社
中継器の配線接続構造
1か月前
能美防災株式会社
エアーコンディショナー
1か月前
能美防災株式会社
防災機器及び消火栓装置
29日前
能美防災株式会社
泡消火方法及び泡消火設備
1か月前
能美防災株式会社
塵芥車の火災検知システム
1か月前
能美防災株式会社
信号検出装置および警報器
1か月前
能美防災株式会社
防災設備の製造管理システム
1か月前
能美防災株式会社
熱感知器及び熱感知システム
29日前
能美防災株式会社
中継器および通信テスト方法
29日前
続きを見る
他の特許を見る