TOP
|
特許
|
意匠
|
商標
特許ウォッチ
Twitter
他の特許を見る
公開番号
2025150433
公報種別
公開特許公報(A)
公開日
2025-10-09
出願番号
2024051297
出願日
2024-03-27
発明の名称
防災機器及び消火栓装置
出願人
能美防災株式会社
代理人
弁理士法人きさ特許商標事務所
主分類
A62C
35/68 20060101AFI20251002BHJP(人命救助;消防)
要約
【課題】保護板を破壊することなくケース内の部品の点検等が行える防災機器及び消火栓装置を得る。
【解決手段】防災機器は、防災設備を動作させる操作部と、操作部と対向する位置に配置された、荷重を加えられたときに押し破られ又は押し外される保護板と、操作部を収容し、開口面を有するケースと、保護板を有し、ケースの開口面を覆うカバーと、カバーとケースとを固定する磁石とを備えた。
【選択図】図1
特許請求の範囲
【請求項1】
防災設備を動作させる操作部と、
前記操作部と対向する位置に配置された、荷重を加えられたときに押し破られ又は押し外される保護板と、
前記操作部を収容し、開口面を有するケースと、
前記保護板を有し、前記ケースの前記開口面を覆うカバーと、
前記カバーと前記ケースとを固定する磁石とを備えた
防災機器。
続きを表示(約 330 文字)
【請求項2】
前記カバーは、指が掛けられる指掛け部を備えた
請求項1に記載の防災機器。
【請求項3】
前記カバーが前記ケースから取り外されているときに報知を行う報知部を備えた
請求項1に記載の防災機器。
【請求項4】
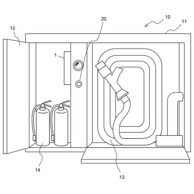
扉を備え、ホースを収納する消火栓箱と、
前記消火栓箱内に収納された請求項1~請求項3のいずれか一項に記載の防災機器とを備え、
前記防災機器は、消火栓始動器である
消火栓装置。
【請求項5】
前記磁石は電磁石であり、前記消火栓始動器と信号線を介して接続された防災盤からの操作により前記電磁石がオンオフされる
請求項4に記載の消火栓装置。
発明の詳細な説明
【技術分野】
【0001】
本発明は、押し破り板を備えた防災機器及び消火栓装置に関する。
続きを表示(約 1,300 文字)
【背景技術】
【0002】
防災設備を動作させるスイッチ、ボタン、又はレバー等の操作部を備えた防災機器において、いたずら又は誤りで操作部が操作されることを防ぐために、操作部と対向する位置に押し破り板を設ける技術が提案されている。例えば特許文献1には、開放自在な扉を兼用した操作レバーと、操作レバーの上に設けられアクリル板に筋を入れて割れ易くした押し破り板と、押し破り板の後ろに設けられた消火栓弁開放スイッチとを備えた消火栓装置の起動操作箱が開示されている。
【先行技術文献】
【特許文献】
【0003】
特開2001-009052号公報
【発明の概要】
【発明が解決しようとする課題】
【0004】
特許文献1に開示されたような保護板として機能する押し破り板は、操作部の誤操作を防ぐ上で有効であるが、起動操作箱のような防災機器は、ケース内の部品に対して定期的な点検又は動作試験が必要である。点検又は動作試験の度に保護板を破ると、点検等にかかる作業負荷も大きく、保護板の費用もかかってしまう。
【0005】
本発明は、上記のような事項を背景としてなされたものであり、保護板を破壊することなくケース内の部品の点検等が行える防災機器及び消火栓装置を提供するものである。
【課題を解決するための手段】
【0006】
本発明に係る防災機器は、防災設備を動作させる操作部と、前記操作部と対向する位置に配置された、荷重を加えられたときに押し破られ又は押し外される保護板と、前記操作部を収容し、開口面を有するケースと、前記保護板を有し、前記ケースの前記開口面を覆うカバーと、前記カバーと前記ケースとを固定する磁石とを備えたものである。
【0007】
本発明に係る消火栓装置は、扉を備え、ホースを収納する消火栓箱と、前記消火栓箱内に収納された前記防災機器とを備え、前記防災機器は、消火栓始動器である。
【発明の効果】
【0008】
本発明によれば、保護板を有するカバーとケースとが磁石で固定されているため、カバーを取り外すことで、保護板を破壊することなくケース内の部品の点検等を行うことができる。
【図面の簡単な説明】
【0009】
実施の形態1に係る防災機器の一例を示す概略図である。
実施の形態2に係る消火栓装置の一例を示す概略図である。
【発明を実施するための形態】
【0010】
以下、本発明の実施の形態を、図面を参照して説明する。本発明は、以下の実施の形態に限定されるものではなく、本発明の主旨を逸脱しない範囲で種々に変形することが可能である。また、本発明は、以下の実施の形態に示す構成のうち、組合せ可能な構成のあらゆる組合せを含むものである。また、図面に示す装置は、本発明の装置の一例を示すものであり、図面に示された装置によって本発明の装置が限定されるものではない。また、各図において、同一の符号を付したものは、同一の又はこれに相当するものであり、これは明細書の全文において共通している。
(【0011】以降は省略されています)
この特許をJ-PlatPat(特許庁公式サイト)で参照する
関連特許
能美防災株式会社
消火設備
1か月前
能美防災株式会社
消火装置
10日前
能美防災株式会社
表示装置
11日前
能美防災株式会社
照射装置
26日前
能美防災株式会社
システム
24日前
能美防災株式会社
火災受信機
25日前
能美防災株式会社
火災受信機
17日前
能美防災株式会社
携帯型電灯
1か月前
能美防災株式会社
火災受信機
25日前
能美防災株式会社
火災受信機
27日前
能美防災株式会社
感知システム
26日前
能美防災株式会社
感知器ベース
1か月前
能美防災株式会社
車両システム
26日前
能美防災株式会社
車両システム
26日前
能美防災株式会社
感知システム
26日前
能美防災株式会社
水噴霧ヘッド
1か月前
能美防災株式会社
防災システム
1か月前
能美防災株式会社
画像表示システム
27日前
能美防災株式会社
異常検出システム
26日前
能美防災株式会社
着脱式避難誘導灯
25日前
能美防災株式会社
深部火災検知装置
25日前
能美防災株式会社
スプリンクラ消火設備
1か月前
能美防災株式会社
エアーコンディショナー
26日前
能美防災株式会社
防災機器及び消火栓装置
25日前
能美防災株式会社
信号検出装置および警報器
26日前
能美防災株式会社
塵芥車の火災検知システム
1か月前
能美防災株式会社
中継器および通信テスト方法
25日前
能美防災株式会社
煙感知器および火災報知設備
12日前
能美防災株式会社
防災設備の製造管理システム
1か月前
能美防災株式会社
熱感知器及び熱感知システム
25日前
能美防災株式会社
避難シミュレーションシステム
1か月前
能美防災株式会社
火災感知器及び火災報知システム
24日前
能美防災株式会社
スプリンクラヘッドの散水反射板
1か月前
能美防災株式会社
電子タグ及び位置情報通信システム
25日前
能美防災株式会社
スプリンクラヘッド用シーリング部材
1か月前
能美防災株式会社
煙感知器の作動試験方法、作動試験器
25日前
続きを見る
他の特許を見る