TOP
|
特許
|
意匠
|
商標
特許ウォッチ
Twitter
他の特許を見る
10個以上の画像は省略されています。
公開番号
2025062980
公報種別
公開特許公報(A)
公開日
2025-04-15
出願番号
2023206302
出願日
2023-12-06
発明の名称
高層階の降下型避難装置
出願人
個人
代理人
個人
主分類
A62B
1/00 20060101AFI20250408BHJP(人命救助;消防)
要約
【課 題】高層階から安全に降下するための降下型避難装置を提供する。
【解決手段】外周に雄ネジ11を設けた降下ネジ棒10と、内側に該雄ネジに螺合する雌ネジ41が設けられた降下用開閉式ナット構造20を具え、降下用開閉式ナット構造20の上下に設けられた上蓋30、下蓋50に設けられた複数の掛リング36、56に避難する人員の避難用胴衣が取り付けられる。
使用する際は、降下用開閉式ナット構造20を展開し、降下ネジ棒10の雄ネジを雌ネジに螺合して降下用開閉式ナット構造20をセットし、ストッパー15を抜くと降下用開閉式ナット構造20は降下ネジ棒10に沿って回転しながら緩やかに下降する。降下用開閉式ナット構造20の回転は複数の内・外周押止ローラー301等により伝達されないので安定した効果が可能である。
【選択図】図1
特許請求の範囲
【請求項1】
高層階からの避難用降下型避難装置であって、
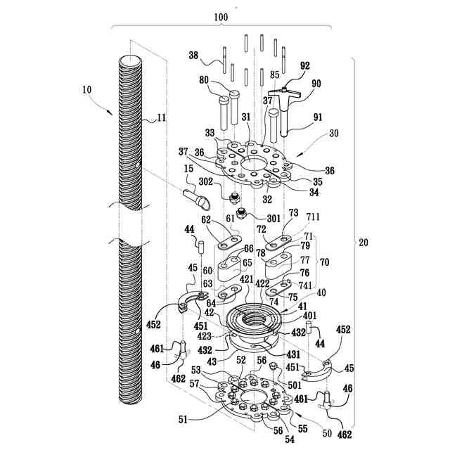
外周に雄ネジが設けられると共に側面にナットストッパーピンが設けられた降下ネジ棒と、内周に該降下ネジ棒の雄ネジと螺合する雌ネジが設けられた降下用の開閉式ナット構造と、を備え、
前記降下用の開閉式ナット構造は、上蓋、荷重ナット回転子、下蓋、結合端結合部材と可動端結合部材と、を備え、
前記上蓋と前記下蓋の間に前記荷重ナット回転子が配置され、降下ネジ棒の雄ネジと螺合する雌ネジは荷重ナット回転子の内周に設けられ、
前記荷重ナット回転子は、中心からカット溝断面を介して二等分に分割され、
前記荷重ナット回転子の上端部に荷重円盤が設けられ、下端部に結合円盤が設けられ、前記荷重円盤の上平面に外周ガイド溝と内周ガイド溝が同心状に設けられると共に前記荷重円盤の下平面に同じく同心状に中間ガイド溝が設けられ、
前記結合円盤は前記荷重ナット回転子のカット溝断面の両側にそれぞれ軸棒結合孔と安全ピン結合孔が設けられると共にカット溝断面の両側に跨って被嵌する一対の円弧形カバー式クリップが設けられ、該円弧形カバー式クリップを介して軸棒及び安全ピンをそれぞれ軸棒結合孔と安全ピン結合孔に挿通して固定し、
前記上蓋は、中心に前記降下ネジ棒を挿通する穿孔が設けられ、前記穿孔の中心からカット溝断面を介して二等分に分割した対称なシート体とし、前記上蓋の外縁のカット溝断面の左右両側に相対して結合端挿入孔を設けると共に他方の外縁のカット溝断面の両側にそれぞれ可動端挿入孔と上蓋ピン孔が設けられ、
前記上蓋と前記下蓋に設けた複数の挿入孔に両者を結合補強する支持柱が挿設され、
前記上蓋の下平面に複数の外周押止ローラーと複数の内周押止ローラーが設けられ、
前記下蓋は、中心に降下ネジ棒を挿通する穿孔が設けられ、該穿孔の中心から二等分に分割したカット溝断面に対して対称なシート体とし、前記下蓋の外縁のカット溝断面の左右両側に相対して結合端挿入孔を設けると共に他方の外縁のカット溝断面の両側に可動端挿入孔及び下蓋ピン孔がそれぞれ設けられ、
前記下蓋の上平面に複数の中間押止ローラーが設けられ、
前記結合端結合部材は、上蓋結合ブロック、下蓋結合ブロック、中間結合ブロックと、固定連接棒と、を備え、
前記上蓋結合ブロックに上蓋結合ブロック穿孔が設けられ、前記下蓋結合ブロックに下蓋結合ブロック穿孔が設けられ、前記中間結合ブロックに中間結合ブロック穿孔が設けられ、
前記上蓋結合ブロックは前記上蓋の上方に配置し、前記下蓋結合ブロックは前記下蓋の下方に配置し、前記中間結合ブロックは前記上蓋と前記下蓋の結合端挿入孔の間に配置して、
前記固定連接棒を上蓋結合ブロック穿孔、上蓋結合端挿入孔、中間結合ブロック穿孔、下蓋結合端挿入孔、下蓋結合ブロック穿孔に挿通して固定連接棒を軸として回動可能に固定し、
前記可動端結合部材は、上蓋可動ブロック、下蓋可動ブロック、中間可動ブロック、固定連接棒と安全ピンと、を備え、
前記安全ピンの底端に位置決め鋼球が設けられ、前記安全ピンの頂端に制御ボタンが設けられ、前記上蓋可動ブロックに上蓋連動ブロック及び上蓋可動ブロック穿孔と上蓋可動ブロックピン孔が設けられ、
前記下蓋可動ブロックに下蓋連動ブロック及び下蓋可動ブロック穿孔と下蓋可動ブロックピン孔が設けられ、
前記中間可動ブロックに中間可動ブロック穿孔と中間可動ブロックピン孔が設けられ、
前記上蓋可動ブロックは前記上蓋の上方に配置し、前記下蓋可動ブロックは前記下蓋の下方に配置し、前記中間可動ブロックは前記上蓋と前記下蓋の間に配置して、
前記固定連接棒を上蓋可動ブロック穿孔、上蓋の可動端挿入孔、中間可動ブロック穿孔、下蓋の可動端挿入孔、及び下蓋可動ブロック穿孔に挿入して固定連接棒を軸として回動可能に固定し、
前記安全ピンを上蓋可動ブロックピン孔、上蓋ピン孔、中間可動ブロックピン孔、下蓋ピン孔、下蓋可動ブロックピン孔に挿入して固定し、
前記降下用開閉式ナット構造をこれらの安全ピンの挿・脱によって展開可能とすることにより、降下ネジ棒に対して任意の高さ位置でセット可能とし、
前記上蓋と前記下蓋の外縁に避難用装着用具を取り付ける複数の掛リングを設けた、
ことを特徴とする高層階の降下型避難装置。
続きを表示(約 1,500 文字)
【請求項2】
前記可動端結合部材は、その一端が前記固定連接棒を前記上蓋可動ブロック穿孔、前記上蓋可動端挿入孔、前記中間可動ブロック穿孔、前記下蓋可動端挿入孔と前記下蓋可動ブロック穿孔に挿通して固定され、
他端は前記安全ピンを前記上蓋可動ブロックピン孔、前記上蓋ピン孔、前記中間可動ブロックピン孔、前記下蓋ピン孔と前記下蓋可動ブロックピン孔に挿設することによって、前記安全ピンの底端の前記位置決め鋼球が前記下蓋可動ブロックピン孔を超えて固定され、
前記安全ピンが外力を受けない時は前記位置決め鋼球の制限によりピン孔から離脱を抑止されると共に、前記安全ピンを引き抜くと前記位置決め鋼球は安全ピンの内部に押し込まれて前記安全ピンは引き抜かれ、
前記上蓋連動ブロックは前記中間可動ブロックの上平面の外縁に半田付けられ、前記下蓋連動ブロックは前記中間可動ブロックの下平面の外縁に半田付けされることによって、前記上蓋可動ブロック、前記下蓋可動ブロック、前記中間可動ブロックを同時に開閉可能とした
ことを特徴とする請求項1の高層階の降下型避難装置。
【請求項3】
前記ナットストッパーピンは、降下ネジ棒に装入することにより、降下ネジ棒にセットする降下準備動作を完了する前の前記開閉式ナット構造を停止することを特徴とする請求項1の高層階の降下型避難装置。
【請求項4】
前記結合円盤は、前記荷重ナット回転子のカット溝断面の両側に軸棒結合孔と安全ピン結合孔がそれぞれ設けられ、一対の円弧形カバー式クリップを結合円盤に被嵌して二等分した前記荷重ナット回転子を連結させて固定する安全ピンを安全ピン結合孔に挿脱することによって、荷重ナット回転子の開閉を可能としたことを特徴とする請求項1の高層階の降下型避難装置。
【請求項5】
前記荷重ナット回転子が回転しながら降下ネジ棒に沿って降下する際、
前記上蓋の固定位置にある複数の外周押止ローラー、内周押止ローラーが荷重ナット回転子の荷重円盤の上平面に設けられた同心状の外周ガイド溝、内周ガイド溝に、
また、前記下蓋の固定位置に設けられた中間押止ローラーが荷重ナット回転子の荷重円盤の下平面に設けられた同心状の中間ガイド溝内にそれぞれガイドされて転がることにより、
前記上蓋と前記下蓋に回転を伝えず連動しないことにより、安全に降下可能としたことを特徴とする請求項1の高層階の降下型避難装置。
【請求項6】
降下型避難装置の降下ネジ棒頂部近傍に固定滑車を設けると共に降下用開閉式ナット構造の回収用の防火ロープを降下位置と該固定滑車の間に設けて、前記降下用開閉式ナット構造を該防火ロープの手動操作により任意の階層の位置で回収して繰り返し使用可能としたことを特徴とする請求項1の高層階の降下型避難装置。
【請求項7】
前記降下ネジ棒をつなぎ合せて長さを調整可能とするため、つなぎ合わせる降下ネジ棒の断面に中実のつなぎ合せ柱を挿入する同心円孔を設け、つなぎ合わせる降下ネジ棒の断面とネジ山が相対する位置となるよう位置決め柱を挿入する位置決め孔を設けて、階層の高さに応じて高さを変更可能としたことを特徴とする請求項1の高層階の降下型避難装置。
【請求項8】
前記降下ネジ棒には、ネジ棒を抱持して支持する複数の単方向開閉の弾性U型クリップを間隔を空けて壁面に垂直、又は平行に方向を変えて設けてなり、
開閉式ナット構造が該降下ネジ棒を通過するときには前記単方向開閉の弾性U型クリップが降下ネジ棒から離脱し、通過後に弾性力により復帰するようにした、ことを特徴とする請求項1の高層階の降下型避難装置。
発明の詳細な説明
【技術分野】
【0001】
本発明は、高層階の降下型避難装置に関し、特に高層階の避難装置として使用される高層階の降下型避難装置に関する。
続きを表示(約 1,900 文字)
【背景技術】
【0002】
一般的に高層ビルで使用するエレベーターは、火災発生時に停電により運転休止になることが多い上、避難階段が炎などで遮られて通れなくなる可能性もあるため、数多くの高層ビルは別途に緩降機などの避難器具を設置し、避難階段が炎などで遮断された時の予備避難装置として備える。
【0003】
しかし、現在の緩降機は通常ロープ吊り下げ方式で人員を建物の外側から地面にまで降下させるようになっているが、このような緩降機は使用時に揺れやすく、人員に対する保護も不十分なため、人員が避難する際に怪我しやすく、火災現場で体調に支障を来した人にはスムーズに使用できない。
【0004】
以上の理由から、固定式の緩降はしごも登場したが、現在用いられている固定式緩降はしごは構造が複雑なものが多く、構造自体が壊れやすいため、普及して使用されにくく、耐用性も欠ける。
【0005】
以上により、現在の降下型避難装置は使用上においていろいろな欠点が存在しているため、構造の改良により、上記の問題を解決することは関係業界にとっては重要な課題となっている。
【先行技術文献】
【特許文献】
【0006】
実開昭55-27503号公報
実開昭58-183178号公報
特開2011-125648号公報
特開2005-27915号公報
【発明の概要】
【発明が解決しようとする課題】
【0007】
本発明の課題は、構造が簡単で、耐用性のある高層階の降下型避難装置を提供することにあり、高安全性、高避難成功率、操作が簡単、そして大人数で繰り返して使用でき、低設置コスト、あらゆる環境に適用、高耐用性、低メンテナンス費用、省スペースなどの優れた点を有する高層階の降下型避難装置を提供することである。
【課題を解決するための手段】
【0008】
本発明に係る高層階の降下型避難装置は、避難する人員が高層階の避難口から地面に緩やかに安全に降下できる。
本発明の高層階の降下型避難装置は、外周に雄ネジが設けられた降下ネジ棒と、内周にこれと対応する雌ネジが設けられてセットした状態で降下ネジ棒にある雄ネジと螺合して回転しながら滑り降りるように緩やかな下降が達成される降下用の開閉式ナット構造とを備える。
降下用の開閉式ナット構造は、上蓋、荷重ナット回転子、下蓋、結合端結合部材と可動端結合部材と、を備える。
荷重ナット回転子は、降下ネジ棒をセットするために中心から二等分に分割された構造をなし、上蓋と下蓋の間に設けられ、荷重ナット回転子の内周に降下ネジ棒外周の雄ネジと螺合する雌ネジが設けられる。
荷重ナット回転子の上端部に荷重円盤が設けられ、下端部には結合円盤が設けられ、荷重円盤の上平面に同心円状に外周ガイド溝と内周ガイド溝が設けられ、荷重円盤の下平面に同じく同心円状に中間ガイド溝が設けられる。
荷重ナット回転子の結合円盤には分割されたカット溝断面の端部両側に軸棒結合孔及び安全ピン結合孔がそれぞれ設けられる。
【0009】
分割された結合円盤に被せて結合する円弧形カバー式クリップの一端に軸棒を挿通する軸棒結合孔を設けて結合円盤に対する固定端とし、他端には安全ピン結合孔を設けて安全ピンを挿通して二等分した荷重ナット回転子をしっかりと結合可能とすることにより、安全ピンを抜いた時に荷重ナット回転子は上蓋と下蓋と共に展開され、また、降下ネジ棒を荷重ナット回転子にセットして荷重ナット回転子を上蓋と下蓋と共に閉じて、安全ピンを円弧形カバー式クリップと結合円盤の対応する安全ピン結合孔に挿通して結合し、固定する。
【0010】
本発明において、上蓋の中心に降下ネジ棒を貫通させるための穿孔が設けられ、上蓋の中心から二等分に分割してそのカット溝断面を介して対称なシート体とし、上蓋の外縁のカット溝断面の一方の端部左右両側に結合端挿入孔を設けると共に、他方の端部の左右両側にそれぞれ可動端挿入孔と上蓋ピン孔が設けられる。
さらに、上蓋の外縁に避難用装着用具を吊り下げる複数の掛リングが設けられ、上蓋と下蓋に補強用の支持柱が挿設される複数の挿入孔が対応して設けられ、支持柱により上蓋と下蓋との間を固定する。
上蓋の下平面に前記荷重ナット回転子の荷重円盤の上平面に設けられた同心円状の外周ガイド溝と内周ガイド溝にそれぞれガイドされる複数の外周押止ローラー及び複数の内周押止ローラーが設けられる。
(【0011】以降は省略されています)
この特許をJ-PlatPat(特許庁公式サイト)で参照する
関連特許
個人
階段上り下り滑り板
9か月前
個人
ビル内部による救出装置
1か月前
藤井電工株式会社
連結フック
7か月前
個人
高層ビルからの救助装置
1か月前
藤井電工株式会社
安全帯取付具
2か月前
個人
大地震の火災消火システム
3か月前
能美防災株式会社
消火装置
11か月前
株式会社高儀
胴当てベルト
3か月前
能美防災株式会社
消火装置
1か月前
個人
高層階の降下型避難装置
7か月前
株式会社キッツ
流水検知装置
5か月前
帝国繊維株式会社
防災用車両
4か月前
能美防災株式会社
消火栓装置
11か月前
深田工業株式会社
発泡ノズル
11か月前
ホーチキ株式会社
防災システム
11か月前
中国電力株式会社
長尺工具保持具
11か月前
株式会社立売堀製作所
流水検知装置
4か月前
ホーチキ株式会社
消火栓装置
1か月前
ホーチキ株式会社
消火栓装置
5か月前
ホーチキ株式会社
消火栓装置
3か月前
ホーチキ株式会社
消火栓装置
5か月前
ホーチキ株式会社
消火栓装置
6か月前
ホーチキ株式会社
消火栓装置
6か月前
ホーチキ株式会社
消火栓装置
11か月前
ホーチキ株式会社
消火栓装置
11か月前
ホーチキ株式会社
消火栓装置
19日前
藤井電工株式会社
ストラップの保護カバー
9か月前
能美防災株式会社
消火設備
1か月前
沖電気工業株式会社
筐体
8か月前
沖電気工業株式会社
筐体
2か月前
日本ドライケミカル株式会社
消火薬剤
5か月前
帝国繊維株式会社
保形ホース点検装置
6か月前
株式会社大林組
ドレンチャー設備
8か月前
能美防災株式会社
放水ヘッド用キャップ
6か月前
セコム株式会社
火災監視システム
1か月前
能美防災株式会社
混合消火剤
6か月前
続きを見る
他の特許を見る