TOP
|
特許
|
意匠
|
商標
特許ウォッチ
Twitter
他の特許を見る
10個以上の画像は省略されています。
公開番号
2025068846
公報種別
公開特許公報(A)
公開日
2025-04-30
出願番号
2023178886
出願日
2023-10-17
発明の名称
保形ホース点検装置
出願人
帝国繊維株式会社
代理人
個人
主分類
A62C
37/50 20060101AFI20250422BHJP(人命救助;消防)
要約
【課題】消火栓装置に対する保形ホースの出し入れの作業性に優れ、保形ホース全体の漏水、破損を調べることが可能な保形ホース点検装置を提供する。
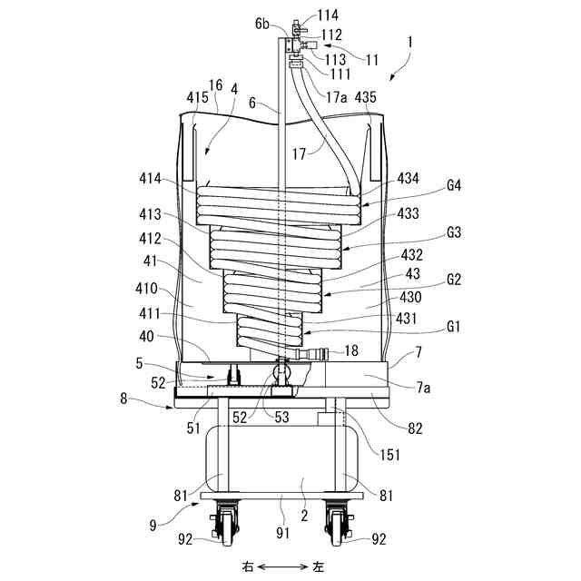
【解決手段】水タンク2と、水タンク2の水を保形ホース17に充填するとともに保形ホース17内の水を加圧する水ポンプと、保形ホース17を上下方向に螺旋状に巻いた状態で保持する保持ユニット4と、を備える。保持ユニット4は、保形ホース17を、巻径が相互に異なる複数の巻径グループG1,G2,G3,G4に分けるとともに1段上がるごとに巻径グループG1,G2,G3,G4の巻径が大きくなる階段状となるように、保持する。
【選択図】図10
特許請求の範囲
【請求項1】
水タンクと、前記水タンクの水を保形ホースに充填するとともに前記保形ホース内の水を加圧する水ポンプと、前記保形ホースを上下方向に螺旋状に巻いた状態で保持する保持ユニットと、を備えた、
ことを特徴とする保形ホース点検装置。
続きを表示(約 840 文字)
【請求項2】
前記保持ユニットは、前記保形ホースを、巻径が相互に異なる複数の巻径グループに分けるとともに1段上がるごとに前記巻径グループの巻径が大きくなる階段状となるように、保持する、
ことを特徴とする請求項1に記載の保形ホース点検装置。
【請求項3】
前記保持ユニットの上方位置で前記保形ホースの上端部を接続するホース接続ユニットを備え、
前記ホース接続ユニットは、前記保形ホースの上端部を着脱自在に取り付けるためのホース接続口部と、前記保形ホースへの空気の供給または前記保形ホースからの空気の排出を行うために設けられるとともに前記ホース接続口部よりも上方位置に設けられる空気流通口部と、前記水ポンプからの水の供給管が接続されるとともに前記ホース接続口部と前記空気流通口部との上下方向中間位置に設けられる水供給口部と、前記空気流通口部に接続される開閉バルブと、を備えている、
ことを特徴とする請求項2に記載の保形ホース点検装置。
【請求項4】
前記保形ホースの下端部から排出される前記保形ホース内の水を受ける水受槽を備え、
前記水タンクは、前記水受槽の下方位置に配設され、
前記水受槽と前記水タンクとを水戻し配管で接続した、
ことを特徴とする、
請求項3に記載の保形ホース点検装置。
【請求項5】
前記保持ユニットを鉛直軸心まわりに回転自在に支持する回転支持ユニットを備えた、
ことを特徴とする請求項2~4のいずれか一つに記載の保形ホース点検装置。
【請求項6】
前記保持ユニットは、前記回転支持ユニットによる回転中心に対して前記巻径グループの巻径中心が偏心するように、かつ、前記保持ユニットを平面視した場合に全ての前記巻径グループが一方向に偏って配置されるように、前記保形ホースを保持する、
ことを特徴とする請求項5に記載のホース点検装置。
発明の詳細な説明
【技術分野】
【0001】
本発明は、消火栓装置に収納される保形ホースの漏水、破損の有無を調べるための保形ホース点検装置に関する。
続きを表示(約 2,000 文字)
【背景技術】
【0002】
建物内で発生した火災を消火するために、集合住宅等の建物内には消火栓装置が設けられている。従来の消火栓装置は、前面に扉を有する金属製の収納箱を備え、この収納箱の内部には、消火栓弁が配置されるとともに、消火ホースが収納されている(例えば、特許文献1参照)。特許文献1には、先端にノズルを装着した消火ホースをホルダーに折り畳み状態で掛けることで引き出し自在に収納した消火栓装置が記載されている。この消火栓装置は、二人操作を必要とするもので1号消火栓として法的に規格が定められている。ホルダーに折り畳み状態で掛ける消火ホースには、平ホースが使用されている。
【0003】
一方、一人操作を可能とする消火栓装置として、放水による反動力を抑えるとともに保形ホースを使用した2号消火栓も法的に規格が定められている。2号消火栓の消火栓装置は、1号消火栓と同様に金属製の収納箱の内部に消火ホースとしての保形ホースを収納するようになっている。しかし、2号消火栓の場合は、1号消火栓と消火ホースの収納の仕方が異なっている(例えば、特許文献2参照)。特許文献2の消火栓装置では、保形ホースが、渦巻き状に巻回された状態で保形ホース保持枠に保持されつつ、収納箱の内部に収納されている。
【0004】
上述のとおり、消火栓装置としては、折り畳み状態の平ホースを収納する1号消火栓と、渦巻き状に巻回された状態の保形ホースを収納する2号消火栓とがある。1号消火栓については、設置後年数が経った消火栓装置について、ホース端末部の経年劣化による漏水、破損の有無を調べるためのホース点検装置が開発されている(例えば、特許文献3参照)。特許文献3には、ホース端末から所定長さ位置でホースをクランプするホースクランプ部を備えた消防用ホース端末部耐圧試験機が開示されている。
【先行技術文献】
【特許文献】
【0005】
特開2012-239485号公報
特開平11-47303号公報
特開2005-221475号公報
【発明の概要】
【発明が解決しようとする課題】
【0006】
しかしながら、特許文献3のような従来のホース点検装置は、ホース端末部の漏水、破損を調べることが主な目的であり、ホース全体の漏水、破損を調べることはできなかった。また、特許文献3のホース点検装置は、ホースクランプ部でホースをクランプする必要がある。平ホースの場合にはクランプすることに問題がないが、断面がつぶれないように一定の剛性を持たせた保形ホースの場合はクランプに向いていないという問題があった。また、特許文献3のホース点検装置は、消火栓装置からホースを一旦取り出して点検を行うが、消火栓装置に対する消火ホースの出し入れの作業性については全く考慮されていなかった。
【0007】
本発明は、上記実情を考慮してなされたものであり、その目的は、消火栓装置に対する保形ホースの出し入れの作業性に優れ、保形ホース全体の漏水、破損を調べることが可能な保形ホース点検装置を提供することである。
【課題を解決するための手段】
【0008】
上述の課題を解決するために本明細書に開示する発明は、以下のように構成されている。すなわち、第1の発明は、水タンクと、前記水タンクの水を保形ホースに充填するとともに前記保形ホース内の水を加圧する水ポンプと、前記保形ホースを上下方向に螺旋状に巻いた状態で保持する保持ユニットと、を備えた、ことを特徴とする。
【0009】
第1の発明によれば、保形ホース点検装置の保持ユニットは、保形ホースを螺旋状に巻いた状態で保持する構造である。これにより、消火栓装置の収納箱に渦巻き状に巻回された状態で収納された保形ホースについて、収納箱から保形ホースを取り出した後、保形ホースの巻き癖を利用して容易に保形ホースを保持ユニットに配置することができる。また、点検作業終了後、保形ホースを消火栓装置の収納箱に戻す際には、螺旋状に配置された保形ホース全体を持ち上げれば、点検作業前の渦巻き状態に近い形で、保形ホースを収納箱に収納することができる。そのため、消火栓装置に対する保形ホースの出し入れの作業性に優れる。
【0010】
また、保持ユニットは、保形ホースを上下方向に螺旋状に巻いた状態で保持する。保形ホースが途中で折れ曲がることはない。これにより、保形ホース内に水を充填する作業の際、重力を利用して容易に保形ホースの下端から上端までの全体に亘って水を充填することができる。これにより、保形ホース全体の漏水、破損を調べることが容易にできる。
(【0011】以降は省略されています)
この特許をJ-PlatPat(特許庁公式サイト)で参照する
関連特許
帝国繊維株式会社
防災車両用シャックルおよびそれを備えた防災車両
1か月前
個人
階段上り下り滑り板
10か月前
個人
高層ビルからの救助装置
2か月前
藤井電工株式会社
連結フック
8か月前
個人
ビル内部による救出装置
1か月前
藤井電工株式会社
安全帯取付具
3か月前
個人
大地震の火災消火システム
3か月前
能美防災株式会社
消火装置
1か月前
株式会社高儀
胴当てベルト
4か月前
能美防災株式会社
消火装置
11か月前
能美防災株式会社
消火栓装置
12か月前
個人
高層階の降下型避難装置
7か月前
帝国繊維株式会社
防災用車両
4か月前
株式会社キッツ
流水検知装置
5か月前
深田工業株式会社
発泡ノズル
11か月前
ホーチキ株式会社
防災システム
12か月前
中国電力株式会社
長尺工具保持具
11か月前
ホーチキ株式会社
消火栓装置
11か月前
ホーチキ株式会社
消火栓装置
5か月前
ホーチキ株式会社
消火栓装置
11か月前
ホーチキ株式会社
消火栓装置
3か月前
ホーチキ株式会社
消火栓装置
3日前
ホーチキ株式会社
消火栓装置
1か月前
ホーチキ株式会社
消火栓装置
25日前
株式会社立売堀製作所
流水検知装置
5か月前
ホーチキ株式会社
消火栓装置
7か月前
ホーチキ株式会社
消火栓装置
6か月前
ホーチキ株式会社
消火栓装置
6か月前
藤井電工株式会社
ストラップの保護カバー
9か月前
帝国繊維株式会社
保形ホース点検装置
7か月前
沖電気工業株式会社
筐体
2か月前
沖電気工業株式会社
筐体
8か月前
能美防災株式会社
消火設備
1か月前
日本ドライケミカル株式会社
消火薬剤
5か月前
セコム株式会社
火災監視システム
1か月前
株式会社大林組
ドレンチャー設備
8か月前
続きを見る
他の特許を見る