TOP
|
特許
|
意匠
|
商標
特許ウォッチ
Twitter
他の特許を見る
10個以上の画像は省略されています。
公開番号
2025145673
公報種別
公開特許公報(A)
公開日
2025-10-03
出願番号
2024045974
出願日
2024-03-22
発明の名称
消火栓装置
出願人
ホーチキ株式会社
代理人
個人
,
個人
主分類
A62C
35/20 20060101AFI20250926BHJP(人命救助;消防)
要約
【課題】消火栓扉の開閉に必要なスペースを低減すると共に操作性を向上可能とする。
【解決手段】消火栓装置10は、筐体12内部に消火用ホースを含む消火栓機器が設けられ、前面に前面開口部14が形成される。前面開口部14は、中央開口部1410と、中央開口部1410の左右各々に隣接する2つの側方開口部1412、1414に分割され、中央開口部1410に、ホース引出口が形成されると共に消火栓扉16が設けられ、側方開口部1412、1414は、外装板18により閉鎖される。消火用ホースは、消火栓扉16を右方向に横開きして開放したときにホース引出口を介して筐体12内部から外部に引き出し自在に収納される。
【選択図】図1
特許請求の範囲
【請求項1】
装置内部に消火用ホースを含む消火栓機器が設けられた消火栓装置であって、
所定の面に形成された開口の一部に、前記消火用ホースを引き出し自在とするホース引出口が形成されると共に、消火栓扉が開閉自在に設けられ、
前記消火用ホースは、前記消火栓扉を開放したときに前記ホース引出口を介して前記装置内部から装置外部に引き出し自在に収納されたことを特徴とする消火栓装置。
続きを表示(約 1,300 文字)
【請求項2】
請求項1記載の消火栓装置であって、
前記開口は、前記中央開口部と、中央開口部の左右各々に隣接する2つの側方開口部に分割され、
前記中央開口部に、前記ホース引出口が形成されると共に前記消火栓扉が設けられ、
前記側方開口部の各々は、外装板により閉鎖されたことを特徴とする消火栓装置。
【請求項3】
請求項2記載の消火栓装置であって、
前記消火栓扉は、左右方向の何れかに横開きする扉であることを特徴とする消火栓装置。
【請求項4】
請求項2記載の消火栓装置であって、
前記消火栓扉は、左側に位置する左方向に横開きする扉と右側に位置する右方向に横開きする扉で構成され、両開きする扉であることを特徴とする消火栓装置。
【請求項5】
請求項2記載の消火栓装置であって、
前記消火栓扉及び前記ホース引出口は、前記中央開口部の上方の所定領域に位置し、
前記消火栓扉は、左右方向の何れかに横開きする扉、又は下方向に下開きする扉であり、
前記消火栓扉及び前記ホース引出口が位置しない前記中央開口部の領域は、前記外装板により閉鎖されたことを特徴とする消火栓装置。
【請求項6】
請求項1記載の消火栓装置であって、
前記開口の上方の所定領域に、前記ホース引出口が形成されると共に前記消火栓扉が設けられ、
前記消火栓扉は、左右方向の何れかに横開きする扉、又は下方向に下開きする扉であり、
前記消火栓扉及び前記ホース引出口が位置しない前記開口の領域は、前記外装板により閉鎖されたことを特徴とする消火栓装置。
【請求項7】
請求項1乃至6の何れかに記載の消火栓装置であって、
前記ホース引出口の左右の側縁及び又は下縁に、前記装置内部から外部に前記消火用ホースを引き出す際に前記消火用ホースをガイドするホースガイドが設けられたことを特徴とする消火栓装置。
【請求項8】
請求項1乃至6の何れかに記載の消火栓装置であって、
前記消火用ホースの先端には、放水用ノズルが接続されており、
前記放水用ノズルは、前記消火栓扉の裏面に配置したノズルホルダーに着脱自在に保持されたことを特徴とする消火栓装置。
【請求項9】
請求項1乃至6の何れかに記載の消火栓装置であって、
前記消火栓機器として、前記消火用ホースへの消火用水の供給と停止の操作を行う消火栓弁が前記装置内部に設けられ、
前記消火栓弁は、前記消火栓扉を開放したときに装置外部から視認可能な位置に設けられたことを特徴とする消火栓装置。
【請求項10】
請求項1乃至6の何れかに記載の消火栓装置であって、
前記消火用ホースは、前記装置内部の底部に対して所定の傾斜角度で傾斜した状態で前記装置内部の底部から上方に向けて積層させるように巻き回す傾斜重ね巻きに収納されたことを特徴とする消火栓装置。
(【請求項11】以降は省略されています)
発明の詳細な説明
【技術分野】
【0001】
本発明は、屋内等の所定の防護区画に設置される消火栓装置に関する。
続きを表示(約 1,600 文字)
【背景技術】
【0002】
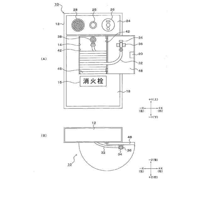
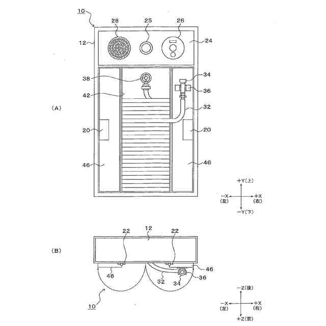
従来、屋内消火栓として知られた消火栓装置として、例えば図16に示す消火栓装置が知られている。尚、図16(A)は正面(前面)を示し、図16(B)は平面(上面)を示している。
【0003】
ここで、図16の説明では、X-Y-Z方向が互いに直交する方向であり、具体的には、消火栓扉が設けられる面を消火栓装置の前面とし、前面を正面に見て、X方向を左右方向とし、Y方向を上下方向とし、Z方向を前後方向とする。また、X方向における+X側を右側、-X側を左側とし、Y方向における+Y側を上側、-Y側を下側とし、Z方向における+Z側を前側、-Z側を後側とする。この点は本発明の実施形態となる図1~図15においても同様となる。
【0004】
図16(A)に示すように、屋内消火栓である消火栓装置100は、例えば建物内の廊下の壁面に所定間隔、例えば水平距離25mの間隔で埋め込み又は露出して設置され、箱形の筐体102の前面開口部104に、例えば右方向に横開き自在に消火栓扉106が設けられている。また、筐体102の上部には非常通報扉124が設けられ、非常通報扉124には赤色表示灯125、発信機126及びスピーカを内蔵した音響部128が設けられている。
【0005】
また、公知の屋外消火栓として、規格上、平型ホースを用いて二人操作を行う1号消火栓(水平距離で設置間隔40m、ホース長40m(20m×2本)、放水量350リットル/分以上)、保形ホースを用いて一人操作を行う2号消火栓(水平距離で設置間隔15m、ホース長20m、放水量60リットル/分以上)、保形ホースを用いて一人操作を行う広範囲2号消火栓(水平距離で設置間隔25m、ホース長30m、放水量80リットル/分以上、一人操作)、更に、1号消火栓について保形ホースを用いて一人操作を行う易操作性1号消火栓(水平距離で設置間隔25m、ホース長30m、放水量130リットル/分以上)が知られている。
【0006】
防護区画で火災が発生した場合、消火活動を行う操作者は、消火栓扉106を開放し、一人操作可能な消火栓であれば、筐体102内に収納されている消火用ホースの先端に接続されている放水用ノズルを取り出し、消火栓弁のハンドルを回す開操作を行うと自動的に消火ポンプが起動して、消火用ホースに消火用水が供給され、消火用ホースを引き出しながら火災発生場所に向かい、放水用ノズルから消火用水を放水して消火活動を行うこととなる。
【先行技術文献】
【特許文献】
【0007】
特開2006-223447号公報
特開2024-002731号公報
【発明の概要】
【発明が解決しようとする課題】
【0008】
しかしながら、従来の消火栓装置にあっては、消火栓扉は筐体前面の大部分を占める前面開口部に対応したサイズであり、左右何れかの側縁を軸に横開きする場合、消火栓扉106の開閉に必要なスペースとして、平面視で消火栓扉の横幅(左右方向の幅)を半径とする広い半円状の領域を確保する必要があり、消火栓装置の近くに一時的に物が置かれていた場合等、消火栓扉の開放が妨げられる可能性が高く、消火活動に手間取るおそれがある。
【0009】
また、火災が発生している緊急事態で、操作を急ぐ利用者が消火栓扉を必要以上に強い力で開放させてしまう場合があり、消火栓扉のサイズが大きいことから、勢いよく開放された消火栓扉は全開位置から反転して跳ね返って戻ってくることで利用者に当たって負傷することも想定され、迅速な消火活動が損なわれるおそれもある。
【0010】
本発明は、消火栓扉の開閉に必要なスペースを低減すると共に操作性を向上させた消火栓装置を提供することを目的とする。
【課題を解決するための手段】
(【0011】以降は省略されています)
この特許をJ-PlatPat(特許庁公式サイト)で参照する
関連特許
ホーチキ株式会社
消火栓装置
3か月前
ホーチキ株式会社
消火栓装置
3日前
ホーチキ株式会社
消火栓装置
1か月前
ホーチキ株式会社
消火栓装置
25日前
ホーチキ株式会社
火災検出システム
1か月前
ホーチキ株式会社
避難誘導システム
1日前
国立大学法人 筑波大学
火災検出システム
1か月前
国立大学法人 筑波大学
火災検出システム
1か月前
国立大学法人 筑波大学
火災検出システム
1か月前
国立大学法人 筑波大学
火災検出システム
1か月前
ホーチキ株式会社
カードリーダー及びカードリーダーの組立方法
1か月前
ホーチキ株式会社
防災設備
1か月前
ホーチキ株式会社
消火栓装置
1か月前
ホーチキ株式会社
炎検出装置
2か月前
ホーチキ株式会社
防災システム
1か月前
ホーチキ株式会社
火災報知方法
2か月前
ホーチキ株式会社
消火器収納装置
1か月前
ホーチキ株式会社
火災監視システム
1か月前
ホーチキ株式会社
施設管理システム
2か月前
ホーチキ株式会社
消臭装置及び消臭方法
1か月前
ホーチキ株式会社
消火栓装置及び消火器箱
2か月前
ホーチキ株式会社
火災検知器の信頼性判断方法
11日前
ホーチキ株式会社
火災検知器及び防災システム
2か月前
ホーチキ株式会社
火災検出装置、防災設備及び火災検出方法
1か月前
ホーチキ株式会社
処置情報提供システム及びその処置情報提供方法
3日前
個人
階段上り下り滑り板
10か月前
個人
高層ビルからの救助装置
2か月前
藤井電工株式会社
連結フック
8か月前
個人
ビル内部による救出装置
1か月前
藤井電工株式会社
安全帯取付具
3か月前
個人
大地震の火災消火システム
3か月前
能美防災株式会社
消火装置
1か月前
株式会社高儀
胴当てベルト
4か月前
能美防災株式会社
消火装置
11か月前
能美防災株式会社
消火栓装置
12か月前
個人
高層階の降下型避難装置
7か月前
続きを見る
他の特許を見る