TOP
|
特許
|
意匠
|
商標
特許ウォッチ
Twitter
他の特許を見る
公開番号
2025128391
公報種別
公開特許公報(A)
公開日
2025-09-02
出願番号
2025105279,2023049224
出願日
2025-06-23,2017-03-30
発明の名称
火災検知器及び防災システム
出願人
ホーチキ株式会社
代理人
個人
,
個人
主分類
G08B
17/00 20060101AFI20250826BHJP(信号)
要約
【課題】非火災報が出されてしまう前に火災検知器の劣化の進み具合を判定して報知することにより適切な対処を可能とする。
【解決手段】火災検知器12は、測定された環境ストレスが所定の条件を充足する毎に劣化カウント値を増加させる機能を有する検知器制御部54と、劣化カウント値を含む信号を送信する伝送部56を備え、環境ストレスとして、自己に加わる振動及び電気的ノイズの少なくとも何れかが測定され、自己に加わる振動には、車両事故に伴う衝突振動や大規模地震による衝撃振動が含まれ、自己に加わる電気的ノイズには、自己に外部から加わるサージであって、落雷による誘導サージが含まれる。防災システムは、火災検知器12と、信号線を介して火災検知器12から劣化カウント値を含む信号を受信し、劣化カウント値に基づき火災検知器12の劣化の度合いを判定する劣化判定部が設けられた防災受信盤を備える。
【選択図】図5
特許請求の範囲
【請求項1】
測定された環境ストレスが所定の条件を充足する毎に劣化カウント値を増加させる機能を有する検知器制御部と、
前記劣化カウント値を含む信号を送信する伝送部と、
を備え、
前記環境ストレスとして、自己に加わる振動及び電気的ノイズの少なくとも何れかが測定され、
自己に加わる振動には、車両事故に伴う衝突振動や大規模地震による衝撃振動が含まれ、
自己に加わる電気的ノイズには、自己に外部から加わるサージであって、落雷による誘導サージが含まれることを特徴とする火災検知器。
続きを表示(約 290 文字)
【請求項2】
請求項1記載の火災検知器と、
前記火災検知器の前記伝送部から送信された前記劣化カウント値を含む信号を受信し、信号に含まれる前記劣化カウント値に基づき前記火災検知器の劣化の度合いを判定する劣化判定部と、
を備えたことを特徴とする防災システム。
【請求項3】
請求項2記載の防災システムであって、
前記劣化判定部は、前記火災検知器と信号線で接続された防災受信盤に設けられ、
前記火災検知器の前記伝送部からの前記劣化カウント値を含む信号は、前記信号線を介して前記劣化判定部に送信されることを特徴とする防災システム。
発明の詳細な説明
【技術分野】
【0001】
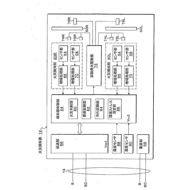
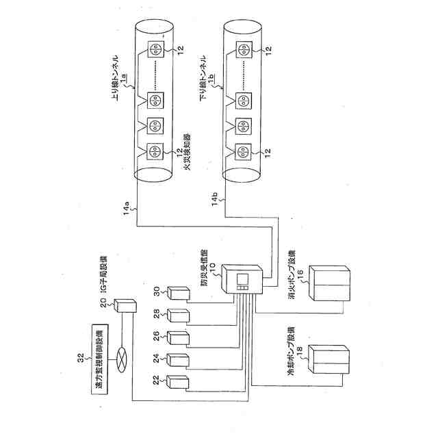
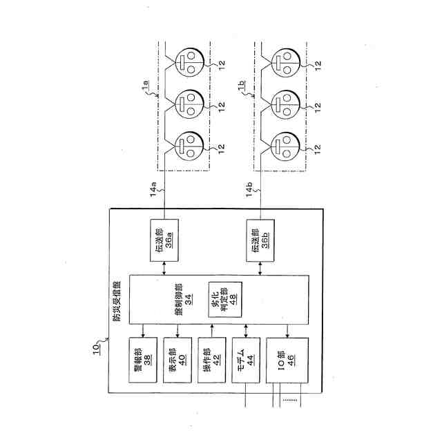
本発明は、防災受信盤から引き出された信号線に接続されてトンネル内の火災を監視する火災検知器及び当該検知器を備える防災システムに関する。
続きを表示(約 1,600 文字)
【背景技術】
【0002】
従来、自動車専用道路等のトンネルには、トンネル内で発生する火災事故から人身及び車両等を守るため、火災を監視する火災検知器が設置され、防災受信盤から引き出された信号線に接続されている。
【0003】
火災検知器は左右の両方向に検出エリアを持ち、トンネルの長手方向に沿って、隣接して配置される火災検知器との検出エリアが相互補完的に重なるように、例えば、25m間隔、或いは50m間隔で連続的に配置されている。
【0004】
また、火災検知器は透光性窓を介してトンネル内で発生する火災炎からの放射線、たとえば赤外線を監視しており、炎の監視機能を維持するために、受光素子の感度を監視するための感度試験や透光性窓の汚れを監視するための汚れ試験を行っている。
【0005】
受光素子の感度試験は、防災受信盤から定期的に送信される試験信号を受信した場合に、疑似的な炎からの光に相当する試験光を試験用光源から受光素子に入射して受光感度を検出し、受光感度が所定の閾値感度に低下するまでは、検出感度の逆数となる補正値で受光値を補正し、検出感度が所定の感度閾値に低下して補正が不可能となった場合には、受光素子の故障信号を防災受信盤に送信してセンサ故障警報を出力させている。
【0006】
透光性窓の汚れ試験は、防災受信盤から定期的に送信される試験信号を受信した場合に、火災検知器の外側に設けられた試験光源から試験光を透光性窓に入射し、受光素子で受光して減光率を求め、減光率が所定の汚れ閾値を超えた場合に汚れ異常信号を防災受信盤に送信して汚れ警報を出力させている。
【先行技術文献】
【特許文献】
【0007】
特開平6-325271号公報
特開2002-246962号公報
特開平11-128381号公報
特開2013-105370号公報
特開平10-111989号公報
特開平10-255185号公報
特開2003-067861号公報
特開2016-136101号公報
特開2002-174652号公報
特開2010-038838号公報
特開2011-249255号公報
【発明の概要】
【0008】
しかしながら、このような従来の火災検知器にあっては、運用期間が長くなった場合、感度試験によるセンサ故障や汚れ試験による汚れ異常が検出されることなく正常に運用されていると思われる状態で、突然、火災検知器が火災検知信号を出力して防災受信盤から非火災報が出される事態が発生しており、非火災報であることを確認するまでは、警報表示板設備などにより火災発生表示を行って車両のトンネル通行を禁止し、担当者が現場に出向いて確認する必要があり、トンネル通行を再開するまでに手間と時間がかかり、トンネル防災システムの信頼性を確保できないおそれがある。
【0009】
このように正常に運用されていると思われる状態で、突然、火災検知器が火災検知信号を出力する原因は、運用期間が長くなることで火災検知器の劣化が進んで動作が不安定な状態となっており、この状態で何らかの原因による誤動作で火災検知信号を出力することが想定される。しかしながら、火災検知器の劣化がどの程度進んでいるかは、製造段階で示された耐用年数といった情報しかなく、火災検知器の劣化状況に対応した維持管理が困難な状況にある。
【0010】
本発明は、非火災報が出されてしまう前に火災検知器の劣化の進み具合を判定して報知することにより適切な対処を可能とする火災検知器及び当該検知器を備える防災システムを提供することを目的とする。
【課題を解決するための手段】
(【0011】以降は省略されています)
この特許をJ-PlatPat(特許庁公式サイト)で参照する
関連特許
ホーチキ株式会社
消火栓装置
1か月前
ホーチキ株式会社
消火栓装置
16日前
ホーチキ株式会社
消火栓装置
3か月前
ホーチキ株式会社
火災検出システム
1か月前
ホーチキ株式会社
防災システム及び操作装置
3か月前
国立大学法人 筑波大学
火災検出システム
1か月前
国立大学法人 筑波大学
火災検出システム
1か月前
国立大学法人 筑波大学
火災検出システム
1か月前
国立大学法人 筑波大学
火災検出システム
1か月前
ホーチキ株式会社
カードリーダー及びカードリーダーの組立方法
1か月前
ホーチキ株式会社
防災設備
27日前
ホーチキ株式会社
消火栓装置
1か月前
ホーチキ株式会社
炎検出装置
1か月前
ホーチキ株式会社
防災システム
29日前
ホーチキ株式会社
火災報知方法
1か月前
ホーチキ株式会社
消火器収納装置
1か月前
ホーチキ株式会社
火災監視システム
21日前
ホーチキ株式会社
施設管理システム
2か月前
ホーチキ株式会社
消臭装置及び消臭方法
1か月前
ホーチキ株式会社
消火栓装置及び消火器箱
2か月前
ホーチキ株式会社
火災検知器の信頼性判断方法
2日前
ホーチキ株式会社
火災検知器及び防災システム
2か月前
ホーチキ株式会社
非常用設備及び消火器収納装置
3か月前
ホーチキ株式会社
火災検出装置、防災設備及び火災検出方法
1か月前
個人
安全支援装置
15日前
株式会社SUBARU
車両
1か月前
日本無線株式会社
船舶システム
16日前
ダイハツ工業株式会社
移動支援装置
1か月前
トヨタ自動車株式会社
サーバ
24日前
株式会社デンソー
運航管理装置
1か月前
株式会社SUBARU
事故情報収集装置
1か月前
株式会社 ミックウェア
車内環境制御システム
1か月前
株式会社SUBARU
車室内異常検知装置
1か月前
ホーチキ株式会社
火災検出システム
1か月前
大阪瓦斯株式会社
音声出力装置
1か月前
株式会社関電工
車両運行通知システム
1か月前
続きを見る
他の特許を見る