TOP
|
特許
|
意匠
|
商標
特許ウォッチ
Twitter
他の特許を見る
10個以上の画像は省略されています。
公開番号
2025170431
公報種別
公開特許公報(A)
公開日
2025-11-18
出願番号
2025147364,2024140703
出願日
2025-09-05,2019-04-23
発明の名称
火災検知器の信頼性判断方法
出願人
ホーチキ株式会社
代理人
個人
,
個人
主分類
G08B
17/00 20060101AFI20251111BHJP(信号)
要約
【課題】火災検知器の信頼性を判断して非火災報を抑制可能とする防災システムの火災検知器の信頼性判断方法を提供する。
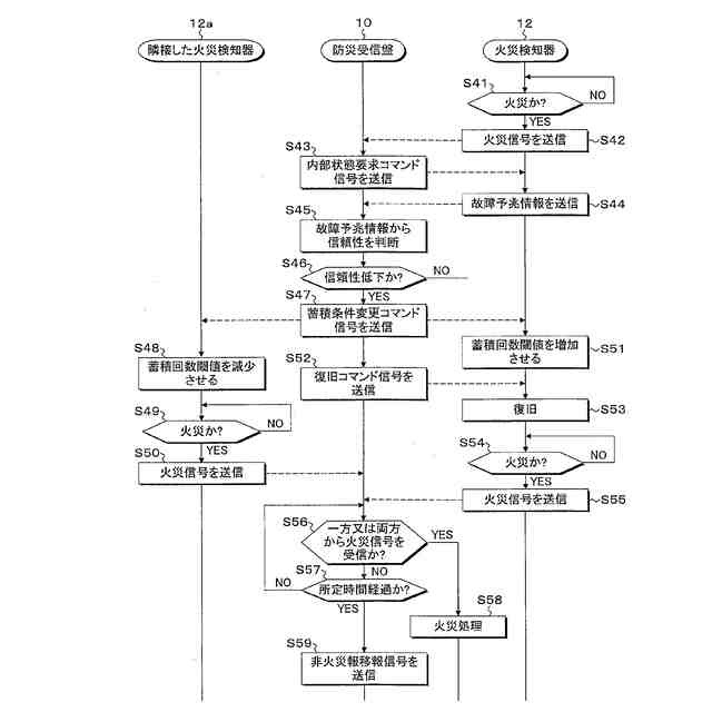
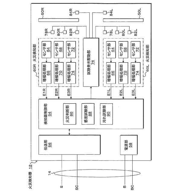
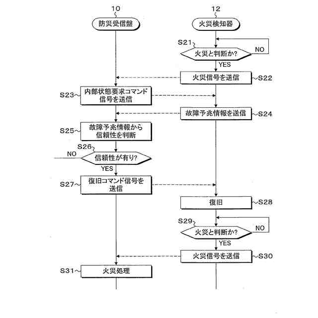
【解決手段】防災システムでは、故障予兆の発生回数を用いて火災検知器12の信頼性を判断し、火災検知器12は、火災を判断するための火災判定で火災と判定しなかった場合に、火災と判断せず火災検知器12の故障予兆と判断し、故障予兆と判断した故障予兆の発生回数をカウント、或いは故障予兆と判断する毎に故障予兆の発生回数のカウントの累積値をインクリメントする。また、火災検知器12は、センサ部64で受光した光から得られる受光信号の受光値を用いて受光値に影響を与える火災検知器12の異常を判断し、受光値に基づく値が故障予兆判断条件を充足した場合に火災検知器の異常予兆と判断し、判断した異常予兆を故障予兆と見做し、異常予兆と判断した回数を故障予兆の発生回数としてカウントする。
【選択図】図4
特許請求の範囲
【請求項1】
故障予兆の発生回数を用いて火災検知器の信頼性を判断する火災検知器の信頼性判断方法であって、
前記火災検知器により、
受光した光に含まれる炎特有な特徴波長帯の光から得られる炎受光信号が所定の条件を充足した場合に火災を判断するために行われる火災判定で火災と判定しなかった場合に、前記火災と判断せず前記火災検知器の故障予兆の発生と判断し、
前記故障予兆の発生と判断した場合に前記故障予兆の発生回数をカウントすることを特徴とする火災検知器の信頼性判断方法。
続きを表示(約 1,700 文字)
【請求項2】
故障予兆の発生回数を用いて火災検知器の信頼性を判断する火災検知器の信頼性判断方法であって、
前記火災検知器により、
受光した光に含まれる炎特有な特徴波長帯の光から得られる炎受光信号が所定の条件を充足した場合に火災を判断するために行われる火災判定で火災と判定しなかった場合に、前記火災と判断せず前記火災検知器の故障予兆の発生と判断し、
前記故障予兆の発生と判断する毎に、前記故障予兆の発生回数のカウントの累積値をインクリメントすることを特徴とする火災検知器の信頼性判断方法。
【請求項3】
故障予兆の発生回数を用いて火災検知器の信頼性を判断する火災検知器の信頼性判断方法であって、
前記火災検知器により、
受光した光に含まれる炎特有な特徴波長帯の光から得られる炎受光信号が所定の条件を充足した場合に火災を判断するために行われる火災判定で火災と判定した場合に前記火災と判断し、
前記火災判定で前記火災と判定しなかった場合に前記火災検知器の故障予兆の発生と判断し、
前記故障予兆の発生と判断した場合に故障予兆の発生回数をカウントすることを特徴とする火災検知器の信頼性判断方法。
【請求項4】
請求項1乃至3の何れに記載の火災検知器の信頼性判断方法であって、
前記火災判定は、複数の火災判定条件を有し、
複数の火災判定条件のうち少なくとも一部を充足しなかった場合には前記火災と判定しないことを特徴とする火災検知器の信頼性判断方法。
【請求項5】
請求項1乃至4の何れに記載の火災検知器の信頼性判断方法であって、
前記火災判定は、前記炎受光信号と受光した光に含まれる前記特徴波長帯とは異なる波長帯の光から得られる非炎受光信号に基づく火災判定条件を用いた火災判定を含むことを特徴とする火災検知器の信頼性判断方法。
【請求項6】
請求項1乃至5の何れに記載の火災検知器の信頼性判断方法であって、
前記火災判定は、前記炎受光信号の周波数に基づく火災判定条件を用いた火災判定を含むことを特徴とする火災検知器の信頼性判断方法。
【請求項7】
故障予兆の発生回数を用いて火災検知器の信頼性を判断する火災検知器の信頼性判断方法であって、
前記火災検知器により、
センサ部で受光した光から得られる受光信号の受光値を用いて前記受光値に影響を与える前記火災検知器の異常を判断し、
前記受光値を用いて求められた所定の値が前記火災検知器の異常と判断するための前記所定の異常判断条件よりも厳格な所定の異常予兆判断条件を充足した場合に前記受光値に影響を与える前記火災検知器の異常予兆と判断し、
前記火災検知器の異常予兆と判断した場合に、前記火災検知器の異常予兆を前記火災検知器の故障予兆と見做し、当該火災検知器の異常予兆と判断した回数を故障予兆の発生回数としてカウントすることを特徴とする火災検知器の信頼性判断方法。
【請求項8】
請求項7記載の火災検知器の信頼性判断方法であって、
前記火災検知器により、前記火災検知器の異常と判断した場合に、異常信号を送信することを特徴とする火災検知器の信頼性判断方法。
【請求項9】
請求項1乃至8の何れに記載の火災検知器の信頼性判断方法であって、
前記火災検知器により、
前記故障予兆の発生回数が所定の条件を充足した場合に故障予兆と判定し、
前記故障予兆と判定した場合に、故障予兆信号を送信することを特徴とする火災検知器の信頼性判断方法。
【請求項10】
請求項1乃至9の何れに記載の火災検知器の信頼性判断方法であって、
前記火災検知器により、前記故障予兆の発生回数を含む故障予兆情報を送信することを特徴とする火災検知器の信頼性判断方法。
(【請求項11】以降は省略されています)
発明の詳細な説明
【技術分野】
【0001】
本発明は、防災受信盤から引き出された信号線に接続された火災検知器によりトンネル内の火災を監視する防災システムの火災検知器の信頼性判断方法に関する。
続きを表示(約 1,400 文字)
【背景技術】
【0002】
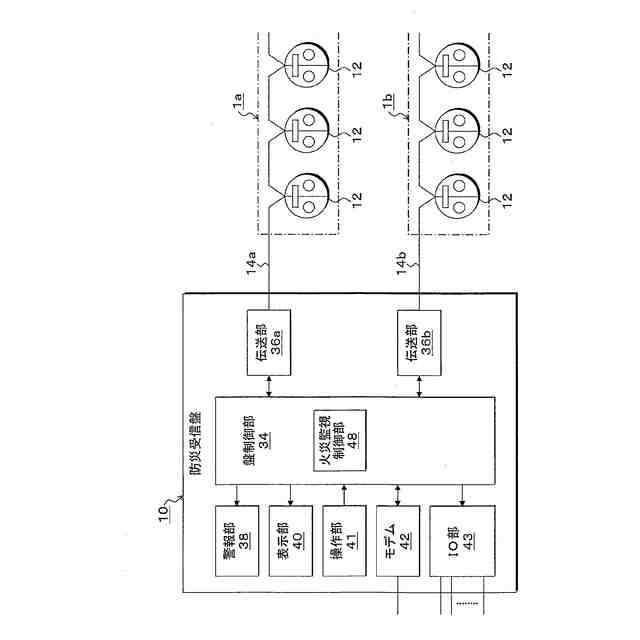
従来、自動車専用道路等のトンネルには、トンネル内で発生する火災事故から人身及び車両等を守るため、火災を監視する火災検知器が設置され、防災受信盤から引き出された信号線に接続されて火災を監視している。
【0003】
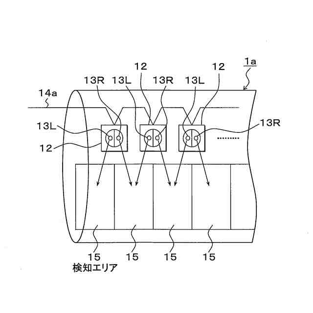
火災検知器は左右の両方向に検知エリアを持ち、トンネルの長手方向に沿って、隣接して配置される火災検知器との検知エリアが相互補完的に重なるように、例えば、25m間隔、或いは50m間隔で連続的に配置されている。
【0004】
また、火災検知器は透光性窓を介してトンネル内で発生する火災炎からの放射線、たとえば赤外線を監視しており、炎の監視機能を維持するために、受光素子の感度を点検するための感度試験や透光性窓の汚れを監視するための汚れ試験を行っている。
【0005】
しかしながら、このような従来の火災検知器にあっては、運用期間が長くなって火災検知器の劣化が進んだ場合、感度試験によるセンサ故障や汚れ試験による汚れ異常が検出されることなく正常に運用されていると思われる状態でも、火災検知器が火災検知信号を出力して防災受信盤から非火災報が出される事態が発生する可能性があり、このような場合、それが非火災報であることを確認するまでは、警報表示板設備などにより進入禁止警報を行って車両のトンネル通行を禁止し、担当者が現場に出向いて確認する必要があり、トンネル通行を再開するまでに手間と時間がかかり、交通渋滞を招くなどの影響が小さくない。
【0006】
このため、防災受信盤で火災検知器の温度、湿度、衝撃振動及び電気的ノイズ等の環境ストレスに基づいて劣化の度合いを判定して報知するようにしたトンネル防災システムが提案されており、火災検知器の劣化の進み具合が把握できることで、非火災報が出されてしまう前に、火災検知器を予備の火災検知器に交換する等の対応を可能としている。
【0007】
また、従来のトンネル防災システムは、防災受信盤が火災検知器からの火災信号を受信したときに、非火災報を防止するために、所定時間後に火災検知器を一旦復旧し、再度、所定時間以内に火災信号を受信したときに火災と判断して警報表示板設備などにより進入禁止警報を行っている。
【先行技術文献】
【特許文献】
【0008】
特開2002-246962号公報
特開2016-128796号公報
特開2018-169893号公報
特開平6-290370号公報
【発明の概要】
【0009】
しかしながら、このような従来の火災検知器にあっては、故障や想定外の非火災要因等に起因した誤った火災判断により火災信号を送信していた場合、一旦復旧した後も、故障や非火災要因等が解消されていない場合には、再度火災信号を送信してしまうことがあるため、非火災報による問題が依然として残されている。
【0010】
本発明は、火災信号を送信した火災検知器の信頼性を判断することにより非火災報を抑制可能とする防災システムの火災検知器の信頼性判断方法を提供することを目的とする。
【課題を解決するための手段】
(【0011】以降は省略されています)
この特許をJ-PlatPat(特許庁公式サイト)で参照する
関連特許
ホーチキ株式会社
消火栓装置
1か月前
ホーチキ株式会社
消火栓装置
17日前
ホーチキ株式会社
火災検出システム
1か月前
国立大学法人 筑波大学
火災検出システム
1か月前
国立大学法人 筑波大学
火災検出システム
1か月前
国立大学法人 筑波大学
火災検出システム
1か月前
国立大学法人 筑波大学
火災検出システム
1か月前
ホーチキ株式会社
カードリーダー及びカードリーダーの組立方法
1か月前
ホーチキ株式会社
防災設備
28日前
ホーチキ株式会社
消火栓装置
1か月前
ホーチキ株式会社
炎検出装置
1か月前
ホーチキ株式会社
防災システム
1か月前
ホーチキ株式会社
火災報知方法
1か月前
ホーチキ株式会社
消火器収納装置
1か月前
ホーチキ株式会社
施設管理システム
2か月前
ホーチキ株式会社
火災監視システム
22日前
ホーチキ株式会社
消臭装置及び消臭方法
1か月前
ホーチキ株式会社
消火栓装置及び消火器箱
2か月前
ホーチキ株式会社
火災検知器の信頼性判断方法
3日前
ホーチキ株式会社
火災検知器及び防災システム
2か月前
ホーチキ株式会社
火災検出装置、防災設備及び火災検出方法
1か月前
個人
安全支援装置
16日前
日本精機株式会社
警報システム
2か月前
個人
自動電動車椅子
2か月前
株式会社SUBARU
車両
1か月前
スズキ株式会社
運転支援装置
2か月前
エムケー精工株式会社
車両誘導装置
2か月前
ニッタン株式会社
検知器
1か月前
個人
磁気路上での車両の路線離脱防御
1か月前
ニッタン株式会社
検知器
2か月前
ニッタン株式会社
検知器
2か月前
ニッタン株式会社
検知器
2か月前
日本無線株式会社
船舶システム
17日前
株式会社国際電気
防災システム
2か月前
株式会社SUBARU
運転支援装置
1か月前
トヨタ自動車株式会社
サーバ
1か月前
続きを見る
他の特許を見る