TOP
|
特許
|
意匠
|
商標
特許ウォッチ
Twitter
他の特許を見る
10個以上の画像は省略されています。
公開番号
2025142201
公報種別
公開特許公報(A)
公開日
2025-09-30
出願番号
2025120988,2023040367
出願日
2025-07-18,2020-02-17
発明の名称
火災報知方法
出願人
ホーチキ株式会社
代理人
個人
,
個人
主分類
G08B
17/00 20060101AFI20250919BHJP(信号)
要約
【課題】煙識別による火災判断の確度を高めて非火災報防止を更に確実なものとする。
【解決手段】受信機10から警戒区域に引き出された信号回線12-1に接続された光電式煙感知器14は、感知区画Z1,Z2で発生した煙の識別情報を含む火災信号を送信する。感知区画Z1、Z2には火災に伴う煙以外の物理的現象の変化を検知するセンサ18が設置され、信号回線12-1に中継器16を介して接続される。センサ18は、CO
2
センサ、COセンサ、炎センサ、又は熱センサの少なくとも何れかであり、受信機10の火報制御部48は、光電式煙感知器14による煙の識別情報と、CO
2
センサ、COセンサ、炎センサ又は熱センサの少なくとも何れかによる検知値とを判断したときに火災警報を出力させる。
【選択図】図1
特許請求の範囲
【請求項1】
警戒区域の火災を監視して警報する火災報知方法であって、
受信機に接続された光電式煙感知器により、所定の警戒区画で発生した煙の識別情報を含む火災信号を送信し、
前記光電式煙感知器と同じ前記警戒区画に設置されたセンサにより、火災に伴う煙以外の物理的現象の変化を検知して検知信号を送信し、
前記受信機に設けられた火報制御部により、
前記光電式煙感知器からの前記火災信号及び前記センサからの前記検知信号を受信し、
前記受信した火災信号に含まれる煙の種類が前記受信した検知信号の検知値に対応した場合に、火災を判断して火災警報を出力させ、
前記受信した火災信号に含まれる煙の検出値が所定の煙濃度を超えた場合に、火災を判断して火災警報を出力させ、
前記警戒区画の種別と連動制御の対応関係を予め記憶し、火災を判断した場合に、火災警報を出力させると共に前記警戒区画の種別に対応した連動制御を行うことを特徴とする火災報知方法。
続きを表示(約 1,000 文字)
【請求項2】
警戒区域の火災を監視して警報する火災報知方法であって、
受信機に接続された光電式煙感知器により、所定の警戒区画で発生した煙を検出した場合に火災信号を送信し、
前記光電式煙感知器と同じ前記警戒区画に設置されたセンサにより、火災に伴う煙以外の物理的現象の変化を検知して検知信号を送信し、
前記受信機に設けられた火報制御部により、
前記光電式煙感知器からの前記火災信号及び前記センサからの前記検知信号を受信し、
前記受信した火災信号に含まれる煙の種類が前記受信した検知信号の検知値に対応した場合に、火災を判断して火災警報を出力させ、
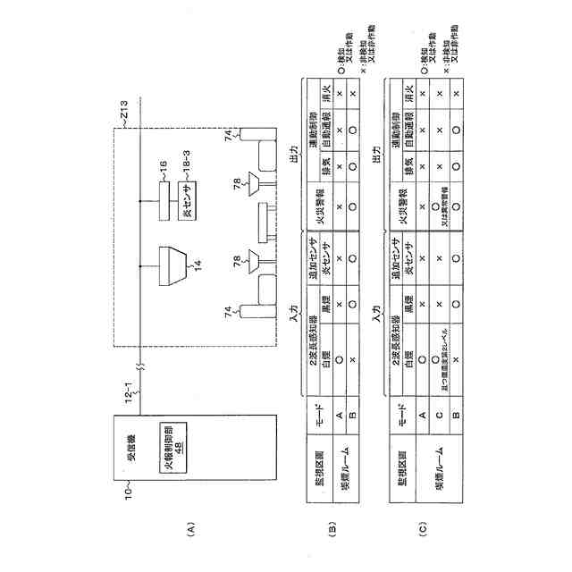
前記光電式煙感知器は、
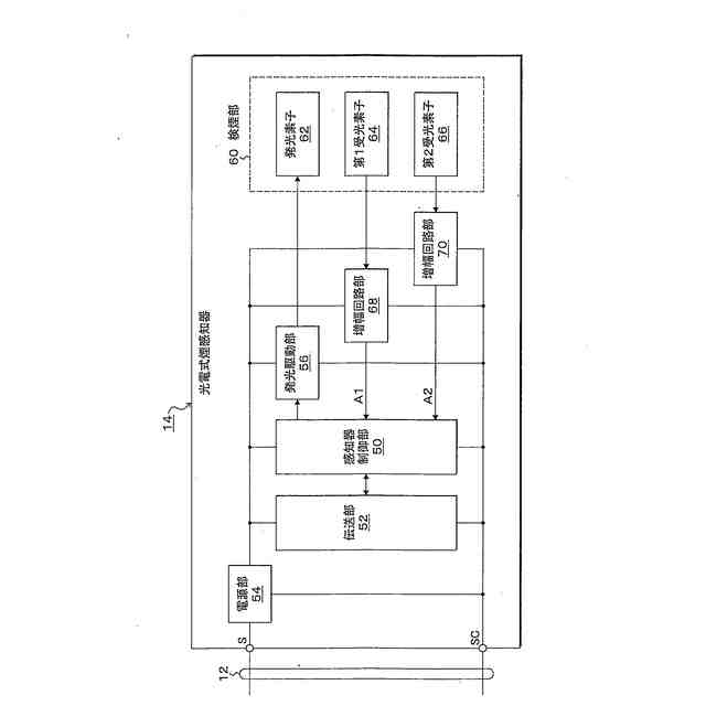
検煙部により、第1波長の光と第1散乱角の設定による煙の散乱光の受光により第1煙検出値を検出すると共に、前記第1波長の光及び前記第1散乱角と異なる第2波長の光と第2散乱角の設定による煙の散乱光の受光により第2煙検出値を検出し、
感知器制御部により、前記検煙部で検出された前記第1煙検出値と前記第2煙検出値を含む火災信号、又は当該第1煙検出値と当該第2煙検出値に基づいて識別した前記煙の種類を含む火災信号を前記受信機に送信し、
前記火報制御部により、前記受信した火災信号に含まれる煙の検出値が所定の煙濃度を超えた場合に、火災を判断して火災警報を出力させたことを特徴とする火災報知方法。
【請求項3】
請求項2記載の火災報知方法であって、
前記受信機の前記火報制御部は、前記光電式煙感知器から受信した火災信号に含まれる前記第1煙検出値と前記第2煙検出値に基づいて煙を識別可能であることを特徴とする火災報知方法。
【請求項4】
請求項1又は2記載の火災報知方法であって、
前記センサとして、火災に伴い発生するCO
2
を検知するCO
2
センサ、火災に伴い発生するCOを検知するCOセンサ、火災に伴い発生する炎を検知する炎センサ、又は火災に伴い発生する熱を検知する熱センサの少なくとも何れかが設けられ、
前記受信機の前記火報制御部により、前記煙の種類と、前記CO
2
センサ、前記COセンサ、前記炎センサ又は前記熱センサの少なくとも何れかによる検知信号に含まれる検知値とに基づき、火災を判断したときに火災警報を出力させることを特徴とする火災報知方法。
発明の詳細な説明
【技術分野】
【0001】
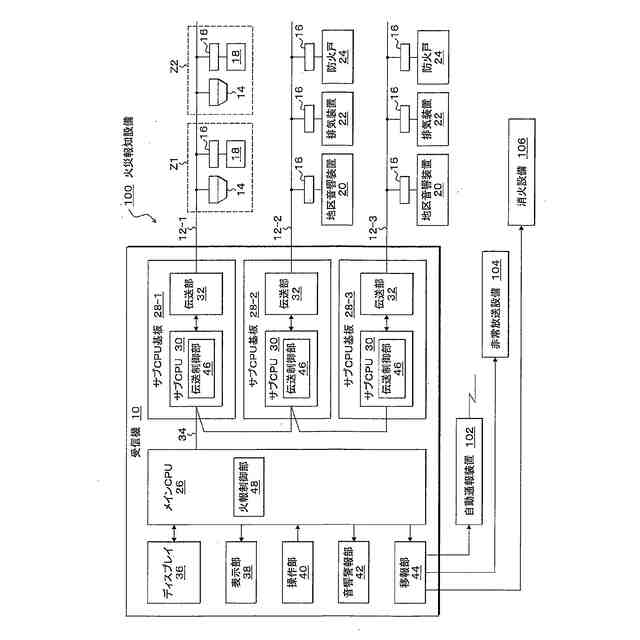
本発明は、受信機に火災感知器を接続して火災を監視する火災報知方法に関する。
続きを表示(約 1,600 文字)
【背景技術】
【0002】
従来、R型として知られた火災報知設備にあっては、受信機に、固有のアドレスが設定された伝送機能を有する火災感知器を接続し、通常監視状態では、感知器アドレスを順次指定した火災感知器の呼出しにより煙濃度や温度等の検出値を収集して監視しており、火災時には、火災感知器からの火災割込み信号に基づき、受信機から検索コマンドを発行して発報した火災感知器のアドレスを特定して検出値を収集し、検出値が所定の火報発報閾値を超えた場合に火災と判断して火災警報を出力させ、更に、排気装置、防火戸、消防機関への自動通報等の連動制御を行うようにしている。
【0003】
また、従来の火災報知設備にあっては、火災感知器として、火災に伴い発生する煙を検知する光電式煙感知器が使用されており、従来の光電式煙感知器は、火災に伴い発生する煙に限らず、調理の煙やバスルームの湯気等により非火災報を発してしまうことがある。
【0004】
このような火災以外の原因による非火災報を防止するため、2種類の波長の光を検煙空間に照射し、煙による散乱光について異なる波長の光強度の比を求めて煙の種類を判定し、煙識別の確度を高めて非火災報防止を確実なものとする所謂2波長方式の光電式煙感知器が提案されている(特許文献2)。
【先行技術文献】
【特許文献】
【0005】
特開2007-265353号公報
特開2004-325211号公報
特開2004-341661号公報
特開2008-225857号公報
【発明の概要】
【発明が解決しようとする課題】
【0006】
ところで、このような従来の2波長方式の光電式煙感知器を受信機に接続して火災を監視する場合、受信機で燻焼火災に伴い発生する白煙か燃焼火災に伴い発生する黒煙かを識別して火災警報を出力することで、火災の危険度に応じた対応が可能となる。
【0007】
しかしながら、光電式煙感知器にバスルーム等からの湯気が流入した場合は、燻焼火災により発生する白煙に近い識別結果が出される場合があり、湯気等による非火災要因を白煙火災と判断して非火災報を出力する可能性が残されている。
【0008】
本発明は、煙識別による火災判断の確度を高めて非火災報防止を更に確実なものとする火災報知方法を提供することを目的とする。
【課題を解決するための手段】
【0009】
(火災報知方法)
本発明は、警戒区域の火災を監視して警報する火災報知方法であって、
受信機に接続された光電式煙感知器により、所定の警戒区画で発生した煙を検出した場合に火災信号を送信し、
光電式煙感知器と同じ警戒区画に設置されたセンサにより、火災に伴い発生する煙以外の物理的現象の変化を検知して検知信号を送信し、
受信機に設けられた火報制御部により、
光電式煙感知器からの火災信号及びセンサからの検知信号を受信し、
受信した火災信号に含まれる煙の種類が受信した検知信号の検出値に対応した場合に、火災を判断して火災警報を出力させ、
受信した火災信号に含まれる煙の検出値が所定の煙濃度を超えた場合に、火災を判断して火災警報を出力させたことを特徴とする。
【0010】
ここで、警戒区画とは、例えば火災場所として特定し得るエリアの単位を示す概念で、警戒区域内の壁で仕切られた部屋や天井梁等で仕切られた区画等を意味する。複数の警戒区画において、それらの形状や空間体積、床面積等はそれぞれ任意であり、相互に同じである必要は無い。
(【0011】以降は省略されています)
この特許をJ-PlatPat(特許庁公式サイト)で参照する
関連特許
ホーチキ株式会社
消火栓装置
1か月前
ホーチキ株式会社
消火栓装置
1日前
ホーチキ株式会社
カードリーダー
2か月前
ホーチキ株式会社
火災検出システム
2か月前
ホーチキ株式会社
消火栓装置の設置構造
2か月前
ホーチキ株式会社
防災システム及び操作装置
1か月前
ホーチキ株式会社
防災システム及び防災端末装置
2か月前
国立大学法人 筑波大学
火災検出システム
1日前
国立大学法人 筑波大学
火災検出システム
1日前
国立大学法人 筑波大学
火災検出システム
1日前
国立大学法人 筑波大学
火災検出システム
1日前
ホーチキ株式会社
インターフェース部品の接地構造および電子機器
2か月前
ホーチキ株式会社
煙検知設備
3か月前
ホーチキ株式会社
炎検出装置
9日前
ホーチキ株式会社
防災システム
3か月前
ホーチキ株式会社
火災報知方法
4日前
ホーチキ株式会社
施設管理システム
25日前
ホーチキ株式会社
電極手段の製造方法
2か月前
株式会社JX通信社
情報処理装置、プログラムおよび情報処理方法
3か月前
ホーチキ株式会社
火災報知設備及び受信機
2か月前
ホーチキ株式会社
消火栓装置及び消火器箱
24日前
ホーチキ株式会社
火災検知器及び防災システム
1か月前
ホーチキ株式会社
消火器具及び消火器具収納装置
3か月前
ホーチキ株式会社
非常用設備及び消火器収納装置
1か月前
日本精機株式会社
警報システム
1か月前
個人
自動電動車椅子
16日前
エムケー精工株式会社
車両誘導装置
1か月前
スズキ株式会社
運転支援装置
1か月前
ニッタン株式会社
検知器
24日前
ニッタン株式会社
発信機
2か月前
ニッタン株式会社
検知器
24日前
ニッタン株式会社
発信機
1か月前
ニッタン株式会社
検知器
2日前
ニッタン株式会社
検知器
26日前
個人
磁気路上での車両の路線離脱防御
5日前
株式会社国際電気
防災システム
1か月前
続きを見る
他の特許を見る