TOP
|
特許
|
意匠
|
商標
特許ウォッチ
Twitter
他の特許を見る
公開番号
2025164901
公報種別
公開特許公報(A)
公開日
2025-10-30
出願番号
2025143030,2024104812
出願日
2025-08-29,2020-03-29
発明の名称
火災監視システム
出願人
ホーチキ株式会社
代理人
個人
,
個人
主分類
G08B
17/00 20060101AFI20251023BHJP(信号)
要約
【課題】火災感知器の構造や機能を追加変更することなく、火災感知器に取り付けているカバー部材の取り外し忘れを確実に防止する火災監視システムを提供する。
【解決手段】火災監視システムにおいて、受信機10の感知器管理部48は、施工工事中に、アナログ煙感知器14で検出した煙濃度を受信して、零ではないが零に近い煙濃度の所定の閾値と比較し、煙濃度が所定の閾値未満の場合にカバー部材となる防塵カバー15が取り外されていないと判定し、閾値以上の場合に防塵カバー15が取り外されていると判定し、判定結果を表示する。
【選択図】図1
特許請求の範囲
【請求項1】
監視領域の検出対象を検出する火災感知器を備えた火災監視システムであって、
前記火災感知器が火災を判断するために検出した所定の物理量が前記火災を判断するための条件とは異なる条件を満たすかどうかに基づいて、前記火災感知器に対する前記カバー部材の取り外し状態を判定する判定部を備えたことを特徴とする火災監視システム。
続きを表示(約 170 文字)
【請求項2】
請求項1記載の火災監視システムであって、
前記判定部は、前記火災感知器のカバー部材が取り外されたと判定した後に、前記所定の物理量の直近の検出値又はその移動平均値が所定の閾値未満又は以下であることを含む条件を満たしたとき、前記カバー部材が取り外されていない状態であると判定することを特徴とする火災監視システム。
発明の詳細な説明
【技術分野】
【0001】
本発明は、火災感知器により火災を監視する火災監視システムに関する。
続きを表示(約 1,400 文字)
【背景技術】
【0002】
従来、R型(Record-type)の火災監視システムにあっては、受信機に、固有のアドレスが設定された伝送機能を有する火災感知器、例えば煙感知器を接続し、煙感知器で検出した煙濃度等に基づく検出結果を受信機で受信して所定の火災判断条件を充足したときに火災と判断し、音と表示により火災発生場所を示す火災警報を出力している。
【0003】
このような火災監視システムの施工工事では、受信機を施工保守モード(音による火災警報や連動制御を停止するモード)に切り替えた状態で、固有のアドレスが設定された煙感知器や防排煙機器等の端末を受信機に接続する工事を行い、接続の済んだ端末については動作を確認する試験等を行い、最終的に行われる消防検査に向けて工事を進めている。
【0004】
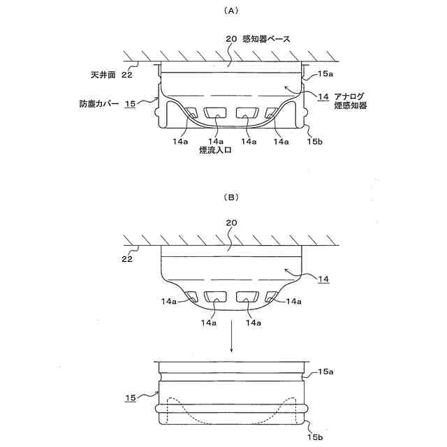
煙感知器の工事は、感知器ベースを監視領域となる例えば部屋の天井面に設置して受信機と接続し、感知器ベースに煙感知器を嵌合して機械的且つ電気的に接続している。煙感知器は、煙流入口から内部の検煙部に流入した煙に検出光を照射し、その散乱光を受光して煙濃度を検出している。また、煙感知器には、工場出荷の際にカバー部材として防塵カバーが装着されており、工事の際には、粉塵の流入を防止するために防塵カバーを取り付けたままとし、最終的な消防検査を行うまでに、取り外すようにしている。
【先行技術文献】
【特許文献】
【0005】
特開2009-026259号公報
【発明の概要】
【発明が解決しようとする課題】
【0006】
しかしながら、煙感知器からの防塵カバーの取り外しの確認は、工事関係者が現場に出向いて行う目視作業となり、煙感知器は監視領域となる各階の部屋、廊下、階段等の様々な場所に設置されており、防塵カバーの取り外しの確認に手間と時間がかかり、万一、防塵カバーを取り外していない煙感知器があると、その場所での火災監視機能が失われるという問題がある。
【0007】
このような問題を解決するため、例えば住宅用火災警報器にあっては、特許文献1に示すように、防塵カバーの取り外し状態を検知するカバー体検知スイッチを設け、防塵カバーの取り外し忘れを警報するようにしている。
【0008】
しかし、火災監視システムに設けた多数の煙感知器に、実際の運用には不要なカバー体検知スイッチ等を設けることは、構造が複雑化してコストアップに繋がるといった問題がある。また、住宅用火災警報器においても、同様な問題がある。
【0009】
本発明は、火災感知器の構造や機能を追加変更することなく、火災感知器に取り付けているカバー部材の取り外し忘れを確実に防止可能する火災監視システムを提供することを目的とする。
【課題を解決するための手段】
【0010】
(火災感知器単独の火災監視システム)
本発明は、監視領域の検出対象を検出する火災感知器を備えた火災監視システムであって、火災感知器が火災を判断するために検出した所定の物理量が火災を判断するための条件とは異なる条件を満たすかどうかに基づいて、火災感知器に対するカバー部材の取り外し状態を判定する判定部を備えたことを特徴とする。
(【0011】以降は省略されています)
この特許をJ-PlatPat(特許庁公式サイト)で参照する
関連特許
ホーチキ株式会社
消火栓装置
3か月前
ホーチキ株式会社
消火栓装置
3日前
ホーチキ株式会社
消火栓装置
1か月前
ホーチキ株式会社
消火栓装置
25日前
ホーチキ株式会社
火災検出システム
1か月前
ホーチキ株式会社
避難誘導システム
1日前
国立大学法人 筑波大学
火災検出システム
1か月前
国立大学法人 筑波大学
火災検出システム
1か月前
国立大学法人 筑波大学
火災検出システム
1か月前
国立大学法人 筑波大学
火災検出システム
1か月前
ホーチキ株式会社
カードリーダー及びカードリーダーの組立方法
1か月前
ホーチキ株式会社
防災設備
1か月前
ホーチキ株式会社
消火栓装置
1か月前
ホーチキ株式会社
炎検出装置
2か月前
ホーチキ株式会社
防災システム
1か月前
ホーチキ株式会社
火災報知方法
2か月前
ホーチキ株式会社
消火器収納装置
1か月前
ホーチキ株式会社
火災監視システム
1か月前
ホーチキ株式会社
施設管理システム
2か月前
ホーチキ株式会社
消臭装置及び消臭方法
1か月前
ホーチキ株式会社
消火栓装置及び消火器箱
2か月前
ホーチキ株式会社
火災検知器の信頼性判断方法
11日前
ホーチキ株式会社
火災検知器及び防災システム
2か月前
ホーチキ株式会社
火災検出装置、防災設備及び火災検出方法
1か月前
ホーチキ株式会社
処置情報提供システム及びその処置情報提供方法
3日前
個人
安全支援装置
24日前
日本精機株式会社
警報システム
2か月前
個人
自動電動車椅子
2か月前
株式会社SUBARU
車両
1か月前
エムケー精工株式会社
車両誘導装置
3か月前
スズキ株式会社
運転支援装置
2か月前
ニッタン株式会社
発信機
3か月前
ニッタン株式会社
検知器
1か月前
ニッタン株式会社
検知器
2か月前
ニッタン株式会社
発信機
3か月前
ニッタン株式会社
検知器
2か月前
続きを見る
他の特許を見る