TOP
|
特許
|
意匠
|
商標
特許ウォッチ
Twitter
他の特許を見る
10個以上の画像は省略されています。
公開番号
2025173986
公報種別
公開特許公報(A)
公開日
2025-11-28
出願番号
2024079920
出願日
2024-05-16
発明の名称
避難誘導システム
出願人
ホーチキ株式会社
代理人
個人
,
個人
主分類
A62B
3/00 20060101AFI20251120BHJP(人命救助;消防)
要約
【課題】火災に伴い発生した煙等により視界が妨げられた状況であっても避難通路を通り、確実に避難先へ避難することを可能とする。
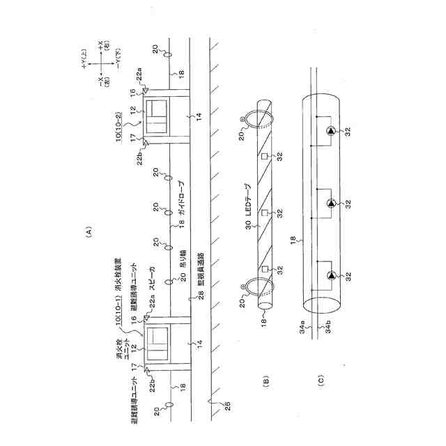
【解決手段】避難誘導システムは、トンネル壁面に沿って設けられた監視員通路28の路面上に所定間隔で設置され、消火栓ユニット12とホース収納ユニット14で構成される消火栓本体及び消火栓本体の両側に配置された避難誘導ユニット16、17を備えた消火栓装置10(10-1),10(10-2)と、消火栓装置10(10-1)の避難誘導ユニット16と消火栓装置10(10-2)の避難誘導ユニット17の間で固定的に引き渡され、避難先への避難に支援するガイドロープ18を備える。
【選択図】図1
特許請求の範囲
【請求項1】
避難通路の壁面に沿って前記避難通路に所定間隔で設置された防災装置と、
隣り合う防災装置の間に張り渡され、避難先へ誘導する索状部材と、
を備えたことを特徴とする避難誘導システム。
続きを表示(約 1,000 文字)
【請求項2】
請求項1記載の避難誘導システムであって、
前記索状部材は、前記隣り合う防災装置の間に固定的に張り渡されたことを特徴とする避難誘導システム。
【請求項3】
請求項1記載の避難誘導システムであって、
前記索状部材は、前記隣り合う防災装置の間で周回移動可能なループ状に張り渡されたことを特徴とする避難誘導システム。
【請求項4】
請求項2記載の避難誘導システムにおいて、
前記索状部材は、電気により発光する発光部を備えたことを特徴とする避難誘導システム。
【請求項5】
請求項2又は3記載の避難誘導システムにおいて、
前記索状部材は、光の照射により発光する発光部を備え、
前記発光部に所定の光を照明する照明装置が前記発光部の位置に対応して配置されたことを特徴とする避難誘導システム。
【請求項6】
請求項2又は3記載の避難誘導システムであって、
張り渡された前記索状部材を下方から支持する支持部材が前記隣り合う防災装置の間に配置されたことを特徴とする避難誘導システム。
【請求項7】
請求項1記載の避難誘導システムであって、
前記防災装置は、避難方向を示す方向表示器を備えたことを特徴とする避難誘導システム。
【請求項8】
請求項7記載の避難誘導システムであって、
前記方向表示器は、火災発生場所から離れる方向、或いは前記避難通路の所定位置に設けられた避難口へ向かう方向を前記避難方向として表示することを特徴とする避難誘導システム。
【請求項9】
請求項1記載の避難誘導システムであって、
前記防災装置は、所定の案内メッセージを出力する音声装置を備え、
前記音声装置は、少なくとも隣に位置する防災装置側に、当該隣に位置する防災装置側に指向性を有するように配置されたことを特徴とする避難誘導システム。
【請求項10】
請求項9記載の避難誘導システムであって、
前記案内メッセージは、前記索状部材により防災装置に到達した避難者に対して避難先へ向かう次の索状部材への移動を促す旨の案内メッセージ、及び前記索状部材により防災装置に到達した避難者に対して避難先へ向かう次の索状部材の途中にある避難口への移動を促す旨の案内メッセージを含むことを特徴とする避難誘導システム。
(【請求項11】以降は省略されています)
発明の詳細な説明
【技術分野】
【0001】
本発明は、避難通路に設置される避難誘導システムに関する。
続きを表示(約 1,200 文字)
【背景技術】
【0002】
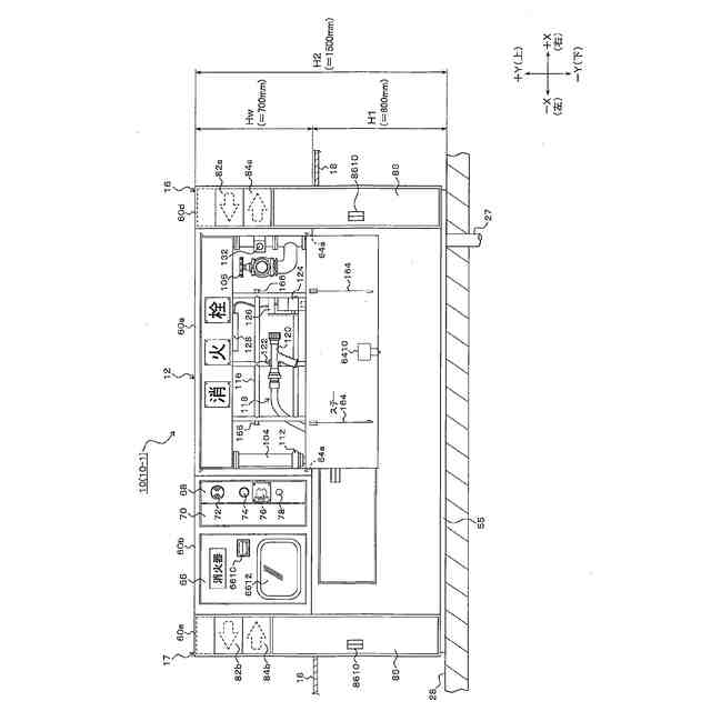
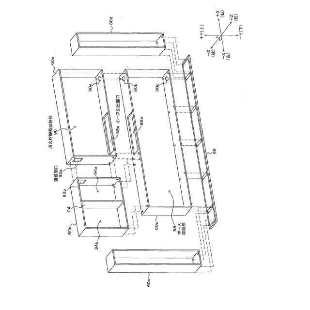
従来、高速道路や自動車専用道路等のトンネル内には、防災装置として消火栓装置が設置され、消火栓装置には、トンネル内で発生した火災等の異常に対応するために消火用ホースや消火栓弁といった消火栓機器や消火器等が収納されている。また、消火栓装置は、一般的にトンネル長手方向、例えば50メートル間隔で監視員通路が設けられたトンネル壁面を箱抜きして埋込み設置されたり、トンネル壁面に箱抜きすることなく、トンネル壁面に壁掛けして設置されたり、監視員通路の路面上に設置されたりしている(特許文献1-3)。
【0003】
また、トンネル内で車両事故や車両故障等により火災が発生した場合には、消火栓装置を利用して火災に対応するだけでなく、道路利用者は避難通路となる監視員通路を通ってトンネルの出入口或いは避難坑に繋がる避難口を目指して避難することになる。
【先行技術文献】
【特許文献】
【0004】
特開2009-279294号公報
特開2019-000196号公報
特開2023-096296号公報
【発明の概要】
【発明が解決しようとする課題】
【0005】
しかしながら、ガソリン等の燃料に着火して急激な燃焼が起きる火災にあっては、火災による黒煙が大量に発生してトンネル内に拡散し、避難者は拡散された黒煙により視界が効かない状況下での避難を強いられることになり、現在位置や監視員通路の途中に設けられている避難口の位置が特定できずに避難口に到達するまでに時間を要すことになり、最悪な事態としては避難口に到達できずにトンネル内に取り残されるような事態も招きかねない。
【0006】
本発明は、火災に伴い発生した煙等により視界が妨げられた状況であっても避難通路を通り、確実に避難先へ避難することを可能とする避難誘導システムを提供することを目的とする。
【課題を解決するための手段】
【0007】
(避難誘導システム)
本発明は、避難誘導システムであって、
避難通路の壁面に沿って避難通路に所定間隔で設置された防災装置と、
隣り合う防災装置の間に張り渡され、避難先へ誘導する索状部材と、
を備えたことを特徴とする。
【0008】
(索状部材の張り渡し方法1)
索状部材は、隣り合う防災装置の間に固定的に張り渡される。
【0009】
(索状部材の張り渡し方法2)
索状部材は、隣り合う防災装置の間で周回移動可能なループ状に張り渡される。
【0010】
(索状部材の発光部)
索状部材は、電気により発光する発光部を備える。
(【0011】以降は省略されています)
この特許をJ-PlatPat(特許庁公式サイト)で参照する
関連特許
ホーチキ株式会社
消火栓装置
2日前
ホーチキ株式会社
消火栓装置
24日前
ホーチキ株式会社
避難誘導システム
今日
ホーチキ株式会社
防災設備
1か月前
ホーチキ株式会社
防災システム
1か月前
ホーチキ株式会社
消火器収納装置
1か月前
ホーチキ株式会社
火災監視システム
29日前
ホーチキ株式会社
消臭装置及び消臭方法
1か月前
ホーチキ株式会社
火災検知器の信頼性判断方法
10日前
ホーチキ株式会社
処置情報提供システム及びその処置情報提供方法
2日前
個人
階段上り下り滑り板
10か月前
個人
高層ビルからの救助装置
2か月前
藤井電工株式会社
連結フック
8か月前
個人
ビル内部による救出装置
1か月前
藤井電工株式会社
安全帯取付具
3か月前
個人
大地震の火災消火システム
3か月前
能美防災株式会社
消火装置
1か月前
株式会社高儀
胴当てベルト
3か月前
能美防災株式会社
消火装置
11か月前
能美防災株式会社
消火栓装置
11か月前
個人
高層階の降下型避難装置
7か月前
帝国繊維株式会社
防災用車両
4か月前
株式会社キッツ
流水検知装置
5か月前
深田工業株式会社
発泡ノズル
11か月前
ホーチキ株式会社
防災システム
11か月前
中国電力株式会社
長尺工具保持具
11か月前
ホーチキ株式会社
消火栓装置
11か月前
ホーチキ株式会社
消火栓装置
5か月前
ホーチキ株式会社
消火栓装置
11か月前
ホーチキ株式会社
消火栓装置
3か月前
ホーチキ株式会社
消火栓装置
2日前
ホーチキ株式会社
消火栓装置
1か月前
ホーチキ株式会社
消火栓装置
24日前
株式会社立売堀製作所
流水検知装置
4か月前
ホーチキ株式会社
消火栓装置
7か月前
ホーチキ株式会社
消火栓装置
6か月前
続きを見る
他の特許を見る