TOP
|
特許
|
意匠
|
商標
特許ウォッチ
Twitter
他の特許を見る
10個以上の画像は省略されています。
公開番号
2025172872
公報種別
公開特許公報(A)
公開日
2025-11-26
出願番号
2025141956,2023218952
出願日
2025-08-28,2019-12-09
発明の名称
処置情報提供システム及びその処置情報提供方法
出願人
ホーチキ株式会社
代理人
個人
,
個人
主分類
G08B
17/00 20060101AFI20251118BHJP(信号)
要約
【課題】受信機等の防災設備側の機能構成を増加することなく、不慣れな管理者であっても適切且つ迅速に必要な操作や対処を可能とする。
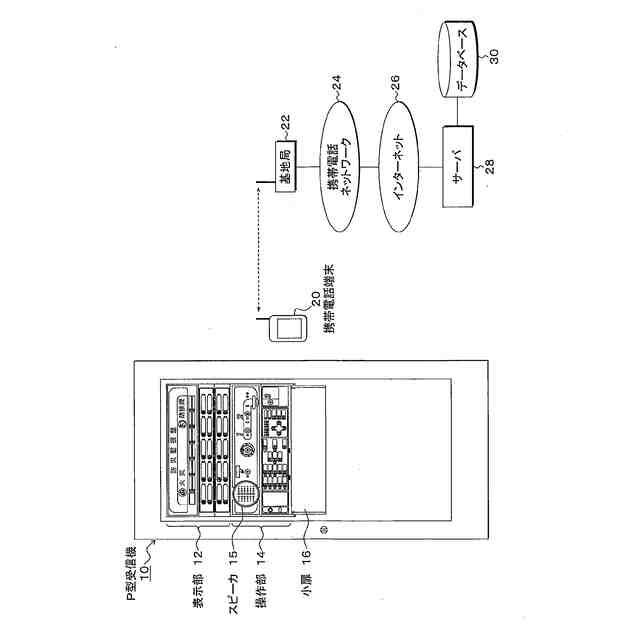
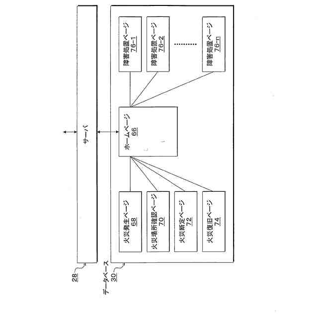
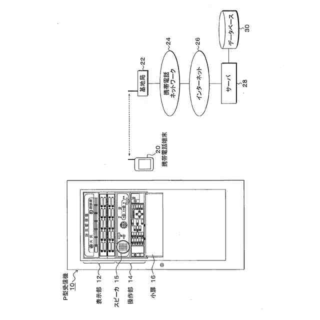
【解決手段】P型受信機10は、火災や障害等のイベントを検出した場合にイベント内容に対応する信号を含む警報音声を出力する。P型受信機10で検出する火災や障害等のイベントに対する処置情報をインターネット26上のサーバ28側に記憶する。音声符号出力部50は、P型受信機10から出力される信号を受信し、少なくとも当該信号に対応する音声符号音を出力する。携帯電話端末20は、音声符号出力部50から出力される音声符号音に対応してサーバ28の処置情報にアクセスする所定のリンク情報を予め登録しており、音声符号出力部50から出力される音声符号音に対応するリンク情報に基づきサーバ28にアクセスして処置情報を取得して表示する。
【選択図】図1
特許請求の範囲
【請求項1】
所定のイベントを検出した場合に、当該イベント内容に対応する警報音声を出力する制御装置と、
前記制御装置で検出する前記イベントに対応する処置情報を記憶したサーバと、
前記制御装置で検出する前記イベントに対応する音声符号音を出力する音声符号出力部と、
前記音声符号音に対応して前記サーバの処置情報にアクセスする所定のリンク情報を予め登録した携帯端末と、
を備え、
前記制御装置は、前記イベントの検出に対応して音声ガイダンスする内容がある場合に、音声案内誘導灯を作動して音声案内スイッチの操作を促すと共に、前記音声案内スイッチの操作を検出する毎に、前記イベントに対応した処置を示す音声ガイダンスを出力し、
前記音声符号出力部は、前記音声ガイダンスの示すイベントに対応した音声符号音を出力し、
前記携帯端末が、前記音声符号出力部から出力される前記音声符号音を受信し、当該音声符号音に対応するリンク情報に基づき、前記サーバにアクセスして前記処置情報を取得して出力することを特徴とする処置情報提供システム。
続きを表示(約 450 文字)
【請求項2】
制御装置により、所定のイベントを検出した場合に、当該イベント内容に対応する警報音声を出力すると共に、前記イベントの検出に対応して音声ガイダンスする内容がある場合に、音声案内誘導灯を作動して音声案内スイッチの操作を促し、前記音声案内スイッチの操作を検出する毎に、前記イベントに対応した処置を示す音声ガイダンスを出力し、
サーバにより、前記制御装置で検出する前記イベントに対応する処置情報を記憶し、
音声符号出力部により、前記制御装置で検出するイベントに対応する音声符号音を出力すると共に、前記音声ガイダンスの示すイベントに対応した音声符号音を出力し、
携帯端末により、前記音声符号音に対応して前記サーバの処置情報にアクセスする所定のリンク情報を予め登録すると共に、前記音声符号出力部から出力される前記音声符号音を受信し、当該音声符号音に対応するリンク情報に基づき、前記サーバにアクセスして前記処置情報を取得して出力することを特徴とする処置情報提供方法。
発明の詳細な説明
【技術分野】
【0001】
本発明は、火災感知器からの火災信号を受信機で受信して警報する火災報知設備等の取扱方法を利用者に提供する処置情報提供システム及びその処置情報提供方法に関する。
続きを表示(約 1,400 文字)
【背景技術】
【0002】
従来、火災報知設備に設けられた例えばP型受信機にあっては、受信機から引き出された回線に発信機や火災感知器を接続して回線単位に火災を監視しており、火災が発生した場合には、音響や表示灯によって管理人等の建物関係者に警報を出すようにしている。
【0003】
火災発生により警報が出された場合、管理者は予め定められた取扱いの手順に従い、音響停止、現場確認、消防機関への通報、初期消火、避難誘導という手順に従った一連のスイッチ操作や対処を行うことになる。
【0004】
また火災発生に適切に対応操作できるようにするため、受信機の取扱説明書を見ながら操作練習を行うようにしている。
【0005】
しかしながら、このような従来の火災報知設備にあっては、火災が発生したときの警報により、管理者があわててしまい、受信機を適切に操作することができない場合が想定される。また管理者が受信機の操作に慣れるために練習を行う場合には、受信機から他設備への連動、移報出力、音響などを停止し、実際に発信機や火災感知器を作動させて火災発報させるなどする必要があり、容易に操作練習をすることができないという問題があった。
【0006】
そこで、火災の発生で警報が出された場合に、不慣れな管理者であっても適切且つ迅速に対処可能とするため、火災信号を受信して主音響が鳴動したら、音響停止スイッチを操作すると音声ガイダンス処理が起動し、音声案内スイッチを押すと、状況に合った適切な操作方法のガイダンス内容を音声によって知らせ、受信機の操作に不慣れな管理者であっても、音声ガイダンスに従いながら操作することで、適切な操作を行うことができるようにした受信機が実用化されている(特許文献1)。
【0007】
また、火災受信機の扉体の内面にQRコード(登録商標)などの識別コードを配置し、識別コードを読み取ってサーバから取扱説明書等を呼び出すようにした情報提供システムも提供されている(特許文献2)。
【先行技術文献】
【特許文献】
【0008】
特開2009-087111号公報
特開2015-076869号公報
【発明の概要】
【発明が解決しようとする課題】
【0009】
しかしながら、このような火災の発生により受信機から警報が出された場合に音声ガイダンスによって状況に合った適切な操作方法等を知らせるようにした火災報知設備にあっては、火災といった非常事態により混乱している中では、音声ガイダンスに注意を集中していないと聞き逃してしまう場合があり、音声ガイダンスの確認に手間取って適切に対処できない可能性もある。
【0010】
また、火災受信機の扉体の内面に配置したQRコード(登録商標)などの識別コードを読み取ってサーバから取扱説明書等を呼び出すようにした情報提供システムにあっては、受信機の扉を開き、扉内に設けた識別コードに対応して火災受信機の取扱説明書を呼び出すため、例えば、操作部に設けた特定のスイッチの操作に関する処置情報を取扱説明書の中から対応措置の説明を捜し出すのに手間と時間がかかり、火災が発生した緊急を要する状況での利用は困難であるという問題がある。
(【0011】以降は省略されています)
この特許をJ-PlatPat(特許庁公式サイト)で参照する
関連特許
ホーチキ株式会社
消火栓装置
1か月前
ホーチキ株式会社
消火栓装置
23日前
ホーチキ株式会社
消火栓装置
1日前
ホーチキ株式会社
火災検出システム
1か月前
国立大学法人 筑波大学
火災検出システム
1か月前
国立大学法人 筑波大学
火災検出システム
1か月前
国立大学法人 筑波大学
火災検出システム
1か月前
国立大学法人 筑波大学
火災検出システム
1か月前
ホーチキ株式会社
カードリーダー及びカードリーダーの組立方法
1か月前
ホーチキ株式会社
防災設備
1か月前
ホーチキ株式会社
消火栓装置
1か月前
ホーチキ株式会社
炎検出装置
2か月前
ホーチキ株式会社
火災報知方法
1か月前
ホーチキ株式会社
防災システム
1か月前
ホーチキ株式会社
消火器収納装置
1か月前
ホーチキ株式会社
火災監視システム
28日前
ホーチキ株式会社
消臭装置及び消臭方法
1か月前
ホーチキ株式会社
消火栓装置及び消火器箱
2か月前
ホーチキ株式会社
火災検知器の信頼性判断方法
9日前
ホーチキ株式会社
火災検出装置、防災設備及び火災検出方法
1か月前
ホーチキ株式会社
処置情報提供システム及びその処置情報提供方法
1日前
日本精機株式会社
警報システム
2か月前
個人
安全支援装置
22日前
株式会社SUBARU
車両
1か月前
個人
自動電動車椅子
2か月前
エムケー精工株式会社
車両誘導装置
3か月前
スズキ株式会社
運転支援装置
2か月前
ニッタン株式会社
検知器
2か月前
株式会社国際電気
防災システム
3か月前
ニッタン株式会社
検知器
2か月前
ニッタン株式会社
検知器
2か月前
日本無線株式会社
船舶システム
23日前
ニッタン株式会社
検知器
1か月前
個人
磁気路上での車両の路線離脱防御
1か月前
日本信号株式会社
異常走行検出装置
2か月前
トヨタ自動車株式会社
サーバ
1か月前
続きを見る
他の特許を見る