TOP
|
特許
|
意匠
|
商標
特許ウォッチ
Twitter
他の特許を見る
10個以上の画像は省略されています。
公開番号
2025161843
公報種別
公開特許公報(A)
公開日
2025-10-24
出願番号
2025134059,2021038616
出願日
2025-08-12,2021-03-10
発明の名称
防災設備
出願人
ホーチキ株式会社
代理人
個人
,
個人
主分類
G08B
17/10 20060101AFI20251017BHJP(信号)
要約
【課題】シランガスなどの半導体製造用ガス火災を識別して火災拡大防止、抑制又は消火を可能とする防災設備を提供する。
【解決手段】火災検出装置において、信号検出部16は、検出対象に所定波長の光を照射し、前方散乱角40°で得られる受光信号から検出値A1を検出し、後方散乱角110°で得られる受光信号から検出値A2を検出し、散乱角90°で得られる受光信号から検出値A3を検出する。識別部18は、検出値A1及び検出値A2に対し検出値A3が最小値となるレイリー散乱に対応した所定の識別条件を充足した場合に、単分散粒子を生ずる半導体製造用ガス火災である旨を識別する。検出出力部20は、半導体製造用ガス火災が識別されている状態で検出値A1又は検出値A2が所定の火災検出条件を充足した場合に、火災と合わせて半導体製造用火災である旨の識別結果を外部へ出力する。
【選択図】図1
特許請求の範囲
【請求項1】
半導体製造用ガスが使用される監視領域において、煙を生じる発煙火災と、単分散粒子を生じる半導体製造用ガス火災とを燃焼生成物に対する散乱光の特性に基づき検出し、何れの火災であるかを識別して結果を出力し、
前記識別の結果が前記半導体製造用ガス火災である場合に、前記半導体製造用ガスの供給停止及び又は火災発生領域に対する前記半導体製造用ガスの種類に応じた消火剤の放出をすることを特徴とする防災設備。
続きを表示(約 200 文字)
【請求項2】
半導体製造用ガスが使用される監視領域において、煙を生じる発煙火災と、単分散粒子を生じる半導体製造用ガス火災とを燃焼生成物に対する散乱光の特性に基づき検出し、何れの火災であるかを識別して結果を出力し、
前記識別の結果が前記半導体製造用ガス火災である場合に、前記半導体製造用ガスの供給停止及び又は火災発生領域に対する不活性ガスの放出をすることを特徴とする防災設備。
発明の詳細な説明
【技術分野】
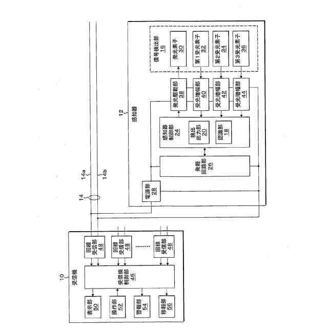
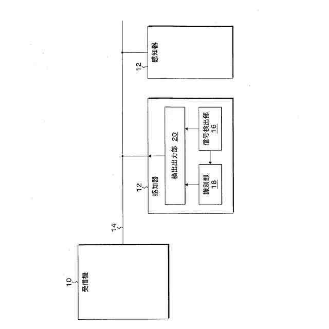
【0001】
本発明は、半導体製造などに使用される発火性のガスの漏洩による火災を検出する煙感知器等の防災設備に関する。
続きを表示(約 1,600 文字)
【背景技術】
【0002】
従来、半導体製造に使用されるある種のガスや、化学工業の原材料となる化合物には、そのガス自体が有毒で強い発火性があり、燃焼生成ガスが有毒であったりする物質が多い。例えば、半導体製造でドーピングガスとして使用される例えばシランガスやエピタキシャルガスとして使用されるホスフィンガスなどのガスは、外部に漏洩して空気に触れると自然発火して爆発的に燃焼し、例えば、シランガスの場合は酸化ケイ素SiO
2
が生成される。
【0003】
これらガスや化学材料の火災検出装置としては、煙感知器が広く用いられている。煙感知器は、感知器内の検煙部に流入した燃焼生成物の微粒子に発光素子から光を照射し、微粒子による散乱光を受光素子により捉えることで燃焼生成物の存在を検出するものである。
【0004】
また、従来、異なる散乱角と異なる波長による光の散乱光を受光して煙の種類を識別する煙感知器等の火災検出装置が知られている。例えば、2つの発光素子につき、受光素子に対する散乱角を異ならせることで、煙の種類による散乱光の相違を作り出し、同時に、2つの発光素子から発する光の波長を異ならせることで、波長に起因した散乱特性の相違を作り出し、この散乱角の相違と波長の相違の相乗効果によって煙の種類による散乱光の光強度に顕著な差をもたせ、煙の識別確度を高めて調理の湯気などによる非火災報を防止し、また、火災による煙についても、黒煙と白煙といった燃焼物に対応した煙の種類を識別することを可能としている。
【0005】
更に、火炎を検出する火災検出装置として、燃焼炎のCO
2
共鳴に伴って放射される4.5μm帯の赤外線を焦電体等のセンサで電気信号に変換し、この電気信号から炎特有のちらつき周波数成分を抽出して炎の有無を判定するものも知られている。
【先行技術文献】
【特許文献】
【0006】
特開2004-325211号公報
特開2020-035029号公報
特開2020-135263号公報
特許第4014188号公報
特許第4404329号公報
【発明の概要】
【発明が解決しようとする課題】
【0007】
しかしながら、従来の煙感知器では、半導体製造で使用されるガスが漏洩して燃焼した場合の生成物と、一般火災、油火災又は電気火災として知られた通常の機械や構造物が失火により燃焼した場合に生じる通常火災の燃焼生成物との識別ができない。
【0008】
また、従来の火炎を判定する火災検出装置にあっても、半導体製造で使用されるガスの漏洩火災が起きても、通常の炭素を含む物質の火災とは異なり、CO
2
共鳴に伴って放射される4.5μm帯の赤外線を放射するCO
2
が燃焼時に発生せず、ガスの漏洩火災を検出できない可能性が高い。
【0009】
一方、例えばシランガスやホスフィンガス等の半導体製造ガスが燃焼した場合には、水をかけて消火することは毒性ガスの発生を防ぐために絶対に行ってはならず、同じくハロン消火ガスによる消火も不適とされ、二酸化炭素または粉末消火剤の使用が求められている。しかし、機械や構造物の火災であれば、通常火災として水による消火は可能であるし、ハロン消火剤による消火も問題ない。
【0010】
即ち、半導体製造においては、火災の燃焼物を正しく識別し、それに適切な消火剤を用いることが必要となり、そのためのシランガスやホスフィンガスといった燃焼物を特定できる火災検出装置が求められている。
(【0011】以降は省略されています)
この特許をJ-PlatPat(特許庁公式サイト)で参照する
関連特許
ホーチキ株式会社
消火栓装置
2か月前
ホーチキ株式会社
消火栓装置
14日前
ホーチキ株式会社
消火栓装置
1か月前
ホーチキ株式会社
火災検出システム
1か月前
ホーチキ株式会社
消火栓装置の設置構造
3か月前
ホーチキ株式会社
防災システム及び操作装置
2か月前
国立大学法人 筑波大学
火災検出システム
1か月前
国立大学法人 筑波大学
火災検出システム
1か月前
国立大学法人 筑波大学
火災検出システム
1か月前
国立大学法人 筑波大学
火災検出システム
1か月前
ホーチキ株式会社
カードリーダー及びカードリーダーの組立方法
1か月前
ホーチキ株式会社
防災設備
25日前
ホーチキ株式会社
消火栓装置
1か月前
ホーチキ株式会社
炎検出装置
1か月前
ホーチキ株式会社
防災システム
27日前
ホーチキ株式会社
火災報知方法
1か月前
ホーチキ株式会社
消火器収納装置
1か月前
ホーチキ株式会社
施設管理システム
2か月前
ホーチキ株式会社
火災監視システム
19日前
ホーチキ株式会社
消臭装置及び消臭方法
1か月前
ホーチキ株式会社
消火栓装置及び消火器箱
2か月前
ホーチキ株式会社
火災検知器及び防災システム
2か月前
ホーチキ株式会社
火災検知器の信頼性判断方法
今日
ホーチキ株式会社
非常用設備及び消火器収納装置
3か月前
ホーチキ株式会社
火災検出装置、防災設備及び火災検出方法
1か月前
日本精機株式会社
警報システム
2か月前
個人
安全支援装置
13日前
個人
自動電動車椅子
2か月前
株式会社SUBARU
車両
1か月前
スズキ株式会社
運転支援装置
2か月前
エムケー精工株式会社
車両誘導装置
2か月前
ニッタン株式会社
発信機
3か月前
ニッタン株式会社
検知器
2か月前
ニッタン株式会社
発信機
3か月前
ニッタン株式会社
検知器
2か月前
ニッタン株式会社
検知器
2か月前
続きを見る
他の特許を見る