TOP
|
特許
|
意匠
|
商標
特許ウォッチ
Twitter
他の特許を見る
10個以上の画像は省略されています。
公開番号
2025116044
公報種別
公開特許公報(A)
公開日
2025-08-07
出願番号
2025086065,2024066549
出願日
2025-05-23,2017-02-23
発明の名称
非常用設備及び消火器収納装置
出願人
ホーチキ株式会社
代理人
個人
,
個人
主分類
A62C
35/20 20060101AFI20250731BHJP(人命救助;消防)
要約
【課題】消火器箱の扉を開いて簡単且つ容易に消火器の取出しを可能とする。
【解決手段】トンネルの道路面より上方にある監視員通路の路面下に消火器50が収納された消火器収納部を備えた消火器箱20が埋込まれて配置される。消火器箱20は、道路側に形成された前面扉開口と、前面扉開口を開閉する前扉30と、消火器収納部に収納されている消火器50を、開放状態の前扉30に接触させることなく消火器の上側を前方に傾斜させて取出し可能とするガイドローラ118を備える。
【選択図】図12
特許請求の範囲
【請求項1】
トンネルの道路面より上方にある監視員通路の路面下に埋込まれて配置され、消火器が収納された消火器収納部を備えた消火器収納装置であって、
前記消火器収納部は、
設置状態で前記トンネルの道路側に形成された前面扉開口と、
前記前面扉開口を開閉する前扉と、
前記消火器収納部に収納されている前記消火器を、開放状態の前記前扉に接触させることなく前記消火器の上側を前方に傾斜させて取出し可能とする消火器取出し構造と、
を備えたことを特徴とする消火器収納装置。
続きを表示(約 460 文字)
【請求項2】
請求項1記載の消火器収納装置であって、
前記消火器取り出し構造は、前記前扉の前記消火器収納部側の扉面に設けられたことを特徴とする消火器収納装置。
【請求項3】
請求項2記載の消火器収納装置であって、
前記前扉は、
下側に固定された固定扉と、
上側に上下方向にスライド開閉自在に配置された複数枚のスライド扉と、
を備え、
前記消火器取り出し構造は、前記開放状態で最も前記消火器収納部側に位置する前記固定扉又は何れの前記スライド扉の扉面に設けられたことを特徴とする消火器収納装置。
【請求項4】
請求項2又は3記載の消火器収納装置であって、
前記消火器取り出し構造は、ガイドローラ又は中空パイプを備えることを特徴とする消火器収納装置。
【請求項5】
請求項1乃至4の何れに記載の消火器収納装置がトンネルの道路面より上方にある監視員通路の路面下の埋込部に埋込まれて配置されたことを特徴とする非常用設備。
発明の詳細な説明
【技術分野】
【0001】
本発明は、監視員通路に埋込み設置されて消火器が取り出し自在に収納された消火器収納装置及び当該装置を備えた非常用設備に関する。
続きを表示(約 1,100 文字)
【背景技術】
【0002】
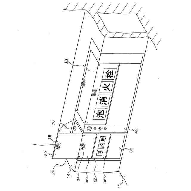
従来、高速道路や自動車専用道などのトンネルには、トンネル内で発生する火災事故から人身及び車両を守るため、非常用設備が設置されている。
【0003】
このような非常用設備としては、火災の監視と通報のため火災検知器、手動通報装置及び非常電話が設けられ、また火災の消火や延焼防止のために消火栓装置及び消火器箱が設けられ、更にトンネル躯体を火災から防護するために水噴霧ヘッドから消火用水を散水させる水噴霧設備などが設置され、非常用設備の設備機器を監視センターに設けられた防災受信盤からの伝送回線に接続して監視制御が行われている。
【0004】
例えば消火栓装置は、トンネル内に設けた監視員通路に面した側壁に沿って50メートル間隔で設置され、開放自在な消火栓扉を備えた筐体に、先端にノズルを装着したホースとバルブ類が収納されている。
【0005】
また、消火器箱は、消火栓装置と一体に設けられるか、あるいは消火器箱単独で設けられ、トンネル内に設けた監視員通路に面した側壁に沿って例えば50メートル間隔で設置されている。
【0006】
監視員通路は路面に対し1メートル程度高くした側壁通路として設けられており、トンネル内の車両通行を妨げることなく且つ安全にトンネル内に設置している消火器箱を含む各種の機器の点検を行うことを可能としている。
【0007】
火災を伴う車両事故が発生した場合には、事故車両の運転者等の利用者は、消火器箱の消火器扉を開いて消火器を取出して消火作業を行うことができる。
【先行技術文献】
【特許文献】
【0008】
特開2006-181057号公報
特開2008-055024号公報
特開2009-285126号公報
特開2017-202232号公報
特開2017-209145号公報
特開2016-059790号公報
【発明の概要】
【発明が解決しようとする課題】
【0009】
ところで、シールド工法等により作られた都市型トンネルにあっては、トンネル壁面に消火器箱を埋込み設置できない構造であり、監視員通路側面(壁面)に消火器箱を埋込み設置する必要がある。
【0010】
しかしながら、従来のように扉を前開きする消火器箱を監視員通路に設置した場合には、消火器扉が開くと建築限界を超えて道路側に飛び出す問題がある。
(【0011】以降は省略されています)
この特許をJ-PlatPat(特許庁公式サイト)で参照する
関連特許
ホーチキ株式会社
消火栓装置
1か月前
ホーチキ株式会社
消火栓装置
2日前
ホーチキ株式会社
消火栓装置
3か月前
ホーチキ株式会社
消火栓装置
24日前
ホーチキ株式会社
火災検出システム
1か月前
ホーチキ株式会社
避難誘導システム
今日
ホーチキ株式会社
消火栓装置の設置構造
4か月前
ホーチキ株式会社
防災システム及び操作装置
3か月前
国立大学法人 筑波大学
火災検出システム
1か月前
国立大学法人 筑波大学
火災検出システム
1か月前
国立大学法人 筑波大学
火災検出システム
1か月前
国立大学法人 筑波大学
火災検出システム
1か月前
ホーチキ株式会社
カードリーダー及びカードリーダーの組立方法
1か月前
ホーチキ株式会社
防災設備
1か月前
ホーチキ株式会社
消火栓装置
1か月前
ホーチキ株式会社
炎検出装置
2か月前
ホーチキ株式会社
防災システム
1か月前
ホーチキ株式会社
火災報知方法
1か月前
ホーチキ株式会社
消火器収納装置
1か月前
ホーチキ株式会社
火災監視システム
29日前
ホーチキ株式会社
施設管理システム
2か月前
ホーチキ株式会社
消臭装置及び消臭方法
1か月前
ホーチキ株式会社
消火栓装置及び消火器箱
2か月前
ホーチキ株式会社
火災検知器及び防災システム
2か月前
ホーチキ株式会社
火災検知器の信頼性判断方法
10日前
ホーチキ株式会社
非常用設備及び消火器収納装置
3か月前
ホーチキ株式会社
火災検出装置、防災設備及び火災検出方法
1か月前
ホーチキ株式会社
処置情報提供システム及びその処置情報提供方法
2日前
個人
階段上り下り滑り板
10か月前
個人
高層ビルからの救助装置
2か月前
藤井電工株式会社
連結フック
8か月前
個人
ビル内部による救出装置
1か月前
藤井電工株式会社
安全帯取付具
3か月前
個人
大地震の火災消火システム
3か月前
能美防災株式会社
消火装置
1か月前
株式会社高儀
胴当てベルト
3か月前
続きを見る
他の特許を見る