TOP
|
特許
|
意匠
|
商標
特許ウォッチ
Twitter
他の特許を見る
公開番号
2025160945
公報種別
公開特許公報(A)
公開日
2025-10-24
出願番号
2024063699
出願日
2024-04-11
発明の名称
消火装置
出願人
能美防災株式会社
代理人
個人
主分類
A62C
13/68 20060101AFI20251017BHJP(人命救助;消防)
要約
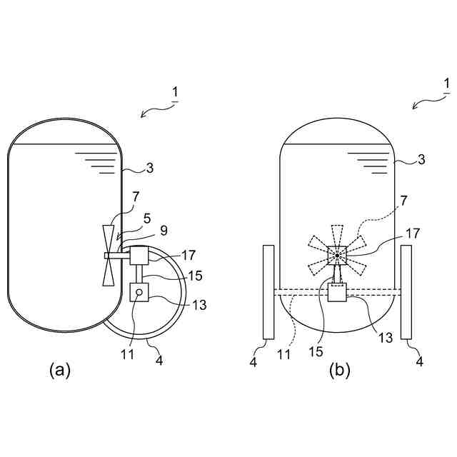
【課題】一度凍結した高粘度消火剤に規定の粘度を回復させる機能を備えた消火装置を提供する。
【解決手段】本発明に係る高粘度消火剤を貯蔵した貯蔵タンク3から前記高粘度消火剤を放出して消火を行う消火装置1であって、貯蔵タンク3に設けられて前記高粘度消火剤を撹拌する撹拌装置5を備えたものである。
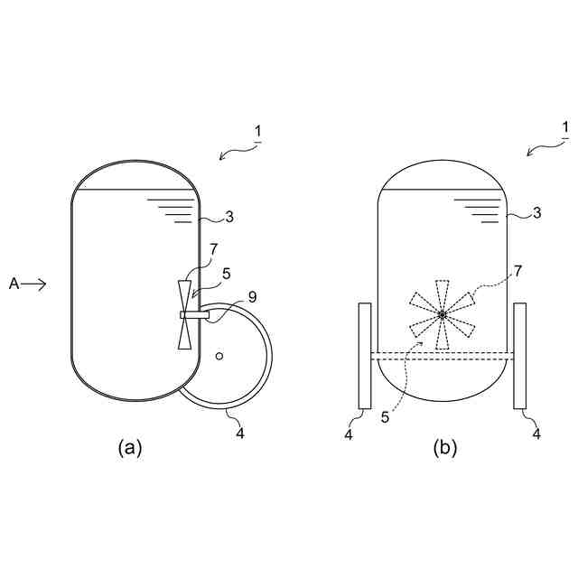
撹拌装置5は、貯蔵タンク3内に配置された撹拌羽根7と、一方側が撹拌羽根7に連結されて他方側が貯蔵タンク3の外部に配置され、撹拌羽根7に撹拌動作を伝達する回転シャフト9と、を備え、回転シャフト9の他方側に駆動力を与えることで、撹拌羽根7を撹拌動作である回転させて貯蔵タンク3内の高粘度消火剤を撹拌可能にした。
【選択図】 図1
特許請求の範囲
【請求項1】
高粘度消火剤を貯蔵した貯蔵タンクから前記高粘度消火剤を放出して消火を行う消火装置であって、前記貯蔵タンクに設けられて前記高粘度消火剤を撹拌する撹拌装置を備えたことを特徴とする消火装置。
続きを表示(約 520 文字)
【請求項2】
前記撹拌装置は、前記貯蔵タンク内に配置された撹拌部材と、
一方が該撹拌部材に連結されて他方が前記貯蔵タンクの外部に配置され、前記撹拌部材に撹拌動作を伝達する撹拌動作伝達部材と、を備え、
前記撹拌動作伝達部材の前記他方側に駆動力を与えることで、前記撹拌部材を撹拌動作させて前記貯蔵タンク内の前記高粘度消火剤を撹拌可能にしたことを特徴とする請求項1に記載の消火装置。
【請求項3】
前記貯蔵タンクを移動させる移動動作に連動して、前記撹拌動作伝達部材に前記駆動力を与える駆動力付与手段を備えたことを特徴とする請求項2に記載の消火装置。
【請求項4】
前記貯蔵タンクを移動させる移動用車輪を有し、
駆動力付与手段は、前記移動用車輪の回転に連動して前記撹拌動作伝達部材に駆動力を与えることを特徴とする請求項3に記載の消火装置。
【請求項5】
前記撹拌動作伝達部材は、他方側に電動工具の回転部と接続できる接続部を有し、該接続部が電動工具の回転部と接続されて前記回転部が回転することで、前記撹拌部材が回転するようにしたことを特徴とする請求項2に記載の消火装置。
発明の詳細な説明
【技術分野】
【0001】
本発明は、高粘度消火剤を貯蔵した貯蔵タンクから前記高粘度消火剤を放出して消火を行う消火装置に関する。
続きを表示(約 1,200 文字)
【背景技術】
【0002】
高粘度消火剤は粘度が高く、対象物表面に付着し、水の層を作れるため、延焼防止効果が高い。このような高粘度消火剤を用いた消火装置が例えば特許文献1に提案されている。
【0003】
特許文献1では、高粘度消火剤が静置状態で粘度が高いため、他の薬剤に比べ、放出後に容器内の残存量が多いという課題を解決するために、高粘度消火剤を圧送するポンプの振動を貯蔵容器に直接的又は間接的に伝え、貯蔵容器内の高粘度消火剤の粘度を低下させるというものである。
【先行技術文献】
【特許文献】
【0004】
特開2020-151286号公報
【発明の概要】
【発明が解決しようとする課題】
【0005】
特許文献1においては、静置状態では粘度が高い点に着目して、放出効率を向上させるために粘度を低下させるというものである。
一方、本願発明は、上記の着眼点とは全く違ったものであるので、以下、この点を説明する。
【0006】
高粘度消火剤は、水に無機物を混合したものであり、冬季に屋外に置かれていると凍結し、一度凍結すると解凍してもそのままでは規定の粘度を下回ってしまうという特性があるが、解凍した高粘度消火剤を撹拌すると規定の粘度を回復するという特性もある。
一度凍結、解凍して規定の粘度を下回った状態で放出すると、対象物表面に付着して延焼を防止するという本来の機能を発揮できないという問題がある。
【0007】
本発明は、かかる課題を解決するためになされたものであり、凍結して解凍した高粘度消火剤に規定の粘度を回復させる機能を備えた消火装置を提供することを目的としている。
【課題を解決するための手段】
【0008】
(1)本発明に係る消火装置は、高粘度消火剤を貯蔵した貯蔵タンクから前記高粘度消火剤を放出して消火を行うものであって、前記貯蔵タンクに設けられて前記高粘度消火剤を撹拌する撹拌装置を備えたことを特徴とするものである。
【0009】
(2)また、上記(1)に記載のものにおいて、前記撹拌装置は、前記貯蔵タンク内に配置された撹拌部材と、一方が該撹拌部材に連結されて他方が前記貯蔵タンクの外部に配置され、前記撹拌部材に撹拌動作を伝達する撹拌動作伝達部材と、を備え、
前記撹拌動作伝達部材の前記他方側に駆動力を与えることで、前記撹拌部材を撹拌動作させて前記貯蔵タンク内の前記高粘度消火剤を撹拌可能にしたことを特徴とするものである。
【0010】
(3)また、上記(2)に記載のものにおいて、前記貯蔵タンクを移動させる移動動作に連動して、前記撹拌動作伝達部材に前記駆動力を与える駆動力付与手段を備えたことを特徴とするものである。
(【0011】以降は省略されています)
この特許をJ-PlatPat(特許庁公式サイト)で参照する
関連特許
能美防災株式会社
システム
1か月前
能美防災株式会社
照射装置
1か月前
能美防災株式会社
表示装置
1か月前
能美防災株式会社
消火装置
1か月前
能美防災株式会社
煙感知器
今日
能美防災株式会社
火災受信機
1か月前
能美防災株式会社
火災受信機
1か月前
能美防災株式会社
火災受信機
1か月前
能美防災株式会社
火災受信機
1か月前
能美防災株式会社
携帯型電灯
2か月前
能美防災株式会社
感知システム
1か月前
能美防災株式会社
車両システム
1か月前
能美防災株式会社
車両システム
1か月前
能美防災株式会社
防犯システム
1か月前
能美防災株式会社
水噴霧ヘッド
2か月前
能美防災株式会社
感知システム
1か月前
能美防災株式会社
異常検出システム
8日前
能美防災株式会社
火災検知システム
今日
能美防災株式会社
異常検出システム
1か月前
能美防災株式会社
画像表示システム
1か月前
能美防災株式会社
着脱式避難誘導灯
1か月前
能美防災株式会社
深部火災検知装置
1か月前
能美防災株式会社
トンネル非常用設備
今日
能美防災株式会社
スプリンクラ消火設備
2か月前
能美防災株式会社
防塵カバー取外し装置
今日
能美防災株式会社
高温部可視化システム
今日
能美防災株式会社
エアーコンディショナー
1か月前
能美防災株式会社
防災機器及び消火栓装置
1か月前
能美防災株式会社
高粘度消火剤粘性回復装置
9日前
能美防災株式会社
信号検出装置および警報器
1か月前
能美防災株式会社
熱感知器及び熱感知システム
1か月前
能美防災株式会社
煙感知器および火災報知設備
1か月前
能美防災株式会社
中継器および通信テスト方法
1か月前
能美防災株式会社
スプリンクラヘッドの散水反射板
2か月前
能美防災株式会社
火災感知器及び火災報知システム
1か月前
能美防災株式会社
電子タグ及び位置情報通信システム
1か月前
続きを見る
他の特許を見る