TOP
|
特許
|
意匠
|
商標
特許ウォッチ
Twitter
他の特許を見る
公開番号
2025172281
公報種別
公開特許公報(A)
公開日
2025-11-26
出願番号
2024077649
出願日
2024-05-13
発明の名称
高粘度消火剤粘性回復装置
出願人
能美防災株式会社
代理人
個人
主分類
A62C
13/78 20060101AFI20251118BHJP(人命救助;消防)
要約
【課題】ポンプが付随していない可搬式容器に貯蔵された凍結後の高粘度消火剤に規定の粘度を回復させる高粘度消火剤粘性回復装置を提供する。
【解決手段】本発明に係る高粘度消火剤粘性回復装置1は、可搬式容器3に貯蔵された高粘度消火剤に振動を与えることで、前記高粘度消火剤の粘性を回復させるものであって、
通電により振動する振動子5を、可搬式容器3の外周面に当接可能、かつ着脱可能に配設したことを特徴とするものである。
【選択図】 図1
特許請求の範囲
【請求項1】
可搬式容器に貯蔵された高粘度消火剤に振動を与えることで、前記高粘度消火剤の粘性を回復させる高粘度消火剤粘性回復装置であって、
通電により振動する振動子を、前記可搬式容器の外周面に当接可能、かつ着脱可能に配設したことを特徴とする高粘度消火剤粘性回復装置。
続きを表示(約 460 文字)
【請求項2】
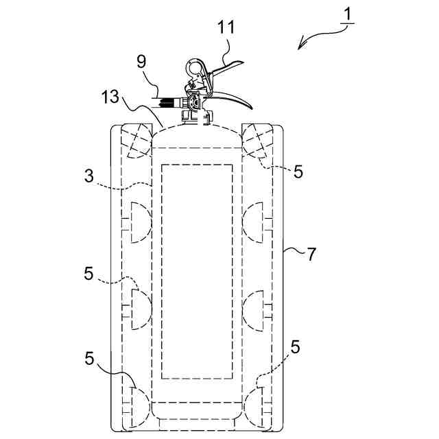
前記可搬式容器が挿入される筒状体を有し、該筒状体の内周面に前記振動子が設けられ、
該振動子は、前記可搬式容器が挿入された状態で、前記可搬式容器の外周面に当接するように設けられていることを特徴とする請求項1に記載の高粘度消火剤粘性回復装置。
【請求項3】
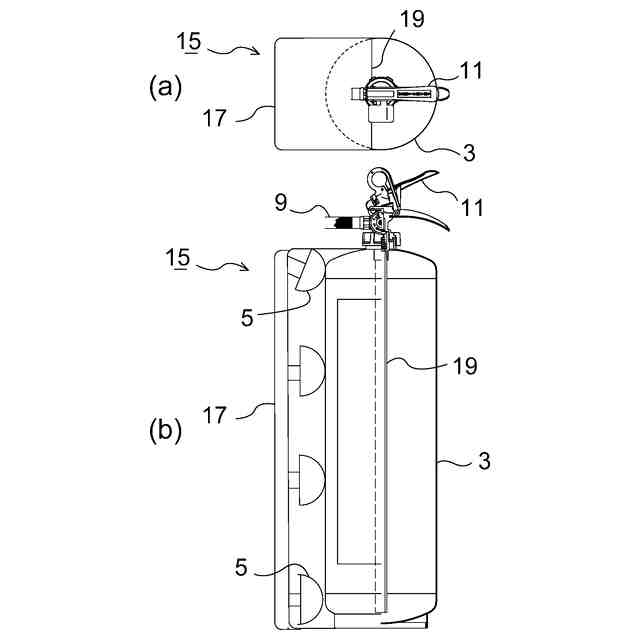
前記可搬式容器の周面の一部又は全部を覆うように前記可搬式容器に装着される装着部材を有し、該装着部材における前記可搬式容器との対向面に前記振動子が設けられ、
該振動子は、前記装着部材を前記可搬式容器に装着した状態で、前記可搬式容器の外周面に当接するように設けられていることを特徴とする請求項1に記載の高粘度消火剤粘性回復装置。
【請求項4】
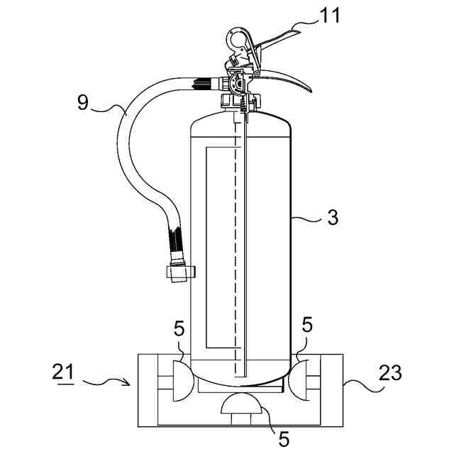
前記可搬式容器が載置される載置台を有し、該載置台に前記振動子が設けられ、
該振動子は、前記可搬式容器が載置された状態で、前記可搬式容器の底面及び/又は下部に当接するように設けられていることを特徴とする請求項1に記載の高粘度消火剤粘性回復装置。
発明の詳細な説明
【技術分野】
【0001】
可搬式容器に貯蔵された高粘度消火剤に振動を与えることで、高粘度消火剤の粘性を回復させる高粘度消火剤粘性回復装置に関する。
続きを表示(約 1,500 文字)
【背景技術】
【0002】
高粘度消火剤は粘度が高く、対象物表面に付着して水の層を作れるため、延焼防止効果が高い。このような高粘度消火剤を用いた消火装置が例えば特許文献1に提案されている。
【0003】
特許文献1では、高粘度消火剤が静置状態で粘度が高いため、他の薬剤に比べ、放出後に容器内の残存量が多いという課題を解決するために、高粘度消火剤を圧送するポンプの振動を貯蔵容器に直接的又は間接的に伝え、貯蔵容器内の高粘度消火剤の粘度を低下させるというものである。
【先行技術文献】
【特許文献】
【0004】
特開2020-151286号公報
【発明の概要】
【発明が解決しようとする課題】
【0005】
特許文献1は、高粘度消火剤の放出時にポンプの振動を貯蔵容器に伝達させるというものである。そして、ポンプは、例えばエア駆動型ポンプが例示され、振動の大きなものが好適とされ、消火装置ごとに付随する。
また、特許文献1は、据え置き型の消火装置を対象とし、静置状態では粘度が高い点に着目して、放出効率を向上させるために粘度を低下させるというものである。
一方、本願発明は、可搬式の小型消火器を対象とし、また、着目点も従来例とは全く違っているので、以下、この点を説明する。
【0006】
高粘度消火剤は、水に無機物を混合したものであり、冬季に屋外に置かれていると凍結し、一度凍結すると解凍してもそのままでは規定の粘度を下回ってしまうという特性があるが、解凍した高粘度消火剤に振動を与えると規定の粘度を回復するという特性もある。
一度凍結、解凍して規定の粘度を下回った状態で放出すると、対象物表面に付着して延焼を防止するという本来の機能を発揮できないという問題がある。
また、本願発明が対象とする可搬式の小型消火器では、特許文献1のような振動するポンプが付随していない。
【0007】
本発明は、かかる課題を解決するためになされたものであり、ポンプが付随していない可搬式容器に貯蔵された凍結後の高粘度消火剤に規定の粘度を回復させる高粘度消火剤粘性回復装置を提供することを目的としている。
【課題を解決するための手段】
【0008】
(1)本発明に係る高粘度消火剤粘性回復装置は、可搬式容器に貯蔵された高粘度消火剤に振動を与えることで、前記高粘度消火剤の粘性を回復させるものであって、
通電により振動する振動子を、前記可搬式容器の外周面に当接可能、かつ着脱可能に配設したことを特徴とするものである。
【0009】
(2)また、上記(1)に記載のものにおいて、前記可搬式容器が挿入される筒状体を有し、該筒状体の内周面に前記振動子が設けられ、
該振動子は、前記可搬式容器が挿入された状態で、前記可搬式容器の外周面に当接するように設けられていることを特徴とするものである。
【0010】
(3)また、上記(1)に記載のものにおいて、前記可搬式容器の周面の一部又は全部を覆うように前記可搬式容器に装着される装着部材を有し、該装着部材における前記可搬式容器との対向面に前記振動子が設けられ、
該振動子は、前記装着部材を前記可搬式容器に装着した状態で、前記可搬式容器の外周面に当接するように設けられていることを特徴とするものである。
(【0011】以降は省略されています)
この特許をJ-PlatPat(特許庁公式サイト)で参照する
関連特許
能美防災株式会社
表示装置
1か月前
能美防災株式会社
消火設備
1か月前
能美防災株式会社
システム
1か月前
能美防災株式会社
照射装置
1か月前
能美防災株式会社
消火装置
1か月前
能美防災株式会社
火災受信機
1か月前
能美防災株式会社
火災受信機
1か月前
能美防災株式会社
火災受信機
1か月前
能美防災株式会社
携帯型電灯
1か月前
能美防災株式会社
火災受信機
1か月前
能美防災株式会社
防犯システム
23日前
能美防災株式会社
感知システム
1か月前
能美防災株式会社
水噴霧ヘッド
1か月前
能美防災株式会社
感知システム
1か月前
能美防災株式会社
車両システム
1か月前
能美防災株式会社
車両システム
1か月前
能美防災株式会社
防災システム
1か月前
能美防災株式会社
画像表示システム
1か月前
能美防災株式会社
着脱式避難誘導灯
1か月前
能美防災株式会社
異常検出システム
1か月前
能美防災株式会社
異常検出システム
今日
能美防災株式会社
深部火災検知装置
1か月前
能美防災株式会社
スプリンクラ消火設備
1か月前
能美防災株式会社
防災機器及び消火栓装置
1か月前
能美防災株式会社
エアーコンディショナー
1か月前
能美防災株式会社
高粘度消火剤粘性回復装置
1日前
能美防災株式会社
信号検出装置および警報器
1か月前
能美防災株式会社
塵芥車の火災検知システム
1か月前
能美防災株式会社
熱感知器及び熱感知システム
1か月前
能美防災株式会社
中継器および通信テスト方法
1か月前
能美防災株式会社
防災設備の製造管理システム
1か月前
能美防災株式会社
煙感知器および火災報知設備
1か月前
能美防災株式会社
避難シミュレーションシステム
1か月前
能美防災株式会社
スプリンクラヘッドの散水反射板
1か月前
能美防災株式会社
火災感知器及び火災報知システム
1か月前
能美防災株式会社
電子タグ及び位置情報通信システム
1か月前
続きを見る
他の特許を見る