TOP
|
特許
|
意匠
|
商標
特許ウォッチ
Twitter
他の特許を見る
公開番号
2025152295
公報種別
公開特許公報(A)
公開日
2025-10-09
出願番号
2024054122
出願日
2024-03-28
発明の名称
深部火災検知装置
出願人
能美防災株式会社
代理人
個人
,
個人
,
個人
,
個人
,
個人
主分類
G08B
17/10 20060101AFI20251002BHJP(信号)
要約
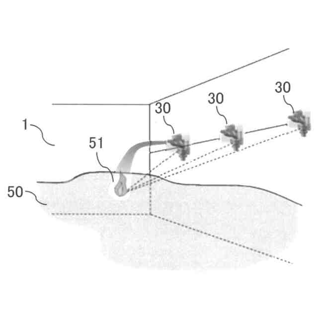
【課題】バイオマス燃料を保管するバイオマス倉庫において、堆積されたバイオマス燃料の内部において発生した深部火災の位置を特定することができる深部火災検知装置を得る。
【解決手段】一酸化炭素濃度を検知するCOセンサと、バイオマス燃料と非接触の状態で火災監視領域における温度分布を検知する温度センサと、バイオマス燃料における深部火災位置を特定する制御部とを備える。制御部は、COセンサにより検知された一酸化炭素濃度が許容濃度閾値を超えた場合には、バイオマス燃料による深部火災が発生したと推定し、倉庫内で温度センサを移動させ、高温領域を探し出す。深部火災が発生したと推定した状態において温度センサにより検知された温度分布の中で深部火災判定閾値を超える温度が測定された画素領域が存在する場合には、画素領域を深部火災位置として特定する。
【選択図】図5
特許請求の範囲
【請求項1】
深部火災が発生しうる可燃物を保管する建屋内に設置され、前記建屋内における一酸化炭素濃度を検知するCOセンサと、
前記可燃物が堆積された領域を火災監視領域として、前記火災監視領域について温度を測定することで、前記可燃物と非接触の状態で前記火災監視領域における温度を検知する温度センサと、
前記COセンサによる検知結果および前記温度センサによる検知結果に基づいて、堆積された前記可燃物における深部火災を特定する制御部と
を備え、
前記制御部は、
前記COセンサにより検知された前記一酸化炭素濃度があらかじめ設定された許容濃度閾値を超えた場合には、前記可燃物による深部火災が発生したと推定し、
前記深部火災が発生したと推定した状態において前記温度センサにより、あらかじめ設定された深部火災判定閾値を超える温度が測定された場合には、前記堆積された可燃物で前記深部火災が発生したものとして判断する
深部火災検知装置。
続きを表示(約 1,500 文字)
【請求項2】
前記温度センサは、前記建屋内に堆積された前記可燃物の上方に位置する第1の温度センサを少なくとも有しており、
前記第1の温度センサは、前記建屋内に堆積された前記可燃物の上方において前記建屋内を移動可能な構成を有し、前記建屋内を移動することで前記火災監視領域における温度分布が検知可能であり、
前記制御部は、前記第1の温度センサにより検知された温度分布に基づいて深部火災位置を特定する
請求項1に記載の深部火災検知装置。
【請求項3】
前記温度センサは、前記建屋内に堆積された前記可燃物の搬出入口側に位置する第2の温度センサをさらに有し、
前記第2の温度センサは、堆積された前記可燃物の前記搬出入口側において、前記可燃物の搬出入に伴って変化する堆積傾斜面に対向するように角度調整可能な構成を有し、前記堆積傾斜面の領域における温度分布が検知可能であり、
前記制御部は、前記第1の温度センサおよび前記第2の温度センサにより検知されたそれぞれの温度分布に基づいて前記深部火災位置を特定する
請求項2に記載の深部火災検知装置。
【請求項4】
バイオマス燃料を保管する建屋内に設置され、前記建屋内における一酸化炭素濃度を検知するCOセンサと、
前記バイオマス燃料が堆積された領域を火災監視領域として、前記火災監視領域を複数の画素に分割し、分割した前記複数の画素の各々について温度を測定することで、前記バイオマス燃料と非接触の状態で前記火災監視領域における温度分布を検知する温度センサと、
前記COセンサによる検知結果および前記温度センサによる検知結果に基づいて、堆積された前記バイオマス燃料における深部火災位置を特定する制御部と
を備え、
前記制御部は、
前記COセンサにより検知された前記一酸化炭素濃度があらかじめ設定された許容濃度閾値を超えた場合には、前記バイオマス燃料による深部火災が発生したと推定し、
前記深部火災が発生したと推定した状態において前記温度センサにより検知された前記温度分布の中で、あらかじめ設定された深部火災判定閾値を超える温度が測定された画素領域が存在する場合には、前記画素領域を前記深部火災位置として特定する
深部火災検知装置。
【請求項5】
前記温度センサは、前記建屋内に堆積された前記バイオマス燃料の上方に位置する第1の温度センサと、前記建屋内に堆積された前記バイオマス燃料の搬出入口側に位置する第2の温度センサとを有し、
前記第1の温度センサは、前記建屋内に堆積された前記バイオマス燃料の上方において前記建屋内を移動可能な構成を有し、前記建屋内を移動することで前記火災監視領域における温度分布が検知可能であり、
前記第2の温度センサは、堆積された前記バイオマス燃料の前記搬出入口側において、前記バイオマス燃料の搬出入に伴って変化する堆積傾斜面に対向するように角度調整可能な構成を有し、前記堆積傾斜面の領域における温度分布が検知可能であり、
前記制御部は、前記第1の温度センサおよび前記第2の温度センサにより検知されたそれぞれの温度分布に基づいて前記深部火災位置を特定する
請求項4に記載の深部火災検知装置。
【請求項6】
前記制御部は、前記COセンサにより検知された前記一酸化炭素濃度が前記許容濃度閾値を超えた場合には、検知された前記一酸化炭素濃度の値が高いほど、深部火災判定閾値としてより低い値を採用して高感度で前記深部火災位置の特定を行う
請求項4または5に記載の深部火災検知装置。
発明の詳細な説明
【技術分野】
【0001】
本開示は、倉庫内に堆積され、貯蔵されたバイオマス燃料の内部において発生する深部火災の検知に適した深部火災検知装置に関するものである。
続きを表示(約 1,300 文字)
【背景技術】
【0002】
バイオマスとは、動植物由来の資源のことであり、例えば、家畜の排せつ物、トウモロコシ、間伐材、木質ペレットなどが挙げられる。このようなバイオマス資源は、堆積して保管される際に、ホイルローダ等によってバイオマス資源の倉庫内への出し入れが行われるため、必ずしも上面が平坦ではなく、上面が凹凸を有する特性がある。
【0003】
このような特性を有するバイオマスの貯蔵施設において、炎の発生位置を算出することができる消火システムがある(例えば、特許文献1参照)。特許文献1に係る消火システムにおいては、炎検知部と赤外線検知部を併用し、凹凸面上の炎の位置を特定している。
【0004】
特許文献1に係る消火システムは、赤外線検知部が高温領域を検出したにもかかわらず、高温領域において炎検知部が炎の検知をしないときには、凹凸面が障害物となって炎検知部により炎が検知できないと判断し、高温領域の下方領域に向けてブロー放水を行うことで、障害物を排除している。
【0005】
このような構成を備えることで、木質ペレットの貯蔵施設のように、堆積された木質ペレットの表面に凹凸があり、炎の位置が凹凸に堆積された木質ペレットによって隠れていても、その凹凸を放水によって排除し、効率的に消火を行うことができる消火システムを実現している。
【先行技術文献】
【特許文献】
【0006】
特開2021-159419号公報
【発明の概要】
【発明が解決しようとする課題】
【0007】
特許文献1では、凹凸面が障害物となって炎が隠れている場合にも、赤外線検知部を用いることで凹凸面上の炎を高温領域として検知可能としている。ただし、特許文献1では、あくまでも凹凸面上の炎を検知対象としており、炎検知部により炎の位置を特定している。
【0008】
しかしながら、バイオマス燃料を保管する建屋では、バイオマス燃料の表面における炎の検知だけでなく、堆積されたバイオマス燃料の内部における深部火災の検知も重要となる。深部火災においては、燻る状態が続き、炎を視認できるような火災の発生には時間を要するため、炎検知部による検知も遅れることになる。すなわち、特許文献1のような炎検知部は、深部火災の検知には適していない。
【0009】
さらに、バイオマス燃料が保管される施設での火災では、粉塵が舞う環境、あるいは空調により煙の流動がある環境であることが予想され、煙感知器による火源の特定も難しい。従って、バイオマス燃料が保管される施設での深部火災の検知に適した装置が望まれている。
【0010】
本開示は、上記の課題を解決するためになされたものであり、バイオマス燃料を保管する建屋において、堆積されたバイオマス燃料の内部において発生した深部火災の位置を特定することができる深部火災検知装置を得ることを目的とする。
【課題を解決するための手段】
(【0011】以降は省略されています)
この特許をJ-PlatPat(特許庁公式サイト)で参照する
関連特許
能美防災株式会社
消火装置
12日前
能美防災株式会社
表示装置
13日前
能美防災株式会社
照射装置
28日前
能美防災株式会社
システム
26日前
能美防災株式会社
火災受信機
27日前
能美防災株式会社
携帯型電灯
1か月前
能美防災株式会社
火災受信機
29日前
能美防災株式会社
火災受信機
19日前
能美防災株式会社
火災受信機
27日前
能美防災株式会社
防犯システム
1日前
能美防災株式会社
水噴霧ヘッド
1か月前
能美防災株式会社
感知システム
28日前
能美防災株式会社
感知システム
28日前
能美防災株式会社
車両システム
28日前
能美防災株式会社
車両システム
28日前
能美防災株式会社
防災システム
1か月前
能美防災株式会社
着脱式避難誘導灯
27日前
能美防災株式会社
深部火災検知装置
27日前
能美防災株式会社
画像表示システム
29日前
能美防災株式会社
異常検出システム
28日前
能美防災株式会社
スプリンクラ消火設備
1か月前
能美防災株式会社
防災機器及び消火栓装置
27日前
能美防災株式会社
エアーコンディショナー
28日前
能美防災株式会社
塵芥車の火災検知システム
1か月前
能美防災株式会社
信号検出装置および警報器
28日前
能美防災株式会社
煙感知器および火災報知設備
14日前
能美防災株式会社
熱感知器及び熱感知システム
27日前
能美防災株式会社
中継器および通信テスト方法
27日前
能美防災株式会社
火災感知器及び火災報知システム
26日前
能美防災株式会社
スプリンクラヘッドの散水反射板
1か月前
能美防災株式会社
電子タグ及び位置情報通信システム
27日前
能美防災株式会社
スプリンクラヘッド用シーリング部材
1か月前
能美防災株式会社
煙感知器の作動試験方法、作動試験器
27日前
能美防災株式会社
異常検知システム、管理装置及び中継装置
27日前
能美防災株式会社
熱感知器用の加熱試験器及び加熱試験方法
7日前
能美防災株式会社
スプリンクラヘッド用ガイドリング及びその製造方法
29日前
続きを見る
他の特許を見る