TOP
|
特許
|
意匠
|
商標
特許ウォッチ
Twitter
他の特許を見る
公開番号
2025152296
公報種別
公開特許公報(A)
公開日
2025-10-09
出願番号
2024054123
出願日
2024-03-28
発明の名称
煙感知器の作動試験方法、作動試験器
出願人
能美防災株式会社
代理人
個人
,
個人
,
個人
,
個人
,
個人
主分類
G08B
17/10 20060101AFI20251002BHJP(信号)
要約
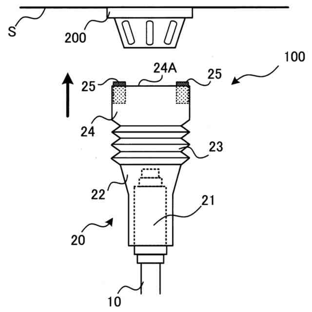
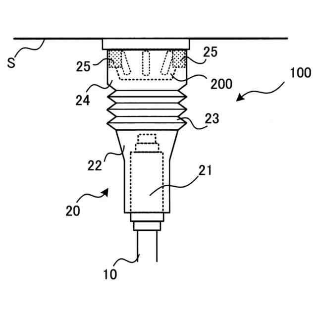
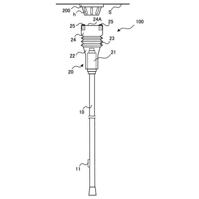
【課題】忌避剤を用いて煙感知器の内部へ虫が入り込むことの防止を図る際に、忌避剤の交換作業をなくすことができる作動試験方法を提供することを目的とする。
【解決手段】煙感知器(200)の作動試験方法は、煙感知器(200)の作動試験を行う作動試験器(100)に、虫よけ成分を配合した忌避剤を保持する忌避剤保持部(25)を設け、作動試験を行う際、作動試験器(100)を煙感知器(200)に接近させるとともに、忌避剤保持部(25)を当該煙感知器(200)の表面またはその周辺の設置面(S)に接触させて忌避剤を塗布する。これにより一工程で作動試験と防虫対策を行える。
【選択図】図1
特許請求の範囲
【請求項1】
煙感知器の作動試験を行う作動試験器に、虫よけ成分を配合した忌避剤を保持する忌避剤保持部を設け、
前記作動試験を行う際、前記作動試験器を前記煙感知器に接近させるとともに、前記忌避剤保持部を当該煙感知器の表面またはその周辺の設置面に接触させて前記忌避剤を塗布し、または付着させる、
煙感知器の作動試験方法。
続きを表示(約 640 文字)
【請求項2】
前記忌避剤保持部は、前記忌避剤を含浸させることにより当該忌避剤を保持するスポンジである、
請求項1に記載の煙感知器の作動試験方法。
【請求項3】
前記忌避剤保持部は、前記作動試験器の端部に位置する発煙部に設けられており、当該発煙部の先端側から一部が突出するように設けられている、
請求項1または2に記載の煙感知器の作動試験方法。
【請求項4】
一工程で、前記作動試験と、前記忌避剤の塗布または付着の処置とを行う、
請求項1または2に記載の煙感知器の作動試験方法。
【請求項5】
支持棒と、
前記支持棒の端部に設けられており、煙感知器の作動試験の際に、前記煙感知器に接近する発煙部と、
前記発煙部に設けられており、虫よけ成分を配合した忌避剤を保持する忌避剤保持部と、
を有し、
前記忌避剤保持部は、
前記作動試験のときに前記発煙部が前記煙感知器に接近する際に、前記煙感知器の表面またはその周辺の設置面に接触して前記忌避剤を塗布し、または付着させる、
作動試験器。
【請求項6】
前記忌避剤保持部は、感知器カバーの内側と外側に設けられ、前記作動試験のときに前記発煙部が前記煙感知器に接近する際に、前記煙感知器の表面および前記煙感知器の周辺の天井に接触して前記忌避剤を塗布し、または付着させる請求項5に記載の作動試験器。
発明の詳細な説明
【技術分野】
【0001】
本開示は、煙感知器の作動試験の際、虫よけ成分を配合した忌避剤を煙感知器に塗布する煙感知器の作動試験方法、および作動試験器に関するものである。
続きを表示(約 980 文字)
【背景技術】
【0002】
煙感知器は、内部で光を照射しており、煙が煙感知器の周囲から内部に流入すると、照射している光が乱反射する。煙感知器は、このような光の乱反射を感知した場合、周囲で煙が発生したとして発報などを行う。
【0003】
このような煙感知器は、機器の内部に小さな虫が入り込むと、光の乱反射が生じてしまい、誤報を起こすことがある。
【0004】
従って、虫が機器の内部に入り込むことを防止するため、煙が流入する通気孔に網を設けるなどの措置が取られている。
【0005】
ここで、煙感知器の内部に虫が入り込むことを防止する技術として、次のものが開示されている(例えば、特許文献1参照)。特許文献1には、忌避剤を含浸させた厚紙、スポンジなどを感知器に貼り付けるか、感知器の近傍に吊り下げることにより、虫を寄せ付けないようにする方法が開示されている。
【先行技術文献】
【特許文献】
【0006】
実開昭51-53893号公報
【発明の概要】
【発明が解決しようとする課題】
【0007】
忌避剤の効果は、時間の経過とともに薄れてくる。このため、特許文献1に係る感知器においては、忌避剤を含浸させた厚紙、スポンジなどを定期的に交換する必要がある。
【0008】
一方、感知器は、手の届かない天井などの高所に設置されているのが通常であるため、交換作業の手間や作業時間が発生する。
【0009】
本開示は、上記の課題を解決するためになされたものであり、忌避剤を用いて煙感知器の内部へ虫が入り込むことの防止を図る際に、忌避剤の交換作業をなくすことができる煙感知器の作動試験方法、作動試験器を得ることを目的とする。
【課題を解決するための手段】
【0010】
本開示に係る煙感知器の作動試験方法は、煙感知器の作動試験を行う作動試験器に、虫よけ成分を配合した忌避剤を保持する忌避剤保持部を設け、作動試験を行う際、作動試験器を煙感知器に接近させるとともに、忌避剤保持部を当該煙感知器の表面またはその周辺の設置面に接触させて忌避剤を塗布する。
(【0011】以降は省略されています)
この特許をJ-PlatPat(特許庁公式サイト)で参照する
関連特許
能美防災株式会社
表示装置
1か月前
能美防災株式会社
システム
1か月前
能美防災株式会社
照射装置
1か月前
能美防災株式会社
消火設備
2か月前
能美防災株式会社
消火装置
1か月前
能美防災株式会社
火災受信機
1か月前
能美防災株式会社
火災受信機
1か月前
能美防災株式会社
火災受信機
1か月前
能美防災株式会社
携帯型電灯
2か月前
能美防災株式会社
火災受信機
1か月前
能美防災株式会社
車両システム
1か月前
能美防災株式会社
車両システム
1か月前
能美防災株式会社
水噴霧ヘッド
2か月前
能美防災株式会社
感知システム
1か月前
能美防災株式会社
防災システム
2か月前
能美防災株式会社
感知システム
1か月前
能美防災株式会社
防犯システム
1か月前
能美防災株式会社
感知器ベース
2か月前
能美防災株式会社
防災システム
2か月前
能美防災株式会社
異常検出システム
1か月前
能美防災株式会社
画像表示システム
1か月前
能美防災株式会社
異常検出システム
7日前
能美防災株式会社
深部火災検知装置
1か月前
能美防災株式会社
着脱式避難誘導灯
1か月前
能美防災株式会社
スプリンクラ消火設備
2か月前
能美防災株式会社
中継器の配線接続構造
2か月前
能美防災株式会社
防災機器及び消火栓装置
1か月前
能美防災株式会社
エアーコンディショナー
1か月前
能美防災株式会社
塵芥車の火災検知システム
2か月前
能美防災株式会社
高粘度消火剤粘性回復装置
8日前
能美防災株式会社
信号検出装置および警報器
1か月前
能美防災株式会社
中継器および通信テスト方法
1か月前
能美防災株式会社
熱感知器及び熱感知システム
1か月前
能美防災株式会社
煙感知器および火災報知設備
1か月前
能美防災株式会社
防災設備の製造管理システム
2か月前
能美防災株式会社
避難シミュレーションシステム
2か月前
続きを見る
他の特許を見る