TOP
|
特許
|
意匠
|
商標
特許ウォッチ
Twitter
他の特許を見る
10個以上の画像は省略されています。
公開番号
2025148544
公報種別
公開特許公報(A)
公開日
2025-10-07
出願番号
2025120203,2020210893
出願日
2025-07-17,2020-12-20
発明の名称
火災検出装置、防災設備及び火災検出方法
出願人
ホーチキ株式会社
代理人
個人
,
個人
主分類
G08B
17/107 20060101AFI20250930BHJP(信号)
要約
【課題】識別した煙の種類に応じて迅速且つ適切な火災検出を可能とする火災検出装置、防災設備及び火災検出方法を提供する。
【解決手段】防災設備において、感知器12の信号検出部16は、監視領域の煙、湯気等の検出対象による散乱など光作用に伴う信号として、複数の光学設定とによって複数の信号を検出する。識別部18は、複数の信号の比率などに基づいて、白煙、黒煙、湯気などの検出対象の種類または発生要因を識別する。火災検出部20は、複数の信号の少なくとも1つに基づいて所定の火災検出条件が充足された場合に火災を検出する。さらに火災検出条件は、識別部18による白煙、黒煙、湯気など識別結果に応じて変更される。
【選択図】図1
特許請求の範囲
【請求項1】
監視領域の検出対象による光作用に伴う信号を、複数の光学設定により検出するものであって、前記複数の光学設定によって得られる複数の信号を検出する信号検出手段と、
前記信号検出手段で検出された前記複数の信号に基づいて、前記検出対象の種類として火災検出対象と非火災検出対象とを識別し、前記火災検出対象の種類として白煙と黒煙とを識別する識別手段と、
前記信号検出手段で検出された前記複数の信号の少なくとも1つに基づいて所定の火災検出条件が充足された場合に火災を検出する火災検出手段と、
を備え、
前記火災検出条件は、
前記識別手段で前記火災検出対象として前記白煙が識別された場合は、前記火災検出手段で初期設定された火災検出条件よりも火災と検出されやすくなるように変更され、
前記識別手段で前記火災検出対象として前記黒煙が識別された場合は、前記火災検出手段で前記白煙の識別に伴う変更後の前記火災検出条件よりも火災と検出されやすくなるように変更され、
前記識別手段で前記非火災検出対象が識別された場合は、前記火災検出手段で初期設定された火災検出条件よりも火災と検出されにくくなるように変更されることを特徴とする火災検出装置。
続きを表示(約 1,900 文字)
【請求項2】
請求項1記載の火災検出装置であって、
前記複数の信号の少なくとも1つの増加率を検出する増加率検出手段を備え、
前記火災検出条件は、前記識別手段による識別結果及び前記増加率検出手段による前記増加率に基づいて変更されることを特徴とする火災検出装置。
【請求項3】
監視領域の検出対象による光作用に伴う信号を、複数の光学設定により検出するものであって、前記複数の光学設定によって得られる複数の信号を検出する信号検出手段と、
前記信号検出手段で検出された前記複数の信号に基づいて、前記検出対象の種類として火災検出対象と非火災検出対象とを識別し、前記火災検出対象の種類として白煙と黒煙とを識別する識別手段と、
前記信号検出手段で検出された前記複数の信号の少なくとも1つに基づいて所定の火災検出条件が充足された場合に火災を検出する火災検出手段と、
を備え、
前記火災検出条件は、
前記識別手段で前記火災検出対象として前記白煙が識別された場合は、前記火災検出手段で初期設定された火災検出条件よりも火災と検出されやすくなるように変更され、
前記識別手段で前記火災検出対象として前記黒煙が識別された場合は、前記火災検出手段で前記白煙の識別に伴う変更後の前記火災検出条件よりも火災と検出されやすくなるように変更され、
前記識別手段で前記非火災検出対象が識別された場合は、前記火災検出手段で初期設定された火災検出条件よりも火災と検出されにくくなるように変更されることを特徴とする防災設備。
【請求項4】
請求項3記載の防災設備であって、
前記複数の信号の少なくとも1つの増加率を検出する増加率検出手段を備え、
前記火災検出条件は、前記識別手段による識別結果及び前記増加率検出手段による前記増加率に基づいて変更されることを特徴とする防災設備。
【請求項5】
請求項4記載の防災設備であって、
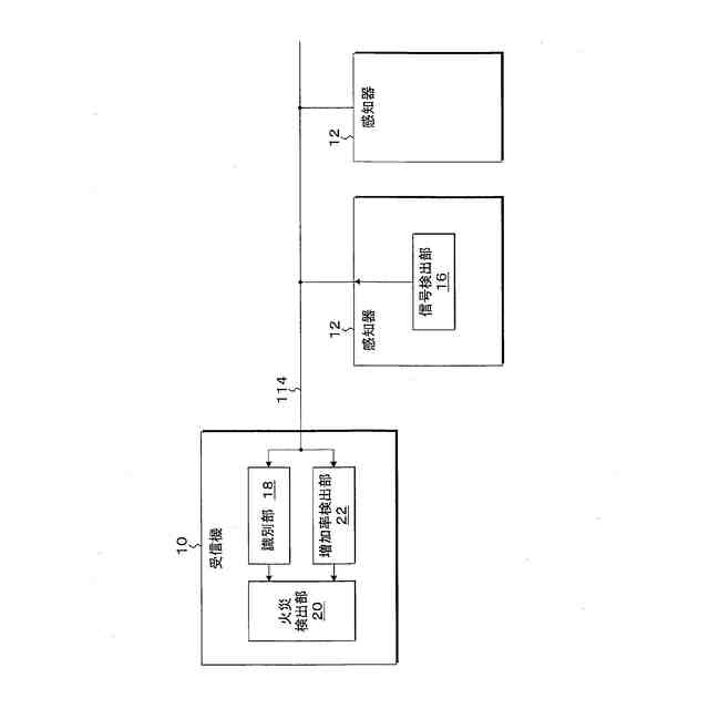
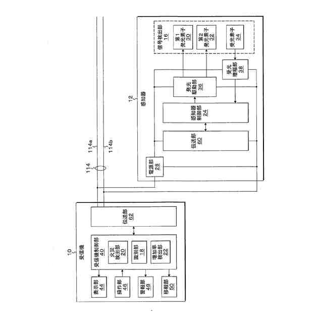
受信機と、火災を検出して前記受信機に火災信号を送信する感知器とを備え、
前記感知器は、前記信号検出手段、前記識別手段及び前記火災検出手段、又は、前記信号検出手段、前記識別手段、前記火災検出手段及び前記増加率検出手段を備えたことを特徴とする防災設備。
【請求項6】
請求項4記載の防災設備であって、
受信機と、火災を検出して前記受信機に火災信号を送信する感知器とを備え、
前記感知器は、前記信号検出手段を備え、
前記受信機は、前記識別手段及び前記火災検出手段、又は、前記識別手段、前記火災検出手段及び前記増加率検出手段を備えたことを特徴とする防災設備。
【請求項7】
監視領域の火災を検出する火災検出方法であって、
信号検出手段により、前記監視領域の検出対象による光作用に伴う信号を、少なくとも第1の光学設定と第2の光学設定とにより検出するものであって、前記第1の光学設定によって得られる第1信号と、前記第2の光学設定によって得られる第2信号とを検出し、
識別手段により、前記信号検出手段で検出された前記複数の信号に基づいて前記検出対象の種類として火災検出対象と非火災検出対象とを識別し、前記火災検出対象の種類として白煙と黒煙とを識別し、
火災検出手段により、前記信号検出手段で検出された前記複数の信号の少なくとも1つに基づいて所定の火災検出条件が充足された場合に火災を検出し、
前記火災検出条件を、
前記識別手段で前記火災検出対象として前記白煙が識別された場合は、前記火災検出手段で初期設定された火災検出条件よりも火災と検出されやすくなるように変更し、
前記識別手段で前記火災検出対象として前記黒煙が識別された場合は、前記火災検出手段で前記白煙の識別に伴う変更後の前記火災検出条件よりも火災と検出されやすくなるように変更し、
前記識別手段で前記非火災検出対象が識別された場合は、前記火災検出手段で初期設定された火災検出条件よりも火災と検出されにくくなるように変更することを特徴とする火災検出方法。
【請求項8】
請求項7記載の火災検出方法であって、
増加率検出手段により、前記第1信号と前記第2信号の少なくとも一方の増加率を検出し、
前記火災検出条件を、前記識別手段による識別結果及び前記増加率検出手段による前記増加率に基づいて変更することを特徴とする火災検出方法。
発明の詳細な説明
【技術分野】
【0001】
本発明は、煙に伴う光作用から火災を検出する煙感知器等の火災検出装置、防災設備及び火災検出方法に関する。
続きを表示(約 2,000 文字)
【背景技術】
【0002】
従来、異なる散乱角と異なる波長による光の散乱光を受光して煙の種類を識別する煙感知器等の火災検出装置が知られている。
【0003】
例えば、2つの発光素子につき、受光素子に対する散乱角を異ならせることで、煙の種類による散乱光の相違を作り出し、同時に、2つの発光素子から発する光の波長を異ならせることで、波長に起因した散乱特性の相違を作り出し、この散乱角の相違と波長の相違の相乗効果によって煙の種類による散乱光の光強度に顕著な差をもたせることで、煙の識別確度を高めて調理の湯気などによる非火災報を防止し、また、火災による煙についても、黒煙火災と白煙火災といった燃焼物の種類を確実に識別することができる。
【先行技術文献】
【特許文献】
【0004】
特開2004-325211号公報
特開2020-035029号公報
特開2020-135263号公報
米国特許出願公開第2001/0020899号明細書
特開平05-081578号公報
特開平11-160238号公報
特開2013-109751号公報
特開2016-114959号公報
特開2019-220113号公報
【発明の概要】
【発明が解決しようとする課題】
【0005】
しかしながら、このような従来の煙の種類を識別する火災検出装置にあっては、例えば、黒煙火災と白煙火災を識別することが出来るものの、煙の種類に応じた適切な火災検出の点で改善の余地があった。即ち例えば、白煙火災に比べて急速な拡大が想定される黒煙火災については、より迅速に火災として検出して速やかに火災信号を出力するといった点において、十分な性能を有するとは言えないものであった。
【0006】
本発明は、識別した煙の種類に応じて迅速且つ適切な火災検出を可能とする火災検出装置、防災設備及び火災検出方法を提供することを目的とする。
【課題を解決するための手段】
【0007】
(火災検出装置)
本発明は、火災検出装置であって、
監視領域の検出対象による光作用に伴う信号を、複数の光学設定により検出するものであって、複数の光学設定によって得られる複数の信号を検出する信号検出手段と、
信号検出手段で検出された複数の信号に基づいて検出対象の種類又は検出対象の発生要因の種類を識別する識別手段と、
信号検出手段で検出された複数の信号の少なくとも1つに基づいて所定の火災検出条件が充足された場合に火災を検出する火災検出手段と、
を備え、
火災検出条件は、識別手段による識別結果に応じて変更される、
ことを特徴とする。
【0008】
ここで、「複数の信号に基づいて検出対象の種類を・・・識別する」とは、例えば、複数の信号を比較することにより識別すること、より具体的には例えば、複数の信号の大小関係に基づいて識別すること、複数の比率に基づいて識別すること等を含む概念である。
【0009】
(検出対象の識別)
識別手段は、検出対象の種類として火災検出対象と非火災検出対象とを識別し、
火災検出条件は、
識別手段で火災検出対象が識別された場合に、火災検出手段で初期設定された火災検出条件よりも火災と検出されやすくなるように変更され、
識別手段で非火災検出対象が識別された場合に、火災検出手段で初期設定された火災検出条件よりも火災と検出されにくくなるように変更される。
【0010】
ここで、「火災検出対象」とは、監視領域中の火災として検出すべき粒子等であり、例えば火災に伴い発生する煙であり、その種類には例えば白煙(白色煙)と黒煙(黒色煙)がある。白煙は、例えば木材や布等が燻る(燻焼する)ことで発生する白っぽい煙であり、また黒煙は、例えば対象物に着火して燃えることで発生する黒っぽい煙である。主として白煙を伴う火災(白煙火災)モデルの燃焼材としては木材や綿灯芯などが知られており、主として黒煙を伴う火災(黒煙火災)モデルの燃焼材としてはケロシンなどが知られている。また、「非火災検出対象」とは、火災として検出すべきでない粒子等であって、例えば、火災以外の要因(非火災要因)により発生する油煙、湯気、蒸気、塵埃、煙草の煙などが含まれる。非火災検出対象となる油煙や湯気、蒸気の発生要因には調理、湯沸かし、バスルーム使用などが含まれ、塵埃の発生要因には掃除や砂塵などが含まれ、煙草の発生要因は喫煙となる。
(【0011】以降は省略されています)
この特許をJ-PlatPat(特許庁公式サイト)で参照する
関連特許
ホーチキ株式会社
消火栓装置
1か月前
ホーチキ株式会社
消火栓装置
2日前
ホーチキ株式会社
消火栓装置
3か月前
ホーチキ株式会社
消火栓装置
24日前
ホーチキ株式会社
火災検出システム
1か月前
ホーチキ株式会社
避難誘導システム
今日
ホーチキ株式会社
消火栓装置の設置構造
4か月前
ホーチキ株式会社
防災システム及び操作装置
3か月前
国立大学法人 筑波大学
火災検出システム
1か月前
国立大学法人 筑波大学
火災検出システム
1か月前
国立大学法人 筑波大学
火災検出システム
1か月前
国立大学法人 筑波大学
火災検出システム
1か月前
ホーチキ株式会社
カードリーダー及びカードリーダーの組立方法
1か月前
ホーチキ株式会社
防災設備
1か月前
ホーチキ株式会社
消火栓装置
1か月前
ホーチキ株式会社
炎検出装置
2か月前
ホーチキ株式会社
防災システム
1か月前
ホーチキ株式会社
火災報知方法
1か月前
ホーチキ株式会社
消火器収納装置
1か月前
ホーチキ株式会社
火災監視システム
29日前
ホーチキ株式会社
施設管理システム
2か月前
ホーチキ株式会社
消臭装置及び消臭方法
1か月前
ホーチキ株式会社
消火栓装置及び消火器箱
2か月前
ホーチキ株式会社
火災検知器及び防災システム
2か月前
ホーチキ株式会社
火災検知器の信頼性判断方法
10日前
ホーチキ株式会社
非常用設備及び消火器収納装置
3か月前
ホーチキ株式会社
火災検出装置、防災設備及び火災検出方法
1か月前
ホーチキ株式会社
処置情報提供システム及びその処置情報提供方法
2日前
日本精機株式会社
警報システム
2か月前
個人
安全支援装置
23日前
個人
自動電動車椅子
2か月前
株式会社SUBARU
車両
1か月前
スズキ株式会社
運転支援装置
2か月前
エムケー精工株式会社
車両誘導装置
3か月前
ニッタン株式会社
検知器
1か月前
ニッタン株式会社
検知器
2か月前
続きを見る
他の特許を見る